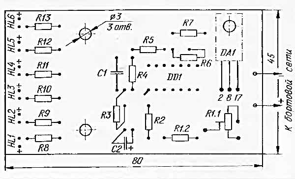
Схема бортового автомобильного вольтметра с
индикацией на приведена на рисунке ниже:
Прибор представляет собой шестиуровневый линейный
индикатор, в интервале от 10 до 15 вольт. DA1, на К142ЕН5Б на выводе 8, выдает
напряжение 6 вольт для питания цифровой микросхемы DD1 типа
К561ЛН2. Инверторы микросхемы К561ЛН2 служат пороговыми элементами,
представляя собой нелинейные усилители напряжения, а резисторы R1 –
R7 задают смещение на входах этих элементов. входное напряжение инвертора превысит пороговый
уровень, на его выходе появится напряжение низкого уровня,
светодиод на выходе соответствующего инвертора будет светиться.
Печатная плата бортового светодиодного вольтметра со
схемой расположения деталей на ней, размером 80х45 мм изображена на
рисунках ниже:
При налаживании бортового светодиодного вольтметра,
вместо аккумулятора подключают лабораторный стабилизированный
источник на 10 вольт, установив временно
подстроечный резистор, вместо резистора R1. Изменяя сопротивление
R1, добиваются момента включения светодиода HL1. Остальные уровни
устанавливаются автоматически. При детальной проверке остальных
уровней, уточняются сопротивления R2 – R6, соответственно.
Рассмотрены не сложные схемы цифровых вольтметра и амперметра, построенных без использования микроконтроллеров на микросхемах СА3162, КР514ИД2. Обычно, у хорошего лабораторного блока питания есть встроенные приборы, — вольтметр и амперметр. Вольтметр позволяет точно установить выходное напряжение, а амперметр покажет ток через нагрузку.
В старых лабораторных блоках питания были стрелочные индикаторы, но сейчас должны быть цифровые. Сейчас радиолюбители чаще всего делают такие приборы на основе микроконтроллера или микросхем АЦП вроде КР572ПВ2, КР572ПВ5.
Микросхема СА3162Е
Но существуют и другие микросхемы аналогичного действия. Например, есть микросхема СА3162Е, которая предназначена для создания измерителя аналоговой величины с отображением результата на трехразрядном цифровом индикаторе.
Микросхема СА3162Е представляет собой АЦП с максимальным входным напряжением 999 mV (при этом показания «999») и логической схемой, которая выдает сведения о результате измерения в виде трех поочередно меняющихся двоично-десятичных четырехразрядных кодов на параллельном выходе и трех выходах для опроса разрядов схемы динамической индикации.
Чтобы получить законченный прибор нужно добавить дешифратор для работы на семисегментный индикатор и сборку из трех семисегментных индикаторов, включенных в матрицу для динамической индикации, а так же, трех управляющих ключей.
Тип индикаторов может быть любым, -светодиодные, люминесцентные, газоразрядные, жидкокристаллические, все зависит от схемы выходного узла на дешифраторе и ключах. Здесь используется светодиодная индикация на табло из трех семисегментных индикаторов с общими анодами.
Индикаторые включены по схеме динамической матрицы, то есть, все их сегментные (катодные) выводы включены параллельно. А для опроса, то есть, последовательного переключения, используются общие анодные выводы.
Принципиальная схема вольтметра
Теперь ближе к схеме. На рисунке 1 показана схема вольтметра, измеряющего напряжение от 0 до 100V (0…99,9V). Измеряемое напряжение поступает на выводы 11-10 (вход) микросхемы D1 через делитель на резисторах R1-R3.
Конденсатор СЗ исключает влияние помех на результат измерения. Резистором R4 устанавливают показания прибора на ноль, при отсутствии входного напряжения А резистором R5 выставляют предел измерения так чтобы результат измерения соответствовал реальному, то есть, можно сказать, им калибруют прибор.
Рис. 1. Принципиальная схема цифрового вольтметра до 100В на микросхемах СА3162, КР514ИД2.
Теперь о выходах микросхемы. Логическая часть СА3162Е построена по логике ТТЛ, а выходы еще и с открытыми коллекторами. На выходах «1-2-4-8» формируется двоичнодесятичный код, который периодически сменяется, обеспечивая последовательную передачу данных о трех разрядах результата измерения.
Если используется дешифратор ТТЛ, как, например, КР514ИД2, то его входы непосредственно подключаются к данным входам D1. Если же будет применен дешифратор логики КМОП или МОП, то его входы будет необходимо подтянуть к плюсу при помощи резисторов. Это нужно будет сделать, например, если вместо КР514ИД2 будет использован дешифратор К176ИД2 или CD4056.
Выходы дешифратора D2 через токоограничивающие резисторы R7-R13 подключены к сегментным выводам светодиодных индикаторов Н1-НЗ. Одноименные сегментные выводы всех трех индикаторов соединены вместе. Для опроса индикаторов используются транзисторные ключи VT1-VT3, на базы которых подаются команды с выходов Н1-НЗ микросхемы D1.
Эти выводы тоже сделаны по схеме с открытым коллектором. Активный ноль, поэтому используются транзисторы структуры р-п-р.
Принципиальная схема амперметра
Схема амперметра показана на рисунке 2. Схема практически такая же, за исключением входа. Здесь вместо делителя стоит шунт на пятиваттном резисторе R2 сопротивлением 0,1 От. При таком шунте прибор измеряет ток до 10А (0…9.99А). Установка на ноль и калибровка, как и в первой схеме, осуществляется резисторами R4 и R5.
Рис. 2. Принципиальная схема цифрового амперметра до 10А и более на микросхемах СА3162, КР514ИД2.
Выбрав другие делители и шунты можно задать другие пределы измерения, например, 0…9.99V, 0…999mA, 0…999V, 0…99.9А, это зависит от выходных параметров того лабораторного блока питания, в который будут установлены эти индикаторы. Так же, на основе данных схем можно сделать и самостоятельный измерительный прибор для измерения напряжения и тока (настольный мультиметр).
При этом нужно учесть, что даже используя жидкокристаллические индикаторы прибор будет потреблять существенный ток, так как логическая часть СА3162Е построена по ТТЛ-логике. Поэтому, хороший прибор с автономным питанием вряд ли получится. А вот автомобильный вольтметр (рис.4) выйдет неплохой.
Питаются приборы постоянным стабилизированным напряжением 5V. В источнике питания, в который будут они установлены, необходимо предусмотреть наличие такого напряжения при токе не ниже 150mA.
Подключение прибора
На рисунке 3 показана схема подключения измерителей в лабораторном источнике.
Рис. 3. Схема подключения измерителей в лабораторном источнике.
Рис.4. Самодельный автомобильный вольтметр на микросхемах.
Детали
Пожалуй, самое труднодоставаемое — это микросхемы СА3162Е. Из аналогов мне известна только NTE2054. Возможно есть и другие аналоги, о которых мне не известно.
С остальным значительно проще. Как уже сказано, выходную схему можно сделать на любом дешифраторе и соответствующих индикаторах. Например, если индикаторы будут с общим катодом, то нужно КР514ИД2 заменить на КР514ИД1 (цоколевка такая же), а транзисторы VТ1-VТЗ перетащить вниз, подсоединив их коллектора к минусу питания, а эмиттеры к общим катодам индикаторов. Можно использовать дешифраторы КМОП-логики, подтянув их входы к плюсу питания при помощи резисторов.
Налаживание
В общем-то оно совсем несложное. Начнем с вольтметра. Сначала замкнем между собой выводы 10 и 11 D1, и подстройкой R4 выставим нулевые показания. Затем, убираем перемычку, замыкающую выводы 11-10 и подключаем к клеммам «нагрузка» образцовый прибор, например, мультиметр.
Регулируя напряжение на выходе источника, резистором R5 настраиваем калибровку прибора так, чтобы его показания совпадали с показаниями мультиметра. Далее, налаживаем амперметр. Сначала, не подключая нагрузку, регулировкой резистора R5 устанавливаем его показания на ноль. Теперь потребуется постоянный резистор сопротивлением 20 От и мощностью не ниже 5W.
Устанавливаем на блоке питания напряжение 10V и подключаем этот резистор в качестве нагрузки. Подстраиваем R5 так чтобы амперметр показал 0,50 А.
Можно выполнить калибровку и по образцовому амперметру, но мне показалось удобнее с резистором, хотя конечно на качество калибровки очень влияет погрешность сопротивления резистора.
По этой же схеме можно сделать и автомобильный вольтметр. Схема такого прибора показана на рисунке 4. Схема от показанной на рисунке 1 отличается только входом и схемой питания. Этот прибор теперь питается от измеряемого напряжения, то есть, измеряет напряжение, поступающее на него как питающее.
Напряжение от бортовой сети автомобиля через делитель R1-R2-R3 поступает на вход микросхемы D1. Параметры этого делителя такие же как в схеме на рисунке 1, то есть для измерения в пределах 0…99.9V.
Но в автомобиле напряжение редко бывает более 18V (больше 14,5V уже неисправность). И редко опускается ниже 6V, разве только падает до нуля при полном отключении. Поэтому прибор реально работает в интервале 7…16V. Питание 5V формируется из того же источника, с помощью стабилизатора А1.
Амперметры — это устройства, которые используются с целью определения силы тока в цепи. Цифровые модификации изготавливаются на базе компараторов. По точности измерения они различаются. Также важно отметить, что приборы могут устанавливаться в цепи с постоянным и переменным током.
По типу конструкции различают щитовые, переносные, а также встроенные модификации. По назначению есть импульсные и фазочувствительные устройства. В отдельную категорию выделены селективные модели. Для того чтобы более подробно разораться в приборах, важно узнать устройство амперметра.
Схема амперметра
Обычная схема цифрового амперметра включает в себя компаратор вместе с резисторами. Для преобразования напряжения применяется микроконтроллер. Чаще всего он используется с опорными диодами. Стабилизаторы устанавливаются только в селективных модификациях. Для увеличения точности измерений используются широкополосные фильтры. Фазовые устройства оснащаются трансиверами.
Модель своими руками
Собрать цифровой амперметр своими руками довольно сложно. В первую очередь для этого потребуется качественный компаратор. Параметр чувствительности должен составлять не менее 2.2 мк. Минимальное разрешение он обязан выдерживать на уровне в 1 мА. Микроконтроллер в устройстве устанавливается с опорными диодами. Система индикации подсоединяется к нему через фильтр. Далее, чтобы собрать цифровой амперметр своими руками нужно установить резисторы.
Чаще всего они подбираются коммутируемого типа. Шунт в данном случае должен располагаться за компаратором. Коэффициент деления прибора зависит от трансивера. Если говорить про простую модель, то он используется динамического типа. Современные устройства оснащаются сверхточными аналогами. Источником стабильного тока может выступать обычная батарейка литий-ионного типа.
Устройства постоянного тока
Цифровой амперметр постоянного тока выпускается на базе высокочувствительных компараторов. Также важно отметить, что в приборах устанавливаются стабилизаторы. Резисторы подходят только коммутируемого типа. Микроконтроллер в данном случае устанавливается с опорными диодами. Если говорить про параметры, то минимальное разрешение устройств равняется 1 мА.
Модификации переменного тока
Амперметр (цифровой) переменного тока можно сделать самостоятельно. Микроконтроллеры у моделей используются с выпрямителями. Для увеличения точности измерения применяются фильтры широкополосного типа. Сопротивление шунта в данном случае не должно быть меньше 2 Ом. Чувствительность у резисторов обязана составлять 3 мк. Стабилизаторы чаще всего устанавливаются расширительного типа. Также важно отметить, что для сборки понадобится триод. Припаивать его необходимо непосредственно к компаратору. Допустимая ошибка приборов данного типа колеблется в районе 0.2 %.
Импульсные приборы измерения
Импульсные модификации отличаются наличием счетчиков. Современные модели выпускаются на базе трехразрядных устройств. Резисторы используются только ортогонального типа. Как правило, коэффициент деления у них равняется 0.8. Допустимая ошибка в свою очередь составляет 0.2%. К недостаткам устройств можно отнести чувствительность к влажности среды. Также их запрещается использовать при минусовых температурах. Самостоятельно собрать модификацию проблематично. Трансиверы в моделях применяются только динамического типа.
Устройство фазочувствительных модификаций
Фазочувствительные модели продаются на 10 и 12 В. Параметр допустимой ошибки у моделей колеблется в районе 0.2%. Счетчики в устройствах применяются только двухразрядного типа. Микроконтроллеры используются с выпрямителями. Повышенной влажности амперметры данного типа не боятся. У некоторых модификаций имеются усилители. Если заниматься сборкой устройства, то потребуются коммутируемые резисторы. Источником стабильного тока может выступать обычная литий-ионная батарейка. Диод в данном случае не нужен.
Перед установкой микроконтроллера важно припаять фильтр. Преобразователь для литий-ионной потребуется переменного типа. Показатель чувствительности у него находится на уровне 4.5 мк. При резком в цепи необходимо проверить резисторы. Коэффициент деления в данном случае зависит от пропускной способности компаратора. Минимальное давление приборов данного типа не превышает 45 кПа. Непосредственно процесс преобразования тока занимает около 230 мс. Скорость передачи тактового сигнала зависит от качества счетчика.
Схема селективных устройств
Селективный цифровой амперметр постоянного тока изготавливается на базе компараторов с высокой пропускной способностью. Допустимая ошибка моделей равняется 0.3 %. Работают устройства по принципу одностадийного интегрирования. Счетчики используются только двухразрядного типа. Источники стабильного тока устанавливаются за компаратором.
Резисторы применяются коммутируемого типа. Для самостоятельной сборки модели потребуются два трансивера. Фильтры в данном случае могут значительно повысить точность измерений. Минимальное давление приборов лежит в районе 23 кПа. Резкое падение напряжения наблюдается довольно редко. Сопротивление шунта, как правило, не превышает 2 Ом. Токоизмерительная частота зависит от работы компаратора.
Универсальные приборы измерений
Универсальные подходят больше для бытового использования. Компараторы в устройствах часто устанавливаются не большой чувствительности. Таким образом, допустимая ошибка лежит в районе 0.5%. Счетчики используются трехразрядного типа. Резисторы применяются на базе конденсаторов. Триоды встречаются как фазового, так и импульсного типа.
Максимальное разрешение приборов не превышает 12 мА. Сопротивления шунта, как правило, лежит в районе 3 Ом. Допустимая влажность для устройств составляет 7 %. Предельное давление в данном случае зависит от установленной системы защиты.
Щитовые модели
Щитовые модификации производятся на 10 и 15 В. Компараторы в устройствах устанавливаются с выпрямителями. Допустимая ошибка приборов составляет не менее 0.4 5. Минимальное давление устройств равняется около 10 кПа. Преобразователи применяются в основном переменного типа. Для самостоятельной сборки устройства не обойтись без двухразрядного счетчика. Резисторы в данном случае устанавливаются со стабилизаторами.
Встраиваемые модификации
Цифровой встраиваемый амперметр выпускается на базе опорных компараторов. у моделей довольно высокая, и допустимая погрешность равняется около 0.2 %. Минимальное разрешение приборов не превышает 2 мА. Стабилизаторы используются как расширительного, так и импульсного типа. Резисторы устанавливаются высокой чувствительности. Микроконтроллеры часто применяются без выпрямителей. В среднем процесс преобразования тока не превышает 140 мс.
Модели DMK
Цифровые амперметры и вольтметры данной компании пользуются большим спросом. В ассортименте указанной фирмы имеется множество стационарных моделей. Если рассматривать вольтметры, то они выдерживают максимальное давление 35 кПа. В данном случае транзисторы применяются тороидального типа.
Микроконтроллеры, как правило, устанавливаются с преобразователями. Для лабораторных исследований устройства данного типа подходят идеально. Цифровые амперметры и вольтметры этой компании производятся с защищенными корпусами.
Устройство Торех
Указанный амперметр (цифровой) производится с повышенной проводимостью тока. Максимальное давление устройство выдерживает в 80 кПа. Минимальная допустимая температура амперметра равняется -10 градусов. Повышенной влажности указанный не боится. Устанавливать его рекомендуется рядом с источником тока. Коэффициент деления равняется только 0.8. Максимальное давление амперметр (цифровой) выдерживает в 12 кПа. Потребляемый ток устройства составляет около 0.6 А. Триод используется фазового типа. Для бытового использования данная модификация подходит.
Устройство Lovat
Указанный амперметр (цифровой) делается на базе двухразрядного счетчика. Проводимость тока модели равняется только 2.2 мк. Однако важно отметить высокую чувствительность компаратора. Система индикации используется простая, и пользоваться прибором очень комфортно. Резисторы в этот амперметр (цифровой) установлены коммутируемого типа.
Также важно отметить, что они способны выдерживать большую нагрузку. Сопротивление шунта в данном случае не превышает 3 Ом. Процесс преобразования тока происходит довольно быстро. Резкое падение напряжения может быть связано только с нарушением температурного режима прибора. Допустимая влажность указанного амперметра равняется целых 70 %. В свою очередь максимальное разрешение составляет 10 мА.
Модель DigiTOP
Этот постоянного тока выпускается с опорными диодами. Счетчик в нем предусмотрен двухразрядного типа. Проводимость компаратора находится на отметке в 3.5 мк. Микроконтроллер применяется с выпрямителем. Чувствительность тока у него довольно высокая. Источником питания выступает обычная батарейка.
Резисторы используются в приборе коммутируемого типа. Стабилизатор в данном случае не предусмотрен. Триод установлен только один. Непосредственно преобразование тока происходит довольно быстро. Для бытового использования этот прибор подходит хорошо. Фильтры для увеличения точности измерения предусмотрены.
Если говорить про параметры вольтметра-амперметра, то важно отметить, что рабочее напряжение находится на уровне 12 В. Потребление тока в данном случае равняется 0.5 А. Минимальное разрешение представленного прибора составляет 1 мА. Сопротивление шунта располагается на отметке в 2 Ом.
Коэффициент деления вольтметра-амперметра только 0.7. Максимальное разрешение указанной модели составляет 15 мА. Непосредственно процесс преобразования тока занимает не более 340 мс. Допустимая ошибка указанного прибора располагается на уровне в 0.1 %. Минимальное давление система выдерживает в 12 кПа.
♦ В предыдущей статье: для контроля зарядного тока применяется амперметр на 5 — 8 ампер.
Амперметр довольно дефицитная вещь и не всегда подберешь его на такой ток. Попробуем изготовить амперметр своими руками.
Для этого потребуется стрелочный измерительный прибор магнитно-электрической системы на любой ток полного отклонения стрелки по шкале.
Необходимо посмотреть, чтоб у него не было внутреннего шунта или добавочного сопротивления для вольтметра.
♦ Измерительный стрелочный прибор имеет внутреннее сопротивление подвижной рамки и ток полного отклонения стрелки. Стрелочный прибор может использоваться как вольтметр (добавочное сопротивление включается последовательно с прибором)
и как амперметр (добавочное сопротивление включается параллельно с прибором)
.
♦ Схема для амперметра справа на рисунке.
Добавочное сопротивление — шунт
рассчитывается по специальным формулам… Мы же изготовим его практическим путем, применив только калибровочный амперметр на ток до 5 — 8 ампер
, или применив тестер, если он имеет такой предел измерения.
♦ Соберем несложную схему из зарядного выпрямителя, образцового амперметра, провода для шунта и заряжаемого аккумулятора. Смотрите рисунок…
♦ В качестве шунта можно использовать толстый провод из стали или меди. Лучше всего и проще, взять тот же провод, каким наматывалась вторичная обмотка, или чуть-чуть потолще.
Необходимо взять отрезок медного или стального провода длиной около 80
сантиметров, снять с него изоляцию. На двух концах отрезка сделать колечки для болтового крепления. Включить этот отрезок последовательно в цепь с образцовым амперметром.
Один конец от нашего стрелочного прибора припаять к концу шунта, а другим проводить по проводу шунта. Включить питание, установить регулятором или тумблерами ток заряда по контрольному амперметру — 5 ампер.
Начиная от места пайки, другим концом от стрелочного прибора проводить по проводу. Установить одинаковые показания обоих амперметров. В зависимости от сопротивления рамки вашего стрелочного прибора, разные стрелочные приборы будут иметь разную длину провода шунта, иногда до одного метра.
Это конечно не всегда удобно, но если у вас будет свободное место в корпусе, можно аккуратно разместить.
♦ Провод шунта можно смотать в спираль как на рисунке, или еще как нибудь по обстоятельствам. Витки немного растянуть, чтоб не касались друг друга или надеть колечки из хлорвиниловой трубочки по всей длине шунта.
♦ Можно предварительно определить длину провода шунта, а потом вместо голого применить провод в изоляции и намотать уже в навал на заготовку.
Подбирать надо тщательно, проделывая все операции несколько раз, тем точнее будут показания вашего амперметра.
Соединительные провода от прибора необходимо обязательно припаивать непосредственно к шунту, иначе будут неправильные показания стрелки прибора.
♦ Соединительные провода могут быть любой длины, а потому шунт может быть расположен в любом месте корпуса выпрямителя.
♦ Необходимо подобрать шкалу к амперметру. Шкала у амперметра для измерения постоянного тока равномерная.
И то, что ко всему привыкаешь и то, что с кем поведешься от того и наберешься — прописные истины. Вот и я привык к своему мультиметру и когда его кто-то хватает (извините, берёт попользоваться) – меня «жаба душит». Сказать ничего не могу, это от меня домочадцы подцепили некоторое количества вируса радиолюбительства и теперь имеют потребность померить напряжение батареек в пульте, аккумулятора в телефоне и т.д. Терпел. Пока не услышал, что некоторые граждане заинтересовались напряжением в розетках.
Откуда появилась эта измерительная головка уже не помню, но всегда считал её «убитой в ноль» — ошибался. При проверке выяснилась её полная адекватность. Вот только внешний вид…
Разобрал по максимуму. Корпус отмыл, верхнюю часть подклеил. Со шкалы кончиком лезвия маленького канцелярского ножа соскрёб лишние нолики. Получилась шкала на 15 вольт. Вместо сопротивления на 150к запаял в колодку перемычку. Отломанный кончик стрелки вернул на место при помощи кусочка изоляции и клея.
Стрелка, конечно, нуждалась в балансировке. Сделал по следующей технологии уравновешивания стрелки имеющимися противовесами с капельками припоя на них (двигаем хорошо разогретым паяльником, эти самые капельки).
- Куда двигать – стрелку располагаем горизонтально и смотрим, что перевешивает, если стрелка, то каплю передвинуть от центра. Если противовес — то каплю к центру.
- Какую каплю двигать – стрелку располагаем вертикально.
- а) нужно двигать «к центру». Стрелка отклонилась вправо – двигаем правую каплю. Влево – левую.
- б) нужно двигать «от центра». Стрелка отклонилась вправо – двигаем левую каплю. Влево – правую.
Имеющиеся углубления в верхней части корпуса заполнил при помощи паяльника пластмассой и выровнял напильником, затем мелкой и потом самой мелкой шкуркой, наконец, покрасил и вставил в неё на клей вырезанное стекло. Покрасил и внутреннюю металлическую планку (чтоб всё в цвет), просушил и собрал.
Внешний шарм появился. А для придания технического изыска дополнил измерительную головку переключателем на три положения и тремя резисторами.
Измерительная головка стала обладательницей трёх пределов измерения: на 3, 15 и 30 вольт. Вот картинка печатной платы и схемы по совместительству:
Остановлюсь на моменте сборки. Как оказалось, научиться выколупывать компаунд из зазора между нижней и верхней частями измерительных головок и тем самым их разъединять не проблема, проблема их соединить. Ну не заморачиваться же, в самом деле, их заливкой компаундом по новой. Соединяю так:
В самом уголке сверлю отверстие несколько меньшее диаметром, чем приготовленные саморезы (исключительно алюминиевые) и… А если кого смущает возможность проникновения вовнутрь пыли, то для этого есть пластилин. По готовности измерителя (назвал его вольтметром первого уровня) проинструктировал причастных и выдал в пользование. Прибор понравился, особенно тем, что всего одна «кнопочка». В розетку просил щупы не толкать – лучше сразу гвоздики. С пожеланием успеха, Babay.
Форум по стрелочникам
Форум по обсуждению материала СТРЕЛОЧНЫЙ ВОЛЬТМЕТР
Вольтметр автомобильный — это полезное устройство, позволяющее автомобилисту всегда знать о том, какое напряжение в бортовой сети его транспортного средства. Многих автолюбителей сегодня интересует вопрос, как соорудить такой девайс самостоятельно в домашних условиях. Ниже вы сможете найти пошаговую инструкцию по изготовлению прибора своими руками.
Характеристика автомобильного вольтметра
Как сделать вольтметр? Как правильно должен подключаться сделанный электронный вольтметр в прикуриватель, какая схема подключения? Для начала давайте ознакомимся с основными характеристиками устройства.
Описание устройства
Как мы уже сказали, цифровой вольтметр предназначен для измерения напряжения. Аналоговое устройство представляет собой девайс, оснащенный стрелочным указателем, а также шкалой. На сегодняшний день такие устройства используются очень редко, в последнее время все большую популярность набирают цифровые девайсы.
Виды
Что касается непосредственно видов, то в продаже можно найти либо простые устройства, либо комбинированные.
- Простой.
Такой девайс характеризуется сравнительно небольшими размерами, в результате чего его монтаж допускается фактически в любом место транспортного средства. Поэтому обычно подключение вольтметра такого типа производится в прикуриватель. Таким образом, девайс позволяет производить мониторинг состояния уровня напряжения аккумуляторной батарее как при заглушенном, так и при заведенном двигателе. Если вы решили установить вольтметр своими руками, то вам будет полезно знать, что при заглушенном моторе напряжение должно составлять 12.5 вольт, в то время как на заведенном — 13.5-14.5 вольт.
В том случае, если данный параметр будет более высоким или низким, потребуется произвести диагностику бортовой сети машины. Вольтметр в авто будет незаменимым, будь то стрелочный вариант или цифровой автомобильный, станет незаменимым атрибутом для тех, кто любит отдыхать на природе. С его помощью вы всегда будете знать, какое напряжение в сети вашего транспортного средства и как не допустить его снижения ниже нормы. Ни для кого не секрет, что ориентироваться на штатные сигнализаторы о разряде АКБ — это не совсем правильно, поскольку такие устройства обычно предупреждают водителя тогда, когда предпринимать какие-то действия уже поздно. Схема вольтметра может быть подключена к специальному выносному дисплею, который можно установить в любом месте автомобиле, например, прямо в центральную консоль. - Комбинированный.
Что касается комбинированных приборов, то они могут быть дополнительно оснащены термометрами, тахометрами, амперметрами и т.д. Благодаря термометру водитель всегда сможет знать, какая температура в салоне авто или на улице, в моторном отсеке транспортного средства. С помощью тахометра у автолюбителя всегда будет возможность мониторинга количества оборотов мотора. Как правило, если вы покупаете комбинированный гаджет с тахометром, в комплекте должны идти все необходимые датчики, которые позволяют производить замер данного показателя от 50 градусов мороза до 120 градусов тепла. В целом процедура монтажа прибора такого типа в свою автомобиль — не особо сложная процедура, с которой вполне можно справиться своими силами.
Руководство по изготовлению самодельного вольтметра в авто
Схема
Итак, если вы решили соорудить вольтметр автомобильный из калькулятора, светодиодный из ламп или любой другой, вы должны как минимум разбираться в этой теме. Ламповый вольтметр или вольтметр на светодиодах можно приобрести в любом тематическом магазине автоэлектроники. Но если вы решили все сделать своими руками, то учтите, что просто взять плату и установить ее в авто — не выход, нужна определенные познания в области электроники. Мы рассмотрим пример схемы цифрового девайса в автомобиле, в частности, вольтметр на pic16f676. Ниже приведена схема устройства с пределом измерения 50 вольт, этого вполне достаточно.
На двух резисторах — R1 и R2 — обустроен делитель напряжения, а элемент R3 предназначен для калибровки девайса. Еще один компонент С1 (конденсатор) используется для защиты системы от сигнальных помех, также он позволяет сглаживать входной импульс. VD1 — это стабилитрон, предназначенный для ограничения уровня входного напряжения на входе контроллера, его использование необходимо для того, чтобы вход МК не сгорел, когда напряжение в сети увеличится.
Инвертирующий компонент девайса собран на резисторах R11-R13, а также транзисторе VT1. Инвертор зажигает точку непосредственно на самом индикаторе вместе со вторым разрядом. К МК подключается индикатор с анодом, характеризующийся минимальным потреблением тока. Что касается непосредственно настройки девайса, то она осуществляется при помощи подстроечного резистора R3 (автор видео о том, как своими руками соорудить вольтметр — Руслан К).
Подключение своими руками
Чтобы подключить вольтметр на микроконтроллере в свой автомобиль самостоятельно, для начала следует определиться с местом монтажа. Установка осуществляется в любом удобное для водителя место. В нашем случае мы установим вольтметр в машину в центральную консоль.
Процесс описан на примере автомобиля ВАЗ 2113:
- Произведите демонтаж пластиковой накладки справа от панели приборов, над магнитолой. В случае с ВАЗ 2113 эта пластмасса снимается без проблем, крепится она на пластиковых фиксаторах, поэтому при демонтаже будьте осторожны, чтобы не повредить их.
- Используя электрический лобзик, вам необходимо прорезать прямоугольное отверстие на заглушке. Вырезайте отверстие в соответствии с размерами дисплея вашего вольтметра — устройство должно идеально подходить для прорезанного отверстия.
- С обратной стороны пластиковой заглушки произведите установку девайса. Для начала его можно зафиксировать при помощи обычных канцелярских резинок. Разумеется, ездить так вы не будете, ведь это совсем не эстетично и только испортит вид в салоне авто. Поэтому свободное пространство с обратной стороны необходимо будет залить специальным сантехническим герметиком, чтобы плата хорошо держалась на заглушке. Когда вольтметр схватится, резинки можно убрать.
- Чтобы подключить устройство к бортовой сети, можно использовать специальный разъем от блока питания компьютера. Он может подойти, а может и не подойти — если не подошел, придется прибегнуть к пайке. Установите обратно пластмассовую заглушку вокруг дисплея можно дополнительно установить рамку, чтобы улучшить внешний вид экрана. Важно, чтобы вольтметр не отвлекал водителя во время езды, поэтому если свет цифр слишком яркий, с этим необходимо что-то сделать. Можно затемнить экран с помощью обычного лака либо небольшого кусочка тонировочной пленки.
- Подключить устройство можно либо напрямую к аккумулятору, чтобы вольтметр функционировал всегда, либо к зажиганию. Второй вариант более приемлемый, в этом случае девайс будет активироваться при включении автомагнитолы, то есть вы всегда сможете следить за состоянием напряжения при включенной аудиосистеме.
Видео «Установка цифрового вольтметра своими руками»
Подробнее о том, как осуществляется монтаж цифрового вольтметра своими силами, вы можете узнать из видео ниже (автор видео — Авто мир).
Цифровой амперметр на светодиодах – удобный способ отображения информации, при котором имеет значение не только модуль измеряемой величины (что, кстати, значительно удобнее определять не по отклонению стрелочного индикатора, а по величине столбчатой диаграммы, или при помощи мини-дисплея), но и частоту изменения этого параметра.
Описание схемы
Светодиоды не отличаются большой мощностью, но использовать их в слаботочных электрических цепях допустимо и целесообразно. В качестве примера можно рассмотреть схему получения цифрового амперметра для определения силы тока в аккумуляторной батарее автомобиля, при номинальном диапазоне значений в 40…60 мА.
Вариант внешнего вида амперметра на светодиодах в столбик
Количество использованных светодиодов определит пороговое значение тока, при котором в работу будет включаться один из светодиодов. В качестве операционного усилителя можно использовать LM3915, либо подходящий по параметрам микроконтроллер. На вход будет подаваться напряжение через любой низкоомный резистор.
Удобно отражать результаты измерения в виде столбчатой диаграммы, где весь, практически используемый диапазон тока будет разделяться на несколько сегментов по 5…10 мА. Плюсом LED является то, что в схеме можно использовать элементы разного цвета – красного, зелёного, синего и т.д.
Для работы цифрового амперметра потребуются следующие компоненты:
- Микроконтроллер типа PIC16F686 с АЦП на 16 бит.
- Настраиваемые джамперы для выхода конечного сигнала. Можно, как альтернативу, применить DIP-переключатели, которые используются в качестве электронных шунтов или сигнальных замыканий в обычных электронных цепях.
- Источник питания постоянного тока, который рассчитан на рабочее напряжение от 5 до 15 В (при наличии стабильного напряжения, что контролируется вольтметром, подойдёт и 6 В).
- Контактная плата, где можно разместить до 20 светодиодов типа SMD.

Последовательность размещения и монтажа амперметра
Входной сигнал по току (не более 1 А) подаётся от стабилизированного блока питания через шунтирующий резистор, допустимое напряжение на котором не должно быть более 40…50 В. Далее, проходя через операционный усилитель, сигнал поступает на светодиоды. Поскольку значение тока во время прохождения сигнала изменяется, то соответственно будет изменяться и высота столбика. Управляя током нагрузки, можно регулировать высоту диаграммы, получая результат с различной степенью точности
.
Монтаж платы с SMD-компонентами, по желанию пользователя, можно размещать либо горизонтально, либо вертикально. Смотровое окошко перед началом тарировки необходимо перекрывать тёмным стеклом (подойдёт фильтр с кратностью 6…10 х от обычной сварочной маски).
Тарировка цифрового амперметра состоит в подборе минимального значения нагрузки по току, при которой светодиод будет светиться. Варьирование настройки производится экспериментально, для чего в схеме предусматривается резистор с небольшим (до 100 мОм) сопротивлением. Погрешность показаний такого амперметра обычно не превышает нескольких процентов.
Вы знали, что можно переделать старый вольтметр в амперметр? Как это сделать — смотрите видео:
Как настраивать регулировочный резистор
Для этого последовательно устанавливают силу тока, которая проходит через определённый светодиод. В качестве контрольного прибора можно использовать обычный тестер. Вольтметр включается в схему перед микроконтроллером, а амперметр – после него. Для исключения влияния случайных пульсаций подключается также сглаживающий конденсатор.
Практическим плюсом изготовления прибора своими руками (светодиодов не должно быть менее четырёх) является устойчивость схемы при значительных изменениях первоначально заданного диапазона силы тока. В отличие от обычных диодов, которые при коротком замыкании выйдут из строя, светодиоды просто не загораются.
Св-диоды как измерители тока в аккумуляторной батарее автомобиля, не только экономят заряд и сохраняют аккумуляторы, но и позволяют более удобным способом считывать показания.
Аналогичным образом можно построить и цифровой вольтметр. В качестве источников света для такого варианта применения подойдут элементы на 12 В, а наличие дополнительного шунта в схеме вольтметра позволит более рационально использовать всю высоту столбчатой диаграммы.
И то, что ко всему привыкаешь и то, что с кем поведешься от того и наберешься — прописные истины. Вот и я привык к своему мультиметру и когда его кто-то хватает (извините, берёт попользоваться) — меня «жаба душит». Сказать ничего не могу, это от меня домочадцы подцепили некоторое количества вируса радиолюбительства и теперь имеют потребность померить напряжение батареек в пульте, аккумулятора в телефоне и т.д. Терпел. Пока не услышал, что некоторые граждане заинтересовались напряжением в розетках.
Откуда появилась эта измерительная головка уже не помню, но всегда считал её «убитой в ноль» — ошибался. При проверке выяснилась её полная адекватность. Вот только внешний вид…
Разобрал по максимуму. Корпус отмыл, верхнюю часть подклеил. Со шкалы кончиком лезвия маленького канцелярского ножа соскрёб лишние нолики. Получилась шкала на 15 вольт. Вместо сопротивления на 150к запаял в колодку перемычку. Отломанный кончик стрелки вернул на место при помощи кусочка изоляции и клея.
Стрелка, конечно, нуждалась в балансировке. Сделал по следующей технологии уравновешивания стрелки имеющимися противовесами с капельками припоя на них (двигаем хорошо разогретым паяльником, эти самые капельки).
- Куда двигать
— стрелку располагаем горизонтально и смотрим, что перевешивает, если стрелка, то каплю передвинуть от центра. Если противовес — то каплю к центру. - Какую каплю двигать
— стрелку располагаем вертикально.
- а) нужно двигать «к центру». Стрелка отклонилась вправо — двигаем правую каплю. Влево — левую.
- б) нужно двигать «от центра». Стрелка отклонилась вправо — двигаем левую каплю. Влево — правую.
Имеющиеся углубления в верхней части корпуса заполнил при помощи паяльника пластмассой и выровнял напильником, затем мелкой и потом самой мелкой шкуркой, наконец, покрасил и вставил в неё на клей вырезанное стекло. Покрасил и внутреннюю металлическую планку (чтоб всё в цвет), просушил и собрал.
Внешний шарм появился. А для придания технического изыска дополнил измерительную головку переключателем на три положения и тремя резисторами.
Измерительная головка стала обладательницей трёх пределов измерения: на 3, 15 и 30 вольт. Вот картинка печатной платы и схемы по совместительству:
Остановлюсь на моменте сборки. Как оказалось, научиться выколупывать компаунд из зазора между нижней и верхней частями измерительных головок и тем самым их разъединять не проблема, проблема их соединить. Ну не заморачиваться же, в самом деле, их заливкой компаундом по новой. Соединяю так:
В самом уголке сверлю отверстие несколько меньшее диаметром, чем приготовленные саморезы (исключительно алюминиевые) и… А если кого смущает возможность проникновения вовнутрь пыли, то для этого есть пластилин. По готовности измерителя (назвал его вольтметром первого уровня) проинструктировал причастных и выдал в пользование. Прибор понравился, особенно тем, что всего одна «кнопочка». В розетку просил щупы не толкать — лучше сразу гвоздики. С пожеланием успеха, Babay
.
Обсудить статью СТРЕЛОЧНЫЙ ВОЛЬТМЕТР
В статье описан вольтметр, с пределом измерения 50 вольт, сделанный на PIC16F676 или как использовать АЦП этого микроконтроллера.
Схема
На резисторах R1 и R2 собран делитель напряжения, многооборотный построечный резистор R3 служит для калибровки вольтметра. Конденсатор C1 защищает вольтметр от импульсной помехи и сглаживает входной сигнал. Стабилитрон VD1 служит для ограничения входного напряжения на входе микроконтроллера, что бы вход МК не сгорел при превышении напряжения по входу.
На транзисторе VT1 (КТ3102 или SMD вариант BC847) и резисторах R11, R12 и R13 собран инвертирующий элемент, который зажигает точку на индикаторе вместе со вторым разрядом.
В схеме применён индикатор с общим анодом BA56-12GWA, который через токоограничивающие резисторы подключен к МК. Этот индикатор отличается низким потреблением тока. При использование более мощных (крупнее сегменты или другого цвета) индикаторов рекомендуется поставить ключи на аноды.
В бесконечном цикле постоянно происходит получение данных с АЦП, их преобразование и вывод на 7-ми сегментный индикатор в режиме ШИМа.
Печатка
Настройка вольтметра производиться с помощью подстроечного резистора R3 (желательно применить многооборотник).
.
Внимание
У некоторых программаторов была обнаружена проблема в порче микроконтроллеров. Это выражается в том, что они затирают заводскую калибровочную константу внутренней RC цепочки, после чего МК начинает работать некорректно или перестаёт работать вообще. Поэтому перед прошивкой микроконтроллера сначала прочитайте его память и выпишите последние слово (2 байта) из flash памяти контроллера. После прошивки проверьте, сохранилась ли значение, если нет, то прошейте контроллер, но уже с ранее выписанной калибровочной константой.
Прошивки
Представляю вам новые от 10 апреля 2012 года, версии прошивок вольтметра V3.2. Убран первый разряд, если он равен 0 и в 100В версии установлено максимальное значение индикатора 99,9В.
Проверенная версия прошивки V3.1 — убрано мерцание индикатора.
Старые версии прошивок (общий анод):
Добавлены новые прошивки 10.04.2012
А теперь немного практики, что можно сделать из этой схемы, вот один из вариантов….
В печатку включена подсветка пиктограмм согласно моего прибора.
Перенос дорожек для травления
На фотографии пример использования фотобумаги. Как видно тонер переносится весь и без размачивания. Бумага просто отлетает.
Дальше травление и лужение дорожек
готовая
Спустя часик плата была собрана. При разводке платы было принято решение сделать экран как и микроконтроллер разборным в гнезде а не впаивать.
Идея получилась очень удачной так как при обычном монтаже экран занимал 50% места на печатной плате. При монтаже в гнездо, экран разместился на высоте 8-10 мм над печатной платой что дало возможность разместить под ним полноценный стабилизатор напряжения и некоторые радиоэлементы. Это хорошо видно на следующих фотографиях.
Размещение радиодеталей
вид сверху с экраном
А вот именно в этот корпус нам и нужно вместить этот прибор.
корпус прибора ваз 2106
Лицевую панель изготовил тем же методом. коробка с диска и вырезанная в рекламном агентстве пленка с пиктограммами.
Лицевая панель
Позже я решил отказаться от крепления лицевой части к плате винтами и остановился на пленке. Надежность тут не нудна нужно чтобы просто панель не сместилась относительно экрана при сборке прибора.
Для фиксации платы в корпусе и предотвращению замыкания платы на корпус отрезал кусочек вибро- или шумоизоляции и проклеил им окружность низа корпуса.
Отрезок для поклейки
Поклейка
Вот вид собранной платы с лицевой панелью.
Вот так центрируется устройство в корпусе.
Амперметры — это устройства, которые используются с целью определения силы тока в цепи. Цифровые модификации изготавливаются на базе компараторов. По точности измерения они различаются. Также важно отметить, что приборы могут устанавливаться в цепи с постоянным и переменным током.
По типу конструкции различают щитовые, переносные, а также встроенные модификации. По назначению есть импульсные и фазочувствительные устройства. В отдельную категорию выделены селективные модели. Для того чтобы более подробно разораться в приборах, важно узнать устройство амперметра.
Схема амперметра
Обычная схема цифрового амперметра включает в себя компаратор вместе с резисторами. Для преобразования напряжения применяется микроконтроллер. Чаще всего он используется с опорными диодами. Стабилизаторы устанавливаются только в селективных модификациях. Для увеличения точности измерений используются широкополосные фильтры. Фазовые устройства оснащаются трансиверами.
Модель своими руками
Собрать цифровой амперметр своими руками довольно сложно. В первую очередь для этого потребуется качественный компаратор. Параметр чувствительности должен составлять не менее 2.2 мк. Минимальное разрешение он обязан выдерживать на уровне в 1 мА. Микроконтроллер в устройстве устанавливается с опорными диодами. Система индикации подсоединяется к нему через фильтр. Далее, чтобы собрать цифровой амперметр своими руками нужно установить резисторы.
Чаще всего они подбираются коммутируемого типа. Шунт в данном случае должен располагаться за компаратором. Коэффициент деления прибора зависит от трансивера. Если говорить про простую модель, то он используется динамического типа. Современные устройства оснащаются сверхточными аналогами. Источником стабильного тока может выступать обычная батарейка литий-ионного типа.
Устройства постоянного тока
Цифровой амперметр постоянного тока выпускается на базе высокочувствительных компараторов. Также важно отметить, что в приборах устанавливаются стабилизаторы. Резисторы подходят только коммутируемого типа. Микроконтроллер в данном случае устанавливается с опорными диодами. Если говорить про параметры, то минимальное разрешение устройств равняется 1 мА.
Модификации переменного тока
Амперметр (цифровой) переменного тока можно сделать самостоятельно. Микроконтроллеры у моделей используются с выпрямителями. Для увеличения точности измерения применяются фильтры широкополосного типа. Сопротивление шунта в данном случае не должно быть меньше 2 Ом. Чувствительность у резисторов обязана составлять 3 мк. Стабилизаторы чаще всего устанавливаются расширительного типа. Также важно отметить, что для сборки понадобится триод. Припаивать его необходимо непосредственно к компаратору. Допустимая ошибка приборов данного типа колеблется в районе 0.2 %.
Импульсные приборы измерения
Импульсные модификации отличаются наличием счетчиков. Современные модели выпускаются на базе трехразрядных устройств. Резисторы используются только ортогонального типа. Как правило, коэффициент деления у них равняется 0.8. Допустимая ошибка в свою очередь составляет 0.2%. К недостаткам устройств можно отнести чувствительность к влажности среды. Также их запрещается использовать при минусовых температурах. Самостоятельно собрать модификацию проблематично. Трансиверы в моделях применяются только динамического типа.
Устройство фазочувствительных модификаций
Фазочувствительные модели продаются на 10 и 12 В. Параметр допустимой ошибки у моделей колеблется в районе 0.2%. Счетчики в устройствах применяются только двухразрядного типа. Микроконтроллеры используются с выпрямителями. Повышенной влажности амперметры данного типа не боятся. У некоторых модификаций имеются усилители. Если заниматься сборкой устройства, то потребуются коммутируемые резисторы. Источником стабильного тока может выступать обычная литий-ионная батарейка. Диод в данном случае не нужен.
Перед установкой микроконтроллера важно припаять фильтр. Преобразователь для литий-ионной потребуется переменного типа. Показатель чувствительности у него находится на уровне 4.5 мк. При резком в цепи необходимо проверить резисторы. Коэффициент деления в данном случае зависит от пропускной способности компаратора. Минимальное давление приборов данного типа не превышает 45 кПа. Непосредственно процесс преобразования тока занимает около 230 мс. Скорость передачи тактового сигнала зависит от качества счетчика.
Схема селективных устройств
Селективный цифровой амперметр постоянного тока изготавливается на базе компараторов с высокой пропускной способностью. Допустимая ошибка моделей равняется 0.3 %. Работают устройства по принципу одностадийного интегрирования. Счетчики используются только двухразрядного типа. Источники стабильного тока устанавливаются за компаратором.
Резисторы применяются коммутируемого типа. Для самостоятельной сборки модели потребуются два трансивера. Фильтры в данном случае могут значительно повысить точность измерений. Минимальное давление приборов лежит в районе 23 кПа. Резкое падение напряжения наблюдается довольно редко. Сопротивление шунта, как правило, не превышает 2 Ом. Токоизмерительная частота зависит от работы компаратора.
Универсальные приборы измерений
Универсальные приборы измерений подходят больше для бытового использования. Компараторы в устройствах часто устанавливаются не большой чувствительности. Таким образом, допустимая ошибка лежит в районе 0.5%. Счетчики используются трехразрядного типа. Резисторы применяются на базе конденсаторов. Триоды встречаются как фазового, так и импульсного типа.
Максимальное разрешение приборов не превышает 12 мА. Сопротивления шунта, как правило, лежит в районе 3 Ом. Допустимая влажность для устройств составляет 7 %. Предельное давление в данном случае зависит от установленной системы защиты.
Щитовые модели
Щитовые модификации производятся на 10 и 15 В. Компараторы в устройствах устанавливаются с выпрямителями. Допустимая ошибка приборов составляет не менее 0.4 5. Минимальное давление устройств равняется около 10 кПа. Преобразователи применяются в основном переменного типа. Для самостоятельной сборки устройства не обойтись без двухразрядного счетчика. Резисторы в данном случае устанавливаются со стабилизаторами.
Встраиваемые модификации
Цифровой встраиваемый амперметр выпускается на базе опорных компараторов. у моделей довольно высокая, и допустимая погрешность равняется около 0.2 %. Минимальное разрешение приборов не превышает 2 мА. Стабилизаторы используются как расширительного, так и импульсного типа. Резисторы устанавливаются высокой чувствительности. Микроконтроллеры часто применяются без выпрямителей. В среднем процесс преобразования тока не превышает 140 мс.
Модели DMK
Цифровые амперметры и вольтметры данной компании пользуются большим спросом. В ассортименте указанной фирмы имеется множество стационарных моделей. Если рассматривать вольтметры, то они выдерживают максимальное давление 35 кПа. В данном случае транзисторы применяются тороидального типа.
Микроконтроллеры, как правило, устанавливаются с преобразователями. Для лабораторных исследований устройства данного типа подходят идеально. Цифровые амперметры и вольтметры этой компании производятся с защищенными корпусами.
Устройство Торех
Указанный амперметр (цифровой) производится с повышенной проводимостью тока. Максимальное давление устройство выдерживает в 80 кПа. Минимальная допустимая температура амперметра равняется -10 градусов. Повышенной влажности указанный не боится. Устанавливать его рекомендуется рядом с источником тока. Коэффициент деления равняется только 0.8. Максимальное давление амперметр (цифровой) выдерживает в 12 кПа. Потребляемый ток устройства составляет около 0.6 А. Триод используется фазового типа. Для бытового использования данная модификация подходит.
Устройство Lovat
Указанный амперметр (цифровой) делается на базе двухразрядного счетчика. Проводимость тока модели равняется только 2.2 мк. Однако важно отметить высокую чувствительность компаратора. Система индикации используется простая, и пользоваться прибором очень комфортно. Резисторы в этот амперметр (цифровой) установлены коммутируемого типа.
Также важно отметить, что они способны выдерживать большую нагрузку. Сопротивление шунта в данном случае не превышает 3 Ом. Процесс преобразования тока происходит довольно быстро. Резкое падение напряжения может быть связано только с нарушением температурного режима прибора. Допустимая влажность указанного амперметра равняется целых 70 %. В свою очередь максимальное разрешение составляет 10 мА.
Модель DigiTOP
Этот постоянного тока выпускается с опорными диодами. Счетчик в нем предусмотрен двухразрядного типа. Проводимость компаратора находится на отметке в 3.5 мк. Микроконтроллер применяется с выпрямителем. Чувствительность тока у него довольно высокая. Источником питания выступает обычная батарейка.
Резисторы используются в приборе коммутируемого типа. Стабилизатор в данном случае не предусмотрен. Триод установлен только один. Непосредственно преобразование тока происходит довольно быстро. Для бытового использования этот прибор подходит хорошо. Фильтры для увеличения точности измерения предусмотрены.
Если говорить про параметры вольтметра-амперметра, то важно отметить, что рабочее напряжение находится на уровне 12 В. Потребление тока в данном случае равняется 0.5 А. Минимальное разрешение представленного прибора составляет 1 мА. Сопротивление шунта располагается на отметке в 2 Ом.
Коэффициент деления вольтметра-амперметра только 0.7. Максимальное разрешение указанной модели составляет 15 мА. Непосредственно процесс преобразования тока занимает не более 340 мс. Допустимая ошибка указанного прибора располагается на уровне в 0.1 %. Минимальное давление система выдерживает в 12 кПа.
Всем привет! Давно я тут на сайте не бывал, за это время столько самоделок успел изготовить и часть из них продать. Сегодня представляю одну из них-это стрелочный вольтметр напряжения в сети.
С его помощью можно контролировать напряжение в квартирной электросети и если оно слишком завышено или занижено, отключить дорогостоящую бытовую технику. В противном случае она окажется в сервисном центре.
Этот вольтметр я делал не для продажи, попросил отец сделать вольтметр, чтоб иногда вечером дома контролировать рабочую обстановку в сети. По его словам, вечером у них в подъезде проседает напряжение. Итак перейдем к делу.
Этот вольтметр я делал не для продажи, попросил отец сделать вольтметр, чтоб иногда вечером дома контролировать рабочую обстановку в сети. По его словам, вечером у них в подъезде проседает напряжение. Итак перейдем к делу. фото 1″ width=»520″ src=»https://stranamasterov.ru/img4/i2014/07/30/dscn1254.jpg?m=1406712049″>
Для начала был приобретен этот самый вольтметр от киноаппаратуры «Украина». Как видим, тут предел измерения-150В, а в нашем случае необходимо 220В и выше.
Этот вольтметр я делал не для продажи, попросил отец сделать вольтметр, чтоб иногда вечером дома контролировать рабочую обстановку в сети. По его словам, вечером у них в подъезде проседает напряжение. Итак перейдем к делу. фото 2″ width=»520″ src=»https://stranamasterov.ru/img4/i2014/07/30/dscn1221.jpg?m=1406712050″>
Для этого запускаю на компьютере программу FrontDesigner 3.0 и в ней рисую новую шкалу. Рисуется быстро, так как программа имеет специальную функцию для рисования шкал приборов.
Чтобы легче было рисовать, открутил старую шкалу, сфотографировал ее и вставил в эту программу и по ней уже начал выкройку делать, угол наклона шкалы тоже по ней ориентировал.
Остается нажать на «Печать» и наша новая шкала готова.
Этот вольтметр я делал не для продажи, попросил отец сделать вольтметр, чтоб иногда вечером дома контролировать рабочую обстановку в сети. По его словам, вечером у них в подъезде проседает напряжение. Итак перейдем к делу. фото 3″ width=»520″ src=»https://stranamasterov.ru/img4/i2014/07/30/bezymyannyy1.jpg?m=1406712051″>
Распечатанная шкала (2 вариант).
Этот вольтметр я делал не для продажи, попросил отец сделать вольтметр, чтоб иногда вечером дома контролировать рабочую обстановку в сети. По его словам, вечером у них в подъезде проседает напряжение. Итак перейдем к делу. фото 4″ width=»520″ src=»https://stranamasterov.ru/img4/i2014/07/30/dscn1223.jpg?m=1406712052″>
Примерка шкалы с родной шкалой. Все совпало, значит все отлично.
Этот вольтметр я делал не для продажи, попросил отец сделать вольтметр, чтоб иногда вечером дома контролировать рабочую обстановку в сети. По его словам, вечером у них в подъезде проседает напряжение. Итак перейдем к делу. фото 5″ width=»520″ src=»https://stranamasterov.ru/img4/i2014/07/30/dscn1222.jpg?m=1406712053″>
Слева новая шкала, сверху правее родная шкала.
Этот вольтметр я делал не для продажи, попросил отец сделать вольтметр, чтоб иногда вечером дома контролировать рабочую обстановку в сети. По его словам, вечером у них в подъезде проседает напряжение. Итак перейдем к делу. фото 6″ width=»520″ src=»https://stranamasterov.ru/img4/i2014/07/30/dscn1225.jpg?m=1406712054″>
Прикручиваем шкалу к основанию стрелочного прибора. Как видим стрелка ровно на нуле стоит.
Этот вольтметр я делал не для продажи, попросил отец сделать вольтметр, чтоб иногда вечером дома контролировать рабочую обстановку в сети. По его словам, вечером у них в подъезде проседает напряжение. Итак перейдем к делу. фото 7″ width=»520″ src=»https://stranamasterov.ru/img4/i2014/07/30/dscn1253.jpg?m=1406712055″>
Теперь, когда все готово, осталось припаять добавочное сопротивление. Оно нужно для того, чтоб наша стрелка не зашкаливала.
При разборке прибора, на место него стояла вот такая катушка сопротивлением 5,5 кОм. Для сети 220В, нам необходимо вдвое большее сопротивление, то есть 10кОм. Я поставил на 12кОм, резистор МЛТ-2.
Резистор ставим мощностью не менее 2Вт, иначе он сгорит, этот 2Вт греется тоже не хило.
Этот вольтметр я делал не для продажи, попросил отец сделать вольтметр, чтоб иногда вечером дома контролировать рабочую обстановку в сети. По его словам, вечером у них в подъезде проседает напряжение. Итак перейдем к делу. фото 8″ width=»520″ src=»https://stranamasterov.ru/img4/i2014/07/30/dscn1237.jpg?m=1406712056″>
Вот он припаянный резистор на 12 кОм, МЛТ-2.
Этот вольтметр я делал не для продажи, попросил отец сделать вольтметр, чтоб иногда вечером дома контролировать рабочую обстановку в сети. По его словам, вечером у них в подъезде проседает напряжение. Итак перейдем к делу. фото 9″ width=»520″ src=»https://stranamasterov.ru/img4/i2014/07/30/dscn1239.jpg?m=1406712057″>
Далее включаем в розетку вольтметр и смотрим что получилось. Напряжение в сети ниже 220В, по показанию мультиметра там было 212В. При таких низких напряжениях, бытовая техника иногда просто-напросто отказывается работать, а если и работает, то не на полную мощность.
Этот вольтметр я делал не для продажи, попросил отец сделать вольтметр, чтоб иногда вечером дома контролировать рабочую обстановку в сети. По его словам, вечером у них в подъезде проседает напряжение. Итак перейдем к делу. фото 10″ width=»520″ src=»https://stranamasterov.ru/img4/i2014/07/30/dscn1246.jpg?m=1406712057″>
Подключил параллельно электронный мультиметр в режим вольтметра. Как видим, напряжение в сети уже 216В.
Замеряем напряжение в сети, оно упало до напряжения 212В.
Через некоторое время, напряжение выровнялось ровно до 220В.
Слегка перескочило порог 220В.
Тут проверяю шкалу на точность с мультиметром, на обоих 150В. Регулировал регулятором мощности для светильника.
Ну и взял еще одну котрольную точку-это 70Вольт. На обоих 70В.
Ну вот и все, чем я хотел поделиться сегодня. Надеюсь, кому-то пригодится эта статья. Особенно она полезна для ребят, любящих эксперименты с электричеством и для мужчин, которые хотят сделать хороший электрощиток с вольтметром и прочей побрекушкой для своего гаража. Выкладываю видео работы этого вольтметра. Всем пока!
Источник: https://stranamasterov.ru/node/801248
Стрелочный вольтметр
И то, что ко всему привыкаешь и то, что с кем поведешься от того и наберешься — прописные истины. Вот и я привык к своему мультиметру и когда его кто-то хватает (извините, берёт попользоваться) – меня «жаба душит».
Сказать ничего не могу, это от меня домочадцы подцепили некоторое количества вируса радиолюбительства и теперь имеют потребность померить напряжение батареек в пульте, аккумулятора в телефоне и т.д. Терпел.
Пока не услышал, что некоторые граждане заинтересовались напряжением в розетках.
Откуда появилась эта измерительная головка уже не помню, но всегда считал её «убитой в ноль» — ошибался. При проверке выяснилась её полная адекватность. Вот только внешний вид…
Разобрал по максимуму. Корпус отмыл, верхнюю часть подклеил. Со шкалы кончиком лезвия маленького канцелярского ножа соскрёб лишние нолики. Получилась шкала на 15 вольт. Вместо сопротивления на 150к запаял в колодку перемычку. Отломанный кончик стрелки вернул на место при помощи кусочка изоляции и клея.
Стрелка, конечно, нуждалась в балансировке. Сделал по следующей технологии уравновешивания стрелки имеющимися противовесами с капельками припоя на них (двигаем хорошо разогретым паяльником, эти самые капельки).
- Куда двигать – стрелку располагаем горизонтально и смотрим, что перевешивает, если стрелка, то каплю передвинуть от центра. Если противовес — то каплю к центру.
- Какую каплю двигать – стрелку располагаем вертикально.
- а) нужно двигать «к центру». Стрелка отклонилась вправо – двигаем правую каплю. Влево – левую.
- б) нужно двигать «от центра». Стрелка отклонилась вправо – двигаем левую каплю. Влево – правую.
Имеющиеся углубления в верхней части корпуса заполнил при помощи паяльника пластмассой и выровнял напильником, затем мелкой и потом самой мелкой шкуркой, наконец, покрасил и вставил в неё на клей вырезанное стекло. Покрасил и внутреннюю металлическую планку (чтоб всё в цвет), просушил и собрал.
Внешний шарм появился. А для придания технического изыска дополнил измерительную головку переключателем на три положения и тремя резисторами.
Измерительная головка стала обладательницей трёх пределов измерения: на 3, 15 и 30 вольт. Вот картинка печатной платы и схемы по совместительству:
Остановлюсь на моменте сборки. Как оказалось, научиться выколупывать компаунд из зазора между нижней и верхней частями измерительных головок и тем самым их разъединять не проблема, проблема их соединить. Ну не заморачиваться же, в самом деле, их заливкой компаундом по новой. Соединяю так:
В самом уголке сверлю отверстие несколько меньшее диаметром, чем приготовленные саморезы (исключительно алюминиевые) и… А если кого смущает возможность проникновения вовнутрь пыли, то для этого есть пластилин.
По готовности измерителя (назвал его вольтметром первого уровня) проинструктировал причастных и выдал в пользование. Прибор понравился, особенно тем, что всего одна «кнопочка». В розетку просил щупы не толкать – лучше сразу гвоздики.
С пожеланием успеха, Babay.
Форум по стрелочникам
Обсудить статью Стрелочный вольтметр
Источник: https://radioskot.ru/publ/izmeriteli/strelochnyj_voltmetr/15-1-0-826
vip-cxema.org — Стрелочный вольтметр своими руками
Время аналоговых измерительных приборов уже давно прошло, но не смотря на это стрелочные измерительные головки находят широкое применения и не только в самодельных конструкциях. Они не сияют сверхвысокой точностью, но тем не менее в некоторых измерениях аналоговый прибор незаменим.
Представляю технологию переделки стрелочного вольтметра или микроамперметра в вольтметр на любое нужное напряжение.
Такой вольтметр можно будет использовать в качестве измерителя напряжения в зарядных устройствах, регулируемых источниках питания и так далее. Для переделки желательно выбирать индикатор с линейной шкалой.
В моем случае головкой будет служить высоковольтный вольтметр переменного напряжения, который выдран из стабилизатора напряжения со шкалой от 0 до 300 Вольт.
Мне нужно изготовить низковольтный вольтметр постоянного напряжения со шкалой от 0 до 16 вольт. Для начала головку нужно вскрыть, внутри мы можем наблюдать выпрямительный диод и ограничительный резистор, напряжение с клемм вольтметра подается на обмотку измерительной головки именно через эту цепочку из диода и резистора их чуть позже мы их уберем.
Аккуратно вынимаем шкалу, она приклеена на двухсторонний скотч. После этого её нужно отсканировать.
Рисунок редактируем в любом редакторе, хоть в пейнте. Удаляем все дефекты, дорисовываем неполные линии, символы, надписи ну и естественно меняем циферки на нужные.
- Измеряем размеры родной шкалы, после чего открываем ворд, вставляем наш рисунок и указываем ранее измеренные размеры и распечатываем все это дело, лучше сразу несколько штук, мало ли что.
- Обрезаем бумажку до нужных размеров и приклеиваем на место любым подручным клеем.
- Теперь аккуратно откусываем цепочку из резистора и диода, о которой говорили в начале.
- Припаиваем торчащие выводы друг к другу.
- Таким образом, напряжение, которое будет подаваться на клеммы вольтметра, непосредственно пойдет на обмотку измерительной головки.
Головка очень чувствительная и стрелка полностью отклоняется, если на клеммы подается напряжение всего в пол вольта ну и думаю понятно, что это никуда не годится, т.к. мы планировали что стрелка будет отклоняться до предела, если на клеммы подается 16 вольт.
- Берем переменный, а лучше подстроечный многооборотный резистор на 20-50 кОм и собираем простейшую схему
- Для калибровки индикатора очень желательно наличие лабораторного блока питания, но можно ограничиться любым адаптером питания вольт на 6, параллельно которому подключаем мультиметр, он у нас будет в качестве эталона.
- На вход подаем напряжение и медленно вращаем подстроечный резистор до тех пор пока стрелка не покажет то напряжение, которое мы видим на мультиметре.
- То есть достаточно откалибровать головку на конкретной отметке, а за счет того, что шкала линейная другие значения напряжения наш измеритель будет также показывать правильно.
После калибровки подстроечный резистор выпаивается, замеряеться полученное сопротивление и на его место ставиться постоянный резистор с таким же сопротивлением. Если нет нужного резистора, то можно соединить несколько резисторов последовательно, для получения нужного сопротивления, желательно применение резисторов с погрешностью в 1 % и меньше.
Подстроечник можно оставить, но советую заклеить регулирующий винт, для предотвращения смещений.
Очень часто для постройки измерительных головок в самом начале через ограничительное сопротивление на головку подают эталонные напряжения и на пустой шкале делают метки, которые учитываются во время создания шкалы в редакторе — такой подход более предпочтителен и позволяет построить измерительные головки высокой точности.
Источник: http://vip-cxema.org/index.php/home/nachinayushchim/427-strelochnyj-voltmetr-svoimi-rukami
Как сделать простой вольтметр своими руками – схемы и рекомендации
Ситуации, когда под рукой должен находиться вольтметр, встречаются достаточно часто. Для этого нет необходимости использовать заводской сложный прибор.
Изготовить простенький вольтметр своими руками – не проблема, потому что состоит он из двух элементов: стрелочный измерительный блок и резистор.
Правда, необходимо отметить, что пригодность вольтметра определяется его входным сопротивлением, которое состоит из сопротивлений его элементов.
То есть, получается так, что входное сопротивления на разных измеряемых участках разное, а относительная величина – показатель постоянный. К тому же, чем меньше отклоняется стрелка измерительного блока, тем больше относительная величина, а, значит, точнее будут измерения.
Прибор для измерения нескольких пределов
Кто не раз сталкивался с транзисторными конструкциями и схемами знает, что очень часто вольтметром приходится замерять цепи с напряжением от десятков долей одного вольта до сотен вольт.
Простой приборчик, изготовленный своими руками, с одним резистором это не осилит, поэтому в схему придется подключить несколько элементов с разным сопротивлением.
Чтобы вы поняли, о чем идет речь, предлагаем ознакомиться со схемой, расположенной снизу:
На ней показано, что в схеме установлено четыре резистора, каждый из которых отвечает за свой диапазон измерений:
- От 0 вольт до единицы.
- От 0 вольт до 10В.
- От 0 В до 100 вольт.
- От 0 до 1000 В.
Номинал каждого резистора поддается подсчету, который проводится на основе закона Ома. Здесь используется следующая формула:
R=(Uп/Iи)-Rп, где
- Rп – это сопротивление измерительного блока, возьмем, к примеру. 500 Ом;
- Uп – это максимальное напряжение измеряемого предела;
- Iи – это сила тока, при которой стрелка отклоняется до конца шкалы, в нашем случае – 0,0005 ампер.
Какой лучше выбрать мультиметр – рекомендации специалиста
Для несложного вольтметра из китайского амперметра можно выбрать следующие резисторы:
- для первого предела – 1,5 кОм;
- для второго – 19,5 кОм;
- для третьего – 199,5;
- для четвертого – 1999,5.
А вот относительная величина сопротивления этого прибора будет равна 2 кОм/В. Конечно, расчетные номиналы не совпадают со стандартными, поэтому резисторы придется подбирать близкими по значению. Далее проводится финишная подгонка, при которой производится градуировка самого прибора.
Как переделать вольтметр постоянного напряжения в переменное
Показанная на рисунке №1 схема – это вольтметр постоянного тока. Чтобы его сделать переменным или, как говорят специалисты, пульсирующим, необходимо в конструкцию установить выпрямитель, с помощью которого постоянное напряжение преобразуется в переменное. На рисунке №2 вольтметр переменного тока показан схематически.
Данная схема работает так:
- когда на левом зажиме находится положительная полуволна, то открывается диод D1, D2 в этом случае закрыт;
- напряжение проходит через амперметр к правому зажиму;
- когда положительная полуволна находится на правом конце, то D1 закрывается, и напряжение через амперметр не проходит.
В схему обязательно добавляется резистор Rд, сопротивление которого рассчитывается точно так же, как и остальные элементы. Правда, его расчетное значение делится на коэффициент, равный 2,5-3.
Это в том случае, если в вольтметр устанавливается однополупериодный выпрямитель. Если используется двухполупериодный выпрямитель, то значение сопротивления делится на коэффициент: 1,25-1,5.
Кстати, схема последнего изображена на рисунке №3.
Как правильно подключить вольтметр
Тот, кто не знает, но хочет проверить напряжение на каком-то участке электрической сети, должен задаться вопросом – как подключить вольтметр? Это на самом деле серьезный вопрос, в ответе которого лежит простое требование – подключение вольтметра необходимо проводить только параллельно нагрузке. Если будет произведено последовательное подключение, то сам прибор просто выйдет из строя, и вас может ударить током.
Все дело в том, что при таком соединении уменьшается сила тока, действующая на сам измерительный прибор. При этом сопротивлении его не меняется, то есть, остается большим. Кстати, никогда не путайте вольтметр с амперметром. Последний подключается к цепи последовательно, чтобы снизить показатель сопротивления до минимума.
Косинус фи в электротехнике – это коэффициент мощности
И последний вопрос темы – как пользоваться вольтметром, изготовленным самостоятельно. Итак, в вашем приборе два щупа. Один подключается к нулевому контуру, второй к фазе.
Так же можно проверить напряжение через розетку, предварительно определив, к какому гнезду запитан ноль, а к какому фаза. Или соединяете параллельно прибор к измеряемому участку. Стрелка измерительного блока покажет величину напряжения в сети.
Вот так пользуются этим самодельным измерительным прибором.
Источник: http://OnlineElektrik.ru/elaboratoriya/eizmereniya/kak-sdelat-prostoj-voltmetr-svoimi-rukami-sxemy-i-rekomendacii.html
На сайте радиочипи представлены принципиальные схемы сабвуферов, собранные своими руками
В статье описываются два варианта простых и надежных стрелочных вольтметров предназначенных для эксплуатации в жестких условиях. Не во всех случаях целесообразно использовать современные цифровые измерительные приборы.
В некоторых ситуациях, например, в гараже, на даче, когда требуется повышенная защита от грозовых разрядов, нужна работа в широком диапазоне температур окружающего воздуха, будет целесообразней использовать магнитоэлектрические измерители, не требующие дополнительного питания, включаемые по простым схемам и отличающиеся очень большим сроком службы.
Вариант 1
Вольтметр на базе прибора Ц24
На рис.1 представлена принципиальная схема простого вольтметра сетевого напряжения переменного тока. Особенность этого вольтметра в том, что он изготовлен на базе готового вольтметра промышленного изготовления Ц24. Вольтметр Ц24 представляет собой микроамперметр, в корпус которого установлены все необходимые радиоэлементы, для измерения напряжения сети переменного тока 230 В.
Этот вольтметр обычно устанавливался в отечественные регулируемые автотрансформаторы выпуска 1960-х годов, предназначенные для питания ламповой радиоаппаратуры.
Позднее в таких автотрансформаторах стали применять менее информативный, имеющий малый срок службы, но более стильный по тем временам, линейный газоразрядный индикатор.
Выпущенный в 1962 году измеритель Ц24 успешно выполняет свою задачу и в настоящее время.
Промышленный вольтметр включал в себя микроамперметр РА1 (ток полного отклонения стрелки около 1.5 мА, сопротивление обмотки 360 Ом), резисторы R2 — R5 и германиевые диоды VD5, VD6.
Вольтметр подвергся доработке: вместо двух параллельно включенных резисторов сопротивлением по 200 кОм был установлен один большей мощности сопротивлением 100 кОм — это резистор R2, а также, был установлен узел на светодиодах для индикации включения в сеть и для подсветки шкалы прибора.
Резисторы R2 — R4 ограничивают ток через микроамперметр РА1, германиевые диоды VD5, VD6 выпрямляют напряжение переменного тока. Использование двух выпрямительных диодов вместо одного исключает заметное дрожание легкой стрелки микроамперметра при ее питании от однополупериодного выпрямителя.
Для индикации включения прибора и подсветки шкалы в корпус микроамперметра установлены два сверхьярких светодиода HL1, HL2. Конденсатор С1 гасит избыток поступающей на светодиоды энергии.
Резистор R1 уменьшает броски тока через мостовой выпрямитель VD1 — VD4.
Импульсные броски тока, например, при включении в сеть, искрении в розетке, весьма негативно влияют на кристаллы сверхъярких светодиодов, для их уменьшения установлен оксидный конденсатор С2.
Конструкция и детали стрелочных вольтметров
Все детали этого измерителя размещены в корпусе микроамперметра РА1. Резисторы R2 — R4 и диоды VD5, VD6 размещены на заводской монтажной плате (рис.2), а элементы, относящиеся к узлу подсветки, зафиксированы в корпусе микроамперметра под этой платой термоклеем и дополнительно приклеены клеем «Момент» на основе полихлоропреновых каучуков.
Подойдет также аналогичный клей «Момент кристалл» или «Квинтол». Светодиоды приклеены снизу от шкалы (рис.3), а элементы R1, С1, VD1 — VD4 приклеены под монтажной платой. Резистор R1 желательно применить импортный разрывной или отечественный типа Р1-7.Остальные резисторы ВС, С1-4, С1 -14, С2-23, МЛТ, РПМ.
Если вольтметр будет установлен в не отапливаемом помещении (гараж, сарай), то использование металлопленочных резисторов нежелательно, более надежными окажутся углеродные резисторы.
Конденсатор С1 применен малогабаритный импортный, предназначенный для работы в сети переменного тока 275 В. Вместо такого конденсатора можно применить пленочные конденсаторы на рабочее напряжение переменного тока 630 В, например, типа К73-17, К73-24.
Конденсатор С2 типа К50-68, К53-14, К53-19 емкостью 22… 100 мкФ.
Германиевые диоды могут быть любые из серий Д2, Д9, Д18, Д20, ГД507. Кремниевые диоды 1N4148 можно заменить 1 N914 или отечественными из серий КД510, КД521, КД522. Сверхъяркие светодиоды RL50- CB744D синего цвета свечения имеют яркость 6000 мКд при токе 20 мА, вместо таких светодиодов можно установить любые аналогичные, например, «белые» RL50-WH744D — 8000 мКд.
Для лучшего рассеивания света, в зоне установки светодиодов, черный корпус микроамперметра окрашивают густым слоем белого лака для ногтей. Такая краска быстро сохнет и не отслаивается при повышенной влажности и перепадах температуры.
Вариант 2
Вольтметр на базе микроамперметра
Если в вашем распоряжении не окажется готового вольтметра Ц24, рис.4, то вместо него можно применить любой микроамперметр с током полного отклонения стрелки 100… 1500 мкА, например, М2001/1,М2003-М1.
При применении более чувствительного микроамперметра, резистор R2 должен быть установлен на значительно большее сопротивление.
При выборе микроамперметра нелишним будет обратить внимание на то, какое у него должно быть рабочее положение — вертикальное или горизонтальное.
Для калибровки прибора используют автотрансформатор и мультиметр. При отсутствии профессионального измерительного оборудования можно воспользоваться любительскими мультиметрами «среднего класса», например, типа MY-67, MY-68, М320, TJ1-4M.
Желательно наличие не менее трех контрольных приборов, одновременно включенных параллельно калибруемому измерителю. К сожалению, популярные у многих цифровые мультиметры низшей ценовой категории серий М-8хх, обычно не обеспечивают приемлемой точности измерений напряжения переменного тока 50 Гц.
Изготовленный прибор можно смонтировать, например, на корпусе установленного в гараже предохранительного щитка, магнитного пускателя или зарядного устройства для автомобильного аккумулятора.
Если найдется свободное место на передней панели лабораторного блока питания, корпусе сетевого разветвителя, водонагревателя или другого устройства с сетевым питанием, то установка такого вольтметра повысит эксплуатационные качества модернизированного аппарата.
Высокое входное сопротивление цифровых мультиметров может дать ошибочный результат при измерении напряжений у источников питания при обрыве в измеряемой цепи.
Или, например, при измерении ЭДС севшего гальванического элемента CR2032 мультиметром с входным сопротивлением 20 МОм без нагрузочного резистора дает результат 3.
2 В, а при измерении напряжения стрелочным мультиметром ТЛ-4М с входным сопротивлением 30 кОм результат был 1.8 В. В таких ситуациях удобнее пользоваться вольтметрами с относительно низким сопротивлением.
Принципиальная схема несложного вольтметра постоянного тока показана на рис.5. В наличии имелся распространенный в прошлом веке щитовой микроамперметр М4200 со шкалой на 75 В.
Чтобы не изготавливать другую шкалу, было решено на его основе изготовить вольтметр с четырьмя диапазонами: 0.75, 7.5, 75 и 750 В. Входное сопротивление вольт-метра на диапазоне 0.75 В составляет около 0.75 кОм.
на других диапазонах кратно этому значению, т.е. на диапазоне «750 В- — 750 кОм.
При нажатой кнопке SA1.1 вольтметр работает на диапазоне «0.75» В. Напряжение на РА1 поступает через токоограничительный резистор R1, терморезистор RT1 с положительным температурным коэффициентом сопротивления и замкнутые контакты переключателя SA1. Диоды VD1, VD2 защищают PVI от повреждения при перегрузке.
В случае, если, например, на вход вольтметра будет ошибочно подано сетевое напряжение 230 В переменного тока или его выпрямленное значение с конденсатора фильтра 300…350 В, терморезистор RT1 быстро разогреется, его сопротивление резко увеличится, ток в цепи будет ограничен до 2.5 мА, что безопасно для R1, VD1, VD2, PV1. В случае если бы в цепи вместо терморезистора был включен только один R1 соответствующего сопротивления, этот резистор был бы мгновенно поврежден.
Таким образом, из-за человеческих ошибок и отсутствия у недорогих измерительных приборов элементов защиты в мире было повреждено немало мультиметров. Некоторые цифровые мультиметры средней и высокой ценовой категории оснащаются такой же защитой на терморезисторе или электромагнитным выключателем.
При нажатии на кнопку SA1.2 в цепь включается токоограничительный резистор R3, вольтметр будет работать на диапазоне «7.5 В». При включении диапазона «75 В- последовательно с R3 включается резистор R4, а на диапазоне «750 В» ток на PV1 будет поступать через все токоограничительные резисторы в измеряемой цепи.
Прибор дополнительно оснащен узлом «индикатора фазы», собранном на R2, HL1.
Хотя этот узел может быстро определить фазный провод в сетевой розетке, как и многочисленные «отвертки- индикаторы», его назначение несколько иное — оперативно отслеживать утечки сетевого напряжения во вторичную цепь в незаземленных источниках питания.
Это необходимо для оценки рисков повреждения при работе с устройствами, содержащими полевые, СВЧ транзисторы, МОП, КМДП микросхемы, чувствительные к повреждениям диоды, светодиоды.
Конструкции и детали стрелочных вольтметров
Вольтметр был смонтирован в пластмассовом корпусе от фотореле «ФР-75А» ТУ 32-1501-75. Вид на компоновку деталей показан на рис.6. Размеры коробки около 122x88x48 мм. Вид устройства в сборе фото в начале статьи. Микроамперметр М4200 без встроенных резисторов, при их наличии, резисторы нужно удалить из корпуса микроамперметра.
Микроамперметр можно заменить М42300 или другим аналогичным, например, М4260. М2003-М1. Чтобы не переделывать шкалу, токоограничительные резисторы можно пересчитать под другие значения диапазонов, например: 0.5, 5.0, 50, 500 Вольт.
Переключатель SA1 — счетверенный П2К с зависимой фиксацией с двумя группами контактов, соединенными параллельно. Перед монтажом переключатель следует разобрать, контакты очистить от окислов, пластиковые корпусы кнопок изнутри вычистить и промыть этиловым спиртом. При сборке переключателя трущиеся пластмассовые и металлические части можно смазать густой силиконовой смазкой для оргтехники.
Терморезистор RT1 установлен на текстолитовых стойках, применен сопротивлением около 300 Ом от электронного балласта компактной электролюминесцентной ламы «Camelion LH26- AS-M Е27 Т3», обозначен как MZ5.
Подойдет любой аналогичный сопротивлением 270… 330 Ом при комнатной температуре. Чем мощнее лампа, тем меньшего сопротивления терморезистор в ней может быть установлен.
При формовке его жестких выводов не повредите корпус терморезистора.
Резистор R1 проволочный мощностью 5…7 Вт.
В процессе работы и перегрузки прибора этот резистор не нагревается, применение обычных металлопленочных и углеродных резисторов на его месте нежелательно из-за разбрызгивания, выгорания токопроводящего слоя в момент перегрузки, из-за чего изменяется сопротивление резисторов, с последующим их обрывом. Остальные резисторы любого типа общего применения, R3 — R5 припаяны к соответствующим контактам SA1.
Вместо диодов 1N4007S можно установить любые из серий 1N4001 — 1 N4007, UF4001 — UF4007, КД209, КД243, КД247. Диоды припаяны к лепестковым контактам микроамперметра.
Лампа тлеющего разряда HL1 малогабаритная импортная оранжевого свечения, была выбрана из нескольких десятков, самой яркой оказалась миниатюрная лампочка от подсветки клавиш импортных роторных выключателей.
Неплохой результат был и у тиратронов МТХ-90, но их размеры намного больше и меньше угол обзора.
Лампа приклеена к внутренней стороне прозрачной крышки корпуса цианакриловым клеем. Сенсор Е1 сделан из металлического корпуса импортного германиевого транзистора типа SFT352, учитывайте, что ни один из его выводов не соединен с корпусом транзистора. Можно использовать имеющие немного другие размеры корпуса отечественные транзисторы МП39, ГТ402 и аналогичные.
На разноцветные щупы XI, Х2 надеты термоусадочные трубки разных цветов, что облегчает их идентификацию, когда на рабочем столе используется несколько измерительных приборов.
Перед настройкой вольтметра установите стрелку прибора регулировочным винтом на нулевое деление шкалы. Настройку начинают с подбора резистора R1.
Если не удастся подобрать одиночный проволочный резистор необходимого сопротивления, можно установить два последовательно включенных проволочных резистора: первый мощностью 5 Вт сопротивлением 47 или 51 Ом, второй мощностью 2…3 Вт сопротивлением 3…12 Ом, также можно применить самодельный.
После поочередно подбирают сопротивление резисторов R3 — R5. При отсутствии мощных резисторов подходящего сопротивления, можно установить на их место резисторы чуть большего сопротивления, а параллельно с каждым из этих резисторов включить по 2 шт. последовательно включенных резисторов мощностью 0.25 Вт сопротивлением сотни кОм — единицы МОм.
После необходимых проверок изготовленного прибора не испытывайте из любопытства защиту на RT1 ненужными перегрузками. Если понадобится этим вольтметром найти фазный провод сетевой проводки, желательно переключить SA1 в положение «750 В», что повысит безопасность его использования.
← Применение модулятора ВЧ от игровой приставки SEGA Mega Drive Простая схема бесперебойного питания →
Источник: http://www.radiochipi.ru/peredelka-strelochnyih-voltmetrov/
Простой вольтметр своими руками | Все своими руками
Здравствуй дорогой читатель. Иногда возникает необходимость иметь «под рукой» небольшой простенький вольтметр. Сделать такой вольтметр своими руками не составит большого труда.
О пригодности вольтметра для измерения напряжений в тех или иных цепях судят по его входному сопротивлению, которое складывается из сопротивления рамки стрелочного прибора и сопротивления добавочного резистора. Так как на разных пределах добавочные резисторы имеют разные номиналы, то и входное сопротивление прибора будет другим.
Чаще вольтметр оценивают его относительным входным сопротивлением, характеризующим отношение входного сопротивления прибора к 1В измеряемого напряжения, например 5кОм/В. Это удобнее: входное сопротивление вольтметра на разных пределах измерений разное, а относительное входное сопротивление постоянное.
Чем меньше ток полного отклонения стрелки измерительного прибора Iи, используемого в вольтметре, тем больше будет его относительное входное сопротивление, тем точнее будут производимые им измерения. В транзисторных конструкциях приходится измерять напряжение от долей вольта до нескольких десятков вольт, а в ламповых еще больше. Поэтому однопредельный вольтметр неудобен.
Например, вольтметром со шкалой на 100В нельзя точно измерить даже напряжения 1— 5В, так как отклонение стрелки получится малозаметным. Поэтому нужен вольтметр, имеющий хотя бы три — четыре предела измерений. Схема такого вольтметра постоянного тока показана на рис.1.
Наличие четырех добавочных резисторов R1, R2, R3 и R4 свидетельствует о том, что вольтметр имеет четыре предела измерений. В данном случае первый предел 0-1В, второй 0-10В, третий 0-100В и четвертый 0-1000В.
Сопротивления добавочных резисторов можно рассчитать по формуле, вытекающей из закона Ома: Rд= Uп/Iи — Rп, здесь Uп — наибольшее напряжение данного предела измерений, Iи – ток полного отклонения стрелки измерительной головки, а Rп – сопротивление рамки измерительной головки.
Так, например, для прибора на ток Iи = 500мкА (0,0005А) и рамкой сопротивлением 500 Ом сопротивление добавочного резистора R1, для предела 0-1В должно быть 1,5кОм, для предела 0-10В — 19,5кОм, для предела 0-100В — 199,5кОм, для предела 0-1000 – 1999,5кОм. Относительное входное сопротивление такого вольтметра будет 2кОм/В. Обычно, в вольтметр монтируют добавочные резисторы с номиналами, близкими с расчетными. Окончательно же «подгонку» их сопротивлений производят при градуировке вольтметра путем подключения к ним параллельно или последовательно других резисторов.
Если вольтметр постоянного тока дополнить выпрямителем, преобразующим переменное напряжение в постоянное (точнее — пульсирующее), получим вольтметр переменного тока. Возможная схема такого прибора с однополупериодным выпрямителем показана на рис.2. Работает прибор следующим образом.
В те моменты времени, когда на левом (по схеме) зажиме прибора положительная полуволна переменного напряжения, ток идет через диод Д1 и далее через микроамперметр к правому зажиму. В это время диод Д2 закрыт.
Во время положительной полуволны на правом зажиме, диод Д1 закрывается, и положительные полуволны переменного напряжения замыкаются через диод Д2, минуя микроамперметр.
Добавочный резистор Rд рассчитывают так же, как и для постоянных напряжений, но полученный результат делят на 2,5-3, если выпрямитель прибора однополупериодный, или на 1,25-1,5, если выпрямитель прибора двухполупериодный — рис.3.
Более точно сопротивление этого резистора подбирают опытным путем во время градуировки шкалы прибора. Можно рассчитать Rд и по другим формулам. Сопротивление добавочных резисторов вольтметров выпрямительной системы, выполненных по схеме на рис.2, вычисляют по формуле: Rд = 0,45*Uп/Iи – (Rп + rд);
Для схемы на рис.3 формула имеет вид: Rд = 0,9*Uп/Iи – (Rп + 2rд); где rд – сопротивление диода в прямом направлении.
Показания приборов выпрямительной системы пропорциональны средне выпрямленному значению измеряемых напряжений.
Шкалы же их градуируют в среднеквадратических значения синусоидального напряжения, поэтому показания приборов выпрямительной системы равны среднеквадратичному значению напряжения лишь при измерении напряжений синусоидальной формы. В качестве выпрямительных диодов используются германиевые диоды Д9Д.
Такими вольтметрами можно измерять и напряжение звуковой частоты до нескольких десятков килогерц. Шкалу для самодельного вольтметра можно начертить с помощью программы FrontDesigner_3.0_setup.
Скачать программу FrontDesigner_3.0_setup
Скачать “FrontDesigner_3.0_setup” FrontDesigner_3.0_setup.zip – Загружено 810 раз – 3 MB
Источник: http://www.kondratev-v.ru/izmereniya/prostoj-samodelnyj-voltmetr.html
Стрелочный вольтметр
Радиоэлектроника для начинающих
И хоть мы уже давно привыкли к цифровым вольтметрам, в природе всё ещё встречаются и стрелочные.
В некоторых случаях их применение может быть более удобным и практичным, чем использование современных цифровых.
Если в ваши руки попал стрелочный вольтметр, то желательно узнать его основные характеристики. Их легко определить по шкале и надписях на ней. В мои руки попал встраиваемый вольтметр М42300.
Внизу, под шкалой, как правило, есть несколько значков и указана модель прибора. Так, значок в виде подковы (или изогнутого магнита) означает, что это прибор магнитоэлектрической системы с подвижной рамкой.
На следующем снимке можно разглядеть такую подковку.
Горизонтальная чёрточка указывает на то, что данный измерительный прибор рассчитан на работу с постоянным током (напряжением).
Тут же стоит уточнить, почему речь идёт о постоянном токе. Не секрет, что стрелочными бывают не только вольтметры, но и огромное количество других измерительных приборов, например, тот же аналоговый амперметр или омметр.
Действие любого стрелочного прибора основано на отклонении катушки в поле магнита при прохождении постоянного тока по этой самой катушке. Чтобы отобразить с помощью стрелки показания на шкале прибора, ток должен быть постоянным.
Если он будет переменным, то стрелка будет отклоняться вправо-влево с частотой переменного тока, который протекает через обмотку катушки. Чтобы измерить величину переменного тока или напряжения в измерительный прибор встраивают выпрямитель.
Именно поэтому, под шкалой прибора указывается тип тока, с которым он способен работать: постоянным или переменным.
Далее на шкале прибора можно обнаружить целое или дробное число, вроде 1,5; 1,0 и подобное. Это класс точности прибора, выраженный в процентах %. Понятно, чем меньше число, тем лучше – показания будут точнее.
Также можно увидеть такой знак – две пересекающиеся черты под прямым углом. Этот знак указывает на то, что рабочее положение прибора вертикальное.
При горизонтальном положении показания могут быть менее точные. Иными словами прибор может «врать». Стрелочный вольтметр с таким значком лучше устанавливать в прибор вертикально и исключить существенный наклон.
- А вот такой знак говорит о том, что рабочее положение прибора — горизонтальное.
- Ещё один интересный знак – пятиконечная звезда с цифрой внутри.
Данный знак предупреждает о том, что между корпусом прибора и его магнитоэлектрической системой напряжение не должно превышать 2кВ (2000 вольт). На это стоит обращать внимание при эксплуатации вольтметра в высоковольтных установках. Если вы планируете использовать его в блоке питания на 12 – 50 вольт, то беспокоиться не стоит.
Как считывать показания со шкалы стрелочного вольтметра?
Для тех, кто впервые видит шкалу прибора, возникает вполне резонный вопрос: «А как же считывать показания?» На первый взгляд ничего непонятно .
На самом деле всё просто. Чтобы определить минимальное деление шкалы нужно определить ближайшее число (цифру) на шкале. Как видим на шкале нашего М42300 – это 2.
Далее считаем количество промежутков между чёрточками до первого числа или цифры – в нашем случае до 2. Их оказывается 10. Далее делим 2 на 10, получаем 0,2. То есть, расстояние от одной маленькой чёрточки до соседней, равно — 0,2 вольта.
Вот мы и нашли минимальное деление шкалы. Таким образом, если стрелка прибора отклонится на 2 маленьких деления, то это будет означать, что напряжение равно 0,4V (2 * 0,2V = 0,4V).
Практический пример.
В наличии уже знакомый нам встраиваемый вольтметр модели М42300. Прибор предназначен для измерения постоянного напряжения до 10 вольт. Шаг измерения — 0,2 вольта.
Прикручиваем к клеммам вольтметра два провода (соблюдаем полярность!), и подключаем севшую батарейку на 1,5 вольта или любую попавшуюся.
Вот такие показания я увидел на шкале прибора. Как видим, напряжение батарейки равно 1 вольту (5 делений * 0,2V = 1V). Пока фотографировал, стрелка вольтметра упорно двигалась к началу шкалы — батарейка отдавала последние «соки».
Кроме этого мне стало интересно, какой ток потребляет сам стрелочный вольтметр. Поэтому вместо батарейки я подключил блок питания и выставил на выходе 10 вольт — чтобы стрелка прибора отклонилась на всю шкалу. Далее я подключил в разрыв цепи цифровой мультиметр и измерил ток.
Оказалось, ток, потребляемый стрелочным вольтметром, составил всего 1 миллиампер (1 мА). Его достаточно, чтобы стрелка отклонилась на всю шкалу. Это очень мало. Поясню свой намёк.
Получается, что стрелочный вольтметр экономичнее цифрового. Посудите сами, любой цифровой измерительный прибор имеет дисплей (ЖК или светодиодный), контроллер, а также буферные элементы для управления дисплеем.
И это только часть его схемы. Всё это потребляет ток, садит батарею или аккумулятор.
И если в случае вольтметра с жидкокристаллическим дисплеем потребляемый ток невелик, то при наличии активного светодиодного индикатора, потребляемый ток будет уже существенный.
Вот и получается, что для портативных приборов с автономным питанием иногда разумнее использовать классический стрелочный вольтметр.
При подключении вольтметра к цепи следует помнить о нескольких простых правилах.
- Во-первых, вольтметр (любой, хоть цифровой, хоть стрелочный) необходимо подключать параллельно той цепи или элементу, напряжение на котором планируется измерять или контролировать.
- Во-вторых, следует учитывать рабочий диапазон измерений. Узнать его легко – достаточно взглянуть на шкалу и определить последнее число на шкале. Это и будет граничное напряжение для измерения данным вольтметром. Естественно, есть и универсальные вольтметры, с выбором предела измерения, но сейчас речь идёт о встраиваемом стрелочном вольтметре с одним пределом измерения.
Если подключить вольтметр, например, со шкалой измерения до 100 вольт, в цепь, где напряжение превышает эти 100 вольт, то стрелка прибора будет уходить за пределы шкалы, «зашкаливать». Такое положение дел рано или поздно приведёт к порче магнитоэлектрической системы. - В-третьих, при подключении стоит соблюдать полярность, если вольтметр рассчитан на измерение постоянного напряжения. Как правило, на клеммах (или хотя бы у одной) указывается полярность – плюс «+» или минус «-» . При подключении вольтметров, рассчитанных на измерение переменного напряжения, полярность подключения не имеет значения.
Надеюсь, теперь вам будет проще определить основные характеристики стрелочного вольтметра, а самое главное, применить его в своих самоделках, например, встроив его в блок питания с регулируемым выходным напряжением . А если сделать светодиодную подсветку его шкалы, то он будет выглядеть вообще шикарно! Согласитесь, такой стрелочный вольтметр будет смотреться стильно и эффектно.
Главная » Радиоэлектроника для начинающих » Текущая страница
Также Вам будет интересно узнать:
Источник: https://go-radio.ru/strelochniy-voltmetr.html
Loading…
Как сделать из вольтметра амперметр. Амперметр цифровой своими руками. Цифровые амперметры и вольтметры
И то, что ко всему привыкаешь и то, что с кем поведешься от того и наберешься — прописные истины. Вот и я привык к своему мультиметру и когда его кто-то хватает (извините, берёт попользоваться) — меня «жаба душит». Сказать ничего не могу, это от меня домочадцы подцепили некоторое количества вируса радиолюбительства и теперь имеют потребность померить напряжение батареек в пульте, аккумулятора в телефоне и т.д. Терпел. Пока не услышал, что некоторые граждане заинтересовались напряжением в розетках.
Откуда появилась эта измерительная головка уже не помню, но всегда считал её «убитой в ноль» — ошибался. При проверке выяснилась её полная адекватность. Вот только внешний вид…
Разобрал по максимуму. Корпус отмыл, верхнюю часть подклеил. Со шкалы кончиком лезвия маленького канцелярского ножа соскрёб лишние нолики. Получилась шкала на 15 вольт. Вместо сопротивления на 150к запаял в колодку перемычку.
Отломанный кончик стрелки вернул на место при помощи кусочка изоляции и клея.
Стрелка, конечно, нуждалась в балансировке. Сделал по следующей технологии уравновешивания стрелки имеющимися противовесами с капельками припоя на них (двигаем хорошо разогретым паяльником, эти самые капельки).
- Куда двигать
— стрелку располагаем горизонтально и смотрим, что перевешивает, если стрелка, то каплю передвинуть от центра. Если противовес — то каплю к центру. - Какую каплю двигать
— стрелку располагаем вертикально.
- а) нужно двигать «к центру». Стрелка отклонилась вправо — двигаем правую каплю. Влево — левую.
- б) нужно двигать «от центра». Стрелка отклонилась вправо — двигаем левую каплю. Влево — правую.
Имеющиеся углубления в верхней части корпуса заполнил при помощи паяльника пластмассой и выровнял напильником, затем мелкой и потом самой мелкой шкуркой, наконец, покрасил и вставил в неё на клей вырезанное стекло.
Покрасил и внутреннюю металлическую планку (чтоб всё в цвет), просушил и собрал.
Внешний шарм появился. А для придания технического изыска дополнил измерительную головку переключателем на три положения и тремя резисторами.
Измерительная головка стала обладательницей трёх пределов измерения: на 3, 15 и 30 вольт. Вот картинка печатной платы и схемы по совместительству:
Остановлюсь на моменте сборки. Как оказалось, научиться выколупывать компаунд из зазора между нижней и верхней частями измерительных головок и тем самым их разъединять не проблема, проблема их соединить. Ну не заморачиваться же, в самом деле, их заливкой компаундом по новой. Соединяю так:
В самом уголке сверлю отверстие несколько меньшее диаметром, чем приготовленные саморезы (исключительно алюминиевые) и… А если кого смущает возможность проникновения вовнутрь пыли, то для этого есть пластилин. По готовности измерителя (назвал его вольтметром первого уровня) проинструктировал причастных и выдал в пользование.
Прибор понравился, особенно тем, что всего одна «кнопочка». В розетку просил щупы не толкать — лучше сразу гвоздики. С пожеланием успеха, Babay
.
Обсудить статью СТРЕЛОЧНЫЙ ВОЛЬТМЕТР
Амперметры — это устройства, которые используются с целью определения силы тока в цепи. Цифровые модификации изготавливаются на базе компараторов. По точности измерения они различаются. Также важно отметить, что приборы могут устанавливаться в цепи с постоянным и переменным током.
По типу конструкции различают щитовые, переносные, а также встроенные модификации. По назначению есть импульсные и фазочувствительные устройства. В отдельную категорию выделены селективные модели. Для того чтобы более подробно разораться в приборах, важно узнать устройство амперметра.
Схема амперметра
Обычная схема цифрового амперметра включает в себя компаратор вместе с резисторами. Для преобразования напряжения применяется микроконтроллер. Чаще всего он используется с опорными диодами.
Модель своими руками
Собрать цифровой амперметр своими руками довольно сложно. В первую очередь для этого потребуется качественный компаратор. Параметр чувствительности должен составлять не менее 2.2 мк. Минимальное разрешение он обязан выдерживать на уровне в 1 мА. Микроконтроллер в устройстве устанавливается с опорными диодами. Система индикации подсоединяется к нему через фильтр. Далее, чтобы собрать цифровой амперметр своими руками нужно установить резисторы.
Чаще всего они подбираются коммутируемого типа. Шунт в данном случае должен располагаться за компаратором. Коэффициент деления прибора зависит от трансивера. Если говорить про простую модель, то он используется динамического типа. Современные устройства оснащаются сверхточными аналогами. Источником стабильного тока может выступать обычная батарейка литий-ионного типа.
Устройства постоянного тока
Цифровой амперметр постоянного тока выпускается на базе высокочувствительных компараторов. Также важно отметить, что в приборах устанавливаются стабилизаторы. Резисторы подходят только коммутируемого типа. Микроконтроллер в данном случае устанавливается с опорными диодами. Если говорить про параметры, то минимальное разрешение устройств равняется 1 мА.
Модификации переменного тока
Амперметр (цифровой) переменного тока можно сделать самостоятельно. Микроконтроллеры у моделей используются с выпрямителями. Для увеличения точности измерения применяются фильтры широкополосного типа. Сопротивление шунта в данном случае не должно быть меньше 2 Ом. Чувствительность у резисторов обязана составлять 3 мк. Стабилизаторы чаще всего устанавливаются расширительного типа. Также важно отметить, что для сборки понадобится триод. Припаивать его необходимо непосредственно к компаратору. Допустимая ошибка приборов данного типа колеблется в районе 0.
Импульсные приборы измерения
Импульсные модификации отличаются наличием счетчиков. Современные модели выпускаются на базе трехразрядных устройств. Резисторы используются только ортогонального типа. Как правило, коэффициент деления у них равняется 0.8. Допустимая ошибка в свою очередь составляет 0.2%. К недостаткам устройств можно отнести чувствительность к влажности среды. Также их запрещается использовать при минусовых температурах. Самостоятельно собрать модификацию проблематично. Трансиверы в моделях применяются только динамического типа.
Устройство фазочувствительных модификаций
Фазочувствительные модели продаются на 10 и 12 В. Параметр допустимой ошибки у моделей колеблется в районе 0.2%. Счетчики в устройствах применяются только двухразрядного типа. Микроконтроллеры используются с выпрямителями. Повышенной влажности амперметры данного типа не боятся. У некоторых модификаций имеются усилители. Если заниматься сборкой устройства, то потребуются коммутируемые резисторы.
Перед установкой микроконтроллера важно припаять фильтр. Преобразователь для литий-ионной потребуется переменного типа. Показатель чувствительности у него находится на уровне 4.5 мк. При резком в цепи необходимо проверить резисторы. Коэффициент деления в данном случае зависит от пропускной способности компаратора. Минимальное давление приборов данного типа не превышает 45 кПа. Непосредственно процесс преобразования тока занимает около 230 мс. Скорость передачи тактового сигнала зависит от качества счетчика.
Схема селективных устройств
Селективный цифровой амперметр постоянного тока изготавливается на базе компараторов с высокой пропускной способностью. Допустимая ошибка моделей равняется 0.3 %. Работают устройства по принципу одностадийного интегрирования. Счетчики используются только двухразрядного типа. Источники стабильного тока устанавливаются за компаратором.
Резисторы применяются коммутируемого типа. Для самостоятельной сборки модели потребуются два трансивера. Фильтры в данном случае могут значительно повысить точность измерений. Минимальное давление приборов лежит в районе 23 кПа. Резкое падение напряжения наблюдается довольно редко. Сопротивление шунта, как правило, не превышает 2 Ом. Токоизмерительная частота зависит от работы компаратора.
Универсальные приборы измерений
Универсальные приборы измерений подходят больше для бытового использования. Компараторы в устройствах часто устанавливаются не большой чувствительности. Таким образом, допустимая ошибка лежит в районе 0.5%. Счетчики используются трехразрядного типа. Резисторы применяются на базе конденсаторов. Триоды встречаются как фазового, так и импульсного типа.
Максимальное разрешение приборов не превышает 12 мА. Сопротивления шунта, как правило, лежит в районе 3 Ом. Допустимая влажность для устройств составляет 7 %. Предельное давление в данном случае зависит от установленной системы защиты.
Щитовые модели
Щитовые модификации производятся на 10 и 15 В. Компараторы в устройствах устанавливаются с выпрямителями. Допустимая ошибка приборов составляет не менее 0.4 5. Минимальное давление устройств равняется около 10 кПа. Преобразователи применяются в основном переменного типа. Для самостоятельной сборки устройства не обойтись без двухразрядного счетчика. Резисторы в данном случае устанавливаются со стабилизаторами.
Встраиваемые модификации
Цифровой встраиваемый амперметр выпускается на базе опорных компараторов. у моделей довольно высокая, и допустимая погрешность равняется около 0.2 %. Минимальное разрешение приборов не превышает 2 мА. Стабилизаторы используются как расширительного, так и импульсного типа. Резисторы устанавливаются высокой чувствительности. Микроконтроллеры часто применяются без выпрямителей. В среднем процесс преобразования тока не превышает 140 мс.
Модели DMK
Цифровые амперметры и вольтметры данной компании пользуются большим спросом.
Микроконтроллеры, как правило, устанавливаются с преобразователями. Для лабораторных исследований устройства данного типа подходят идеально. Цифровые амперметры и вольтметры этой компании производятся с защищенными корпусами.
Устройство Торех
Указанный амперметр (цифровой) производится с повышенной проводимостью тока. Максимальное давление устройство выдерживает в 80 кПа. Минимальная допустимая температура амперметра равняется -10 градусов. Повышенной влажности указанный не боится. Устанавливать его рекомендуется рядом с источником тока. Коэффициент деления равняется только 0.8. Максимальное давление амперметр (цифровой) выдерживает в 12 кПа. Потребляемый ток устройства составляет около 0.6 А. Триод используется фазового типа. Для бытового использования данная модификация подходит.
Устройство Lovat
Указанный амперметр (цифровой) делается на базе двухразрядного счетчика. Проводимость тока модели равняется только 2.2 мк. Однако важно отметить высокую чувствительность компаратора. Система индикации используется простая, и пользоваться прибором очень комфортно. Резисторы в этот амперметр (цифровой) установлены коммутируемого типа.
Также важно отметить, что они способны выдерживать большую нагрузку. Сопротивление шунта в данном случае не превышает 3 Ом. Процесс преобразования тока происходит довольно быстро. Резкое падение напряжения может быть связано только с нарушением температурного режима прибора. Допустимая влажность указанного амперметра равняется целых 70 %. В свою очередь максимальное разрешение составляет 10 мА.
Модель DigiTOP
Этот постоянного тока выпускается с опорными диодами. Счетчик в нем предусмотрен двухразрядного типа. Проводимость компаратора находится на отметке в 3.5 мк. Микроконтроллер применяется с выпрямителем.
Резисторы используются в приборе коммутируемого типа. Стабилизатор в данном случае не предусмотрен. Триод установлен только один. Непосредственно преобразование тока происходит довольно быстро. Для бытового использования этот прибор подходит хорошо. Фильтры для увеличения точности измерения предусмотрены.
Если говорить про параметры вольтметра-амперметра, то важно отметить, что рабочее напряжение находится на уровне 12 В. Потребление тока в данном случае равняется 0.5 А. Минимальное разрешение представленного прибора составляет 1 мА. Сопротивление шунта располагается на отметке в 2 Ом.
Коэффициент деления вольтметра-амперметра только 0.7. Максимальное разрешение указанной модели составляет 15 мА. Непосредственно процесс преобразования тока занимает не более 340 мс. Допустимая ошибка указанного прибора располагается на уровне в 0.1 %. Минимальное давление система выдерживает в 12 кПа.
Эта конструкция описывает простой вольтметр, с индикатороми на двенадцати светодиодах. Данное измерительное устройство позволяет
отображать измеряемое напряжение в диапазоне значений от 0 до 12 вольт с шагом в 1 вольт, причем погрешность в измерении очень низкая.
На трех операционных усилителях LM324 собраны компараторы напряжения. Их инверсные входы подсоединены к резисторному делителю напряжения, собранного на резисторах R1 и R2, через который на схему идет контролируемое напряжение.
На неинвертирующие входы операционных усилителей поступает опорное напряжение с делителя, выполненного на сопротивлениях R3 — R15. Если на входе вольтметра отсутствует напряжение, то на выходах ОУ будет высокий уровень сигнала и на выходах логических элементов будет логический ноль, поэтому светодиоды не светятся.
При поступление на вход светодиодного индикатора измеряемого напряжения, на определенных выходах компараторов ОУ установится низкий логический уровень, соответственно на светодиоды поступит высокий логический уровень, в результате чего загорится соответствующий светодиод. Для предотвращения подачи уровня напряжения на входе устройства имеется защитный стабилитрон на 12 вольт.
Этот вариант рассмотренной выше схемы отлично подойдет любому автовладельцу и даст ему наглядную информацию о состоянии заряда аккумуляторной батареи. В данном случае задействованы четыре встроенных компаратора микросборки LM324. Инвертирующими входами формируются опорные напряжения 5,6V, 5,2V, 4,8V, 4,4V соответственно. Напряжение аккумулятора напрямую поступает на инвертирующий вход через делитель на сопротивлениях R1 и R7.
Светодиоды выступают в роли мигающих индикаторов. Для настройки, вольтметр, подсоединяют к АКБ, затем регулируют переменный резистор R6 так, чтобы нужные напряжения присутствовали на инвертирующих выводах. Зафиксируйте индикаторные светодиоды на передней панели авто и нанесите рядом с ними напряжение аккумулятора, при котором загораются тот, или иной индикатор.
Итак, хочу сегодня рассмотреть очередной проект с применением микроконтроллеров, но еще и очень полезный в ежедневных трудовых буднях радиолюбителя.
Это цифровое устройство на современном микроконтроллере. Конструкция его была взята из журнала радио за 2010 год и может быть с легкостью перестроена под амперметр в случае необходимости.
Это простая конструкция автомобильного вольтметра используется для контроля напряжения бортовой сети автомобиля и расчитана на диапазон от 10,5В до 15 вольт. В роли индикатора применены десять светодиодов.
Сердцем схемы является ИМС LM3914. Она способна оценить уровень входное напряжение и отобразить приблизительный результат на светодиодах в режиме точка или столбик.
Светодиоды выводят текущее значение напряжения аккумулятора или бортовой сети в режиме точки (вывод 9 не подключен или подсоединен на минус) или столбика (вывод 9 к плюсу питания).
Сопротивление R4 регулирует яркость свечения светодиодов. Резисторы R2 и переменный R1 образуют делитель напряжения. При помощи R1 осуществляется настройка верхнего порога напряжения, а при помощи резистора R3 нижнего.
Калибровка схемы делается по следующуму принципу.
Затем на вход подаем 10,5 вольт и R3 добиваемся свечения VD1. А затем увеличиваем уровень напряжение с шагом в половину вольта. Тумблер SA1 используется для переключения между режимами индикации точка/столбик. При замкнутом SA1 – столбик, при разомкнутом – точка.
Если напряжение на аккумуляторной батареи ниже уровня 11 вольт, стабилитроны VD1 и VD2 не пропускают ток, из-за чего светится только HL1, говорящий о низком уровне напряжения бортовой сети автомобиля.
Если напряжение лежит в интервале от 12 до 14 вольт, стабилитрон VD1 отпирает VT1. HL2 горит, указывая на нормальный уровень АКБ. Если напряжение батареи выше 15 вольт, стабилитрон VD2 отпирает VT2, и загорается светодиод HL3, показывающий значительное превышение напряжения в сети автомобиля.
В роли индикатора, как и в предыдущей конструкции, применены три светодиода.
При низком напряжении уровне загорается HL1. Если норма HL2. А более 14 вольт, вспыхивает третий светодиод. Стабилитрон VD1 формирует опорное напряжение для работы ОУ.
Цифровой вольтметр является довольно востребованным прибором. Предназначен он исключительно для определения напряжения, которое имеется в электрической цепи. Подключение цифрового вольтметра может осуществляться двумя способами. В первом варианте он устанавливается параллельно цепи. Второй способ подразумевает подсоединение прибора непосредственно к источнику электроэнергии. Особенность цифровых вольтметров заключается в удобстве использования. Дополнительно они имеют довольно большой показатель внутреннего сопротивления. Это крайне важно, поскольку данный параметр влияет на точность устройства.
Какие типы бывают?
Все вольтметры можно разделить по виду измеряемой величины. Основными типами считаются устройства постоянного, а также переменного тока. Первый вид, в свою очередь, делится на выпрямительные, а также квадратичные приборы.
Схема цифрового вольтметра
Обычная схема цифрового вольтметра основана на дискретных величинах. Важную роль в ней играет входное устройство. При этом управляющий прибор взаимодействует с цифровым отсчетным блоком через десятичные числа. Особенность входного устройства заключается в высоком делителе напряжения. Если работа сводится к определению переменного тока, то оно работает как обычный преобразователь. При этом на выходе получается постоянный ток.
В это время центральный блок занимается аналоговым сигналом. В данной системе он представлен в виде цифрового кода. Процесс преобразования свойственен не только вольтметрам, но и мультиметрам. В некоторых моделях устройств применяется двоичный код. В таком случае процесс получения сигнала значительно упрощается, и преобразование происходит значительно быстрее.
Цифровые преобразователи вольтметров
На сегодняшний день существует множество различных типов преобразователей, которые устанавливаются в вольтметры. Наиболее распространенными считаются времяимпульсные модели. Дополнительно существуют кодоимпульсные преобразователи.
Отличительной их особенностью от прочих устройств является возможность заниматься поразрядным уравновешиванием. В это время частотно-импульсные модели такой привилегии лишены. Однако с их помощью можно проводить пространственное кодирование, а это в некоторых исследованиях может быть крайне важным. Особенно это касается замеров напряжения в закрытых цепях электричества.
Самодельные вольтметры
Вольтметр (цифровой) своими руками сделать можно. В первую очередь подбирают детектор, который предназначен для определения средневыпрямленного значения. При этом устанавливается он, как правило, рядом с преобразователем переменного тока. Минимум-напряжение детектором определяется от 100 МВ, однако некоторые модели способны распознавать силу тока до 1000 МВ. Дополнительно, для того чтобы сделать вольтметр (цифровой) своими руками, потребуется транзистор, который влияет на чувствительность устройства, а именно его порог. Связан он с уровнем квантовой амплитуды напряжения. Еще на чувствительность влияет дискретность прибора. Если напряжение составляет менее 100 МВ, то уровень сопротивления непременно растет и может составить, в конечном счете, 10 Ом.
Сопротивление электрической схемы
Сопротивление, которое образуется в системе, зависит от количества знаков в цепи. В данном случае следует понимать, что шкалы вольтметров могут сильно отличаться. Отношение измеряемой величины прямо пропорционально напряжению. Дополнительно нужно учитывать помехозащищенность, которая также влияет на сопротивление устройства.
В данном случае это оказывает большое влияние на возникновения помех в цепи. Наиболее частой причиной резкого скачка считают неправильную работу блока питания. При этом средняя частота устройства может нарушаться. Таким образом, на входе в цепи имелось, к примеру, 50 Гц, а на выходе получилось 10 Гц. Как результат, в соединительном проводе образуется сопротивление. Постепенно это приводит к утечке, а происходит это в месте, где находятся клеммы. В данном случае проблема может быть решена путем заземления этого участка. В итоге помехи переходят на входную цепь и частота в приборе стабилизируется.
Погрешности измерений
Погрешность измерений вольтметра напрямую связана с При этом следует учитывать напряжение наводки на выходе. Чаще всего помехи общего вида изменяют параметры сопротивления. В результате данный показатель может значительно уменьшиться. На сегодняшний день имеется три проверенных способа борьбы с разного рода помехами в вольтметрах.
Второй способ заключается в наличие интегрирующего элемента. В результате период помехи можно значительно уменьшить. Наконец, последним приемом принято считать установку специальных фильтров на вольтметры. Основной их задачей является повышение сопротивления в электрической цепи. В результате амплитуда помехи на выходе после блока значительно уменьшается. Также следует отметить, что многие системы преобразователей способны значительно увеличить скорость измерений. Однако при повышении производительности снижается точность регистрации данных. В итоге такие преобразователи могут быть причиной больших помех в электрической цепи.
Кодоимпульсные вольтметры
Кодоимплульсный цифровой вольтметр переменного тока работает по принципу поразрядного уравновешивания. При этом к данным устройствам применим метод компенсационного измерения напряжения.
В целом, компенсированный ток имеет несколько уровней. Согласно квантовой теории, исчисления производят в двоично-десятичной системе. Если использовать двухразрядный цифровой вольтметр для автомобиля, то напряжение распознается до 100 В. Весь процесс при этом осуществляется по командам. Особого внимания в работе заслуживает сравнение напряжений. Основано оно на принципе управляющих импульсов, а происходят они в системе через определенные интервалы времени. При этом есть возможность проводить переключение сопротивления одного делителя.
В результате на выходе происходит изменение предельной частоты. Одновременно есть возможность подключать отдельное устройство для сравнения показателей. Главное, не забывать учитывать размер делителя в звене. При этом сигнал устройства может не поступать. В итоге данные можно сравнить по положениям ключей./c9f8417bdc1aafe.s.siteapi.org/img/1a99aa89edb7051954ecf3e90a152e0c8ffa5bf0.jpg)
Упрощенная схема кодоимпульсного вольтметра-амперметра
Цифровой вольтметр-амперметр постоянного тока схематически можно представить в виде взаимодействующих элементов электрической цепи. Наиболее важным является входное устройство, которое играет роль источника опорного напряжения. Таким образом, прецизионный делитель связан с прибором сравнения.
В свою очередь, механизмы цифрового отсчета показывают сопротивление электрической цепи. Далее управляющие устройства способны напрямую взаимодействовать с входным прибором и проводить сравнения показателей напряжения сети. Наиболее просто процесс измерения можно представить в виде весов. При этом в системе часто бывают сбои. Связаны они по большей мере из-за неправильного сравнения.
Точность измерений
Точность измерений вольтметра-амперметра напрямую связана со стабильностью опорного напряжения. Дополнительно должен быть учтен порог прецизионного делителя во входном устройстве.
Вольтметры с времяимпульсными типами преобразователей
Данные типы вольтметров используют специальные преобразователи, которые измеряют напряжение только в определенных интервалах времени. При этом учитываются импульсные колебания в электрической цепи. Дополнительно просчитывается средняя частота напряжения в системе. Для ее стабилизации, как правило, применяется дискретный сигнал, который посылается с выхода преобразователя.
При этом счетные импульсы способны значительно сократиться. На погрешность измерения вольтметров влияет множество факторов. В первую очередь это касается дискретизации сигнала. Также проблема может заключаться в нестабильности частоты. Связана она с порогом чувствительности электрической цепи. В результате сравнение напряжения устройством осуществляется нелинейно.
Простая схема вольтметра-амперметра с преобразователем
Цифровой вольтметр-амперметр с частотным преобразователем включает в обязательном порядке генератор, который следит за изменениями напряжения в электрической цепи. При этом измерение осуществляется поэтапно с интервалами. Генератор в электрической цепи используется линейного типа. Для сравнения полученных данных в устройстве имеется триггер. В свою очередь, для расчета частоты важно использовать счетчик, который принимает дискретный сигнал. Происходит это на выходе преобразователя вольтметра-амперметра. При этом учитывается величина предельного напряжения.
Непосредственно информация поступает на вход вольтметра-амперметра. На этом этапе осуществляется процесс сравнения, а когда возникает импульс, то система фиксирует нулевой уровень. Непосредственно сигнал в вольтметре-амперметре попадает на триггер, и в результате на выходе получается положительное напряжение. Возвращается импульс в исходное положение только после проведения устройством сравнения. При этом учитываются любые изменения предельной частоты, которые сформировались в данном промежутке времени. Также принимается во внимание коэффициент преобразования. Рассчитывается он исходя из показателя силы сигнала.
Дополнительно в формуле имеется счетный импульс, который появляется на выходе генератора. В результате напряжение может отображаться только при наличии определенных колебаний, которые возникают в электрической цепи. В конечном счете, сигнал должен дойти до выхода триггера и там считаться. При этом количество импульсов фиксируется в вольтметре-амперметре. Как результат, срабатывает индикатор, который оповещает о наличии напряжения.
Вольтметры двойного интегрирования
Цифровой вольтметр постоянного тока двойного интегрирования работает по принципу периодического повторения. При этом возврат исходного кода в цепи осуществляется автоматически. Работает данная система исключительно с постоянным током. При этом частота предварительно выпрямляется и подается на выходное устройство.
Погрешности дискретизации в вольтметрах не учитываются. Таким образом, могут возникнуть моменты несовпадений счетных импульсов. В результате на начало и конец интервала один параметр может сильно отличаться. Однако, как правило, погрешность не является критичной из-за работы преобразователя.
Особая проблема состоит именно в шумовой помехе. В результате она способна значительно искривить показатель напряжения. В конечном счете, это находит свое отображение в величине импульса, а именно его длительности. Таким образом, среди цифровых вольтметров данные типы не пользуются большой популярностью.
Придумать все самому не получается – пока знаний программирования микропроцессоров не достаточно (только учусь), а отставать не хочется. Серфинг Интернета дал несколько разных вариантов как по сложности схемотехники и выполняемых функций, так и самих процессоров. Анализ ситуации на местных радиорынках и трезвый подход (покупать то что по карману; делать то, что реально сможешь, а процесс изготовления да время настройки не затянется на неограниченное время) остановил мой выбор на схеме вольтметра описанного на www.
Итак, нижеприведенная принципиальная схема уже исправлена
. Прошивка осталась родная (main.HEX — приобщаю).
Те, кто процессоры «держит в руках часто» дальше могут не читать, а остальным, особенно кто в первый раз, расскажу, как все сделать хоть и не оптимально (да простят мне профессионалы стиль изложения), но в итоге правильно.
Итак, для справки: семейство процессоров РІC на 14 ножек имеют разную распиновку поэтому нужно проверить подходит ли имеющийся у Вас программатор с панельками под этот чип. Обратите внимание именно на 8-пиновую панельку, как правило, именно она и подходит, а крайние справа выводы просто висят. Я пользовался обычным программатором «PonyProg» .
Следует учесть при пограммировании РІС важно не затереть калибровочную константу внутреннего генератора чипа ибо внешний кварц здесь не используется. Она записана в последней ячейке (адресе) памяти процессора. Если использовать IcProg, выбрав тип МК, то в окне – «Адрес программного кода» в последней строке обозначенной адресом — 03F8 крайние справа четыре символа и есть указанная индивидуальная константа.
Чтобы расчет показаний вольтметра соответствовал истине, все сделать правильно и понять процесс происходящего предлагаю хоть не оптимальный но надеюсь понятный алгоритм:
Перед программированием МК, необходимо в IcProg сначала дать команду «Читать все» и посмотреть на вышеуказанную ячейку памяти – там будет значится индивидуальная константа этого чипа. Ее надо переписать на бумажку (в памяти не держать!- забудешь).
— загрузить программный файл прошивки МК – с расширением *.hex (в даном случае -«main.hex») и проверить какая константа записана в той же ячейке в данном программном продукте. Если она отличается – поставить курсор и ввести туда данные, ранее записанные на бумажке.
— нажимаем команду программировать — после появившегося вопроса типа: «использовать ли данные осцилятора из файла» – соглашаетесь. Ибо Вы уже проверили, что там то что надо.
Еще раз прошу прощения у тех, кто программирует много и так не делает, но я пытаюсь донести до начинающих информацию о достаточно важном программном элементе данного микропроцессора и не потерять его из-за разных иногда совсем непонятных, а то и необъяснимых потом ситуаций. Особенно если дрожащими от волнения руками воткнул чип в только что сооруженный и впервые соединенный с компом программатор и, волнуясь, нажимаешь кнопку программировать, а оное чудо техники начинает еще и непонятные вопросы задавать – вот тут то все неприятности и начинаются.
Итак, если все этапы пройдены верно, – микросхема МК готова к использованию. Дальше дело техники.
От себя хочу добавить, что транзисторы здесь не критичные – подходят любые р-n-р структуры, в т.ч. советские, в пластмассовом корпусе. Я использовал выпаянные из импортной бытовой техники после проверки на соответствие структуры проводимости. В этом случае присущ еще один нюанс – расположение вывода базы транзистора может быть по середине корпуса или с краю.
Как я уже писал у моего блока питания два плеча – поэтому сделал сразу два вольтметра на одной плате, а индикаторы вывел на отдельную плату для экономии места на лицевой панели. Развел под обычные элементы. Файлы с разводкой плат, исходник и hex прилагаются в архиве. У Вас — SMD, то переделать ее не трудно, если надо обращайтесь.
Для тех, кто захочет повторить этот вольтметр и имеет, как у меня, двухполярный блок питания с общей средней точкой — напоминаю о необходимости питания обоих вольтметров от двух отдельных (гальванически разделенных) источников.
Если кому понадобится и схема преобразователя, спрашивайте на форуме, я сейчас над этим вопросом работаю.
Архив с нужными даными и печатками в SLayout-5rus:
▼
⚖ 33,04 Kb ⋅ ⇣ 745
Как из вольтметра сделать амперметр схема
♦ В предыдущей статье: «Выпрямитель для зарядки аккумулятора « для контроля зарядного тока применяется амперметр на 5 — 8 ампер. Амперметр довольно дефицитная вещь и не всегда подберешь его на такой ток. Попробуем изготовить амперметр своими руками.
Для этого потребуется стрелочный измерительный прибор магнитно-электрической системы на любой ток полного отклонения стрелки по шкале.
Необходимо посмотреть, чтоб у него не было внутреннего шунта или добавочного сопротивления для вольтметра.
♦ Измерительный стрелочный прибор имеет внутреннее сопротивление подвижной рамки и ток полного отклонения стрелки. Стрелочный прибор может использоваться как вольтметр (добавочное сопротивление включается последовательно с прибором) и как амперметр (добавочное сопротивление включается параллельно с прибором).
♦ Схема для амперметра справа на рисунке.
Добавочное сопротивление — шунт рассчитывается по специальным формулам. Мы же изготовим его практическим путем, применив только калибровочный амперметр на ток до 5 — 8 ампер, или применив тестер, если он имеет такой предел измерения.
♦ Соберем несложную схему из зарядного выпрямителя, образцового амперметра, провода для шунта и заряжаемого аккумулятора. Смотрите рисунок.
♦ В качестве шунта можно использовать толстый провод из стали или меди.
Необходимо взять отрезок медного или стального провода длиной около 80 сантиметров, снять с него изоляцию. На двух концах отрезка сделать колечки для болтового крепления. Включить этот отрезок последовательно в цепь с образцовым амперметром.
Один конец от нашего стрелочного прибора припаять к концу шунта, а другим проводить по проводу шунта. Включить питание, установить регулятором или тумблерами ток заряда по контрольному амперметру — 5 ампер.
Начиная от места пайки, другим концом от стрелочного прибора проводить по проводу. Установить одинаковые показания обоих амперметров. В зависимости от сопротивления рамки вашего стрелочного прибора, разные стрелочные приборы будут иметь разную длину провода шунта, иногда до одного метра.
Это конечно не всегда удобно, но если у вас будет свободное место в корпусе, можно аккуратно разместить.
♦ Провод шунта можно смотать в спираль как на рисунке, или еще как нибудь по обстоятельствам. Витки немного растянуть, чтоб не касались друг друга или надеть колечки из хлорвиниловой трубочки по всей длине шунта.
♦ Можно предварительно определить длину провода шунта, а потом вместо голого применить провод в изоляции и намотать уже в навал на заготовку.
Подбирать надо тщательно, проделывая все операции несколько раз, тем точнее будут показания вашего амперметра.
Соединительные провода от прибора необходимо обязательно припаивать непосредственно к шунту, иначе будут неправильные показания стрелки прибора.
♦ Соединительные провода могут быть любой длины, а потому шунт может быть расположен в любом месте корпуса выпрямителя.
♦ Необходимо подобрать шкалу к амперметру. Шкала у амперметра для измерения постоянного тока равномерная.
Один из вариантов шкалы смотрите на рисунке:
Тут можно сделать шкалу на 5 ампер, на 8 ампер или на полное отклонение стрелки до 10 ампер.
Могут быть другие шкалы, на другие цифры по шкале.
А можно подрисовать свои цифры.
Нужно немного пофантазировать.
Такой амперметр подойдет только для измерения постоянного или пульсирующего тока.
Рассмотрены не сложные схемы цифровых вольтметра и амперметра, построенных без использования микроконтроллеров на микросхемах СА3162, КР514ИД2. Обычно, у хорошего лабораторного блока питания есть встроенные приборы, – вольтметр и амперметр. Вольтметр позволяет точно установить выходное напряжение, а амперметр покажет ток через нагрузку.
В старых лабораторных блоках питания были стрелочные индикаторы, но сейчас должны быть цифровые. Сейчас радиолюбители чаще всего делают такие приборы на основе микроконтроллера или микросхем АЦП вроде КР572ПВ2, КР572ПВ5.
Микросхема СА3162Е
Но существуют и другие микросхемы аналогичного действия. Например, есть микросхема СА3162Е, которая предназначена для создания измерителя аналоговой величины с отображением результата на трехразрядном цифровом индикаторе.
Микросхема СА3162Е представляет собой АЦП с максимальным входным напряжением 999 mV (при этом показания «999») и логической схемой, которая выдает сведения о результате измерения в виде трех поочередно меняющихся двоично-десятичных четырехразрядных кодов на параллельном выходе и трех выходах для опроса разрядов схемы динамической индикации.
Чтобы получить законченный прибор нужно добавить дешифратор для работы на семисегментный индикатор и сборку из трех семисегментных индикаторов, включенных в матрицу для динамической индикации, а так же, трех управляющих ключей.
Тип индикаторов может быть любым, -светодиодные, люминесцентные, газоразрядные, жидкокристаллические, все зависит от схемы выходного узла на дешифраторе и ключах. Здесь используется светодиодная индикация на табло из трех семисегментных индикаторов с общими анодами.
Индикаторые включены по схеме динамической матрицы, то есть, все их сегментные (катодные) выводы включены параллельно. А для опроса, то есть, последовательного переключения, используются общие анодные выводы.
Принципиальная схема вольтметра
Теперь ближе к схеме. На рисунке 1 показана схема вольтметра, измеряющего напряжение от 0 до 100V (0. 99,9V). Измеряемое напряжение поступает на выводы 11-10 (вход) микросхемы D1 через делитель на резисторах R1-R3.
Конденсатор СЗ исключает влияние помех на результат измерения. Резистором R4 устанавливают показания прибора на ноль, при отсутствии входного напряжения А резистором R5 выставляют предел измерения так чтобы результат измерения соответствовал реальному, то есть, можно сказать, им калибруют прибор.
Рис. 1. Принципиальная схема цифрового вольтметра до 100В на микросхемах СА3162, КР514ИД2.
Теперь о выходах микросхемы. Логическая часть СА3162Е построена по логике ТТЛ, а выходы еще и с открытыми коллекторами. На выходах «1-2-4-8» формируется двоичнодесятичный код, который периодически сменяется, обеспечивая последовательную передачу данных о трех разрядах результата измерения.
Если используется дешифратор ТТЛ, как, например, КР514ИД2, то его входы непосредственно подключаются к данным входам D1.
Выходы дешифратора D2 через токоограничивающие резисторы R7-R13 подключены к сегментным выводам светодиодных индикаторов Н1-НЗ. Одноименные сегментные выводы всех трех индикаторов соединены вместе. Для опроса индикаторов используются транзисторные ключи VT1-VT3, на базы которых подаются команды с выходов Н1-НЗ микросхемы D1.
Эти выводы тоже сделаны по схеме с открытым коллектором. Активный ноль, поэтому используются транзисторы структуры р-п-р.
Принципиальная схема амперметра
Схема амперметра показана на рисунке 2. Схема практически такая же, за исключением входа. Здесь вместо делителя стоит шунт на пятиваттном резисторе R2 сопротивлением 0,1 От. При таком шунте прибор измеряет ток до 10А (0. 9.99А). Установка на ноль и калибровка, как и в первой схеме, осуществляется резисторами R4 и R5.
Рис. 2. Принципиальная схема цифрового амперметра до 10А и более на микросхемах СА3162, КР514ИД2.
Выбрав другие делители и шунты можно задать другие пределы измерения, например, 0. 9.99V, 0. 999mA, 0. 999V, 0. 99.9А, это зависит от выходных параметров того лабораторного блока питания, в который будут установлены эти индикаторы. Так же, на основе данных схем можно сделать и самостоятельный измерительный прибор для измерения напряжения и тока (настольный мультиметр).
При этом нужно учесть, что даже используя жидкокристаллические индикаторы прибор будет потреблять существенный ток, так как логическая часть СА3162Е построена по ТТЛ-логике. Поэтому, хороший прибор с автономным питанием вряд ли получится. А вот автомобильный вольтметр (рис.4) выйдет неплохой.
Питаются приборы постоянным стабилизированным напряжением 5V. В источнике питания, в который будут они установлены, необходимо предусмотреть наличие такого напряжения при токе не ниже 150mA.
Подключение прибора
На рисунке 3 показана схема подключения измерителей в лабораторном источнике.
Рис. 3. Схема подключения измерителей в лабораторном источнике.
Рис.4. Самодельный автомобильный вольтметр на микросхемах.
Детали
Пожалуй, самое труднодоставаемое – это микросхемы СА3162Е. Из аналогов мне известна только NTE2054. Возможно есть и другие аналоги, о которых мне не известно.
С остальным значительно проще. Как уже сказано, выходную схему можно сделать на любом дешифраторе и соответствующих индикаторах. Например, если индикаторы будут с общим катодом, то нужно КР514ИД2 заменить на КР514ИД1 (цоколевка такая же), а транзисторы VТ1-VТЗ перетащить вниз, подсоединив их коллектора к минусу питания, а эмиттеры к общим катодам индикаторов. Можно использовать дешифраторы КМОП-логики, подтянув их входы к плюсу питания при помощи резисторов.
Налаживание
В общем-то оно совсем несложное. Начнем с вольтметра. Сначала замкнем между собой выводы 10 и 11 D1, и подстройкой R4 выставим нулевые показания. Затем, убираем перемычку, замыкающую выводы 11-10 и подключаем к клеммам «нагрузка» образцовый прибор, например, мультиметр.
Регулируя напряжение на выходе источника, резистором R5 настраиваем калибровку прибора так, чтобы его показания совпадали с показаниями мультиметра. Далее, налаживаем амперметр. Сначала, не подключая нагрузку, регулировкой резистора R5 устанавливаем его показания на ноль. Теперь потребуется постоянный резистор сопротивлением 20 От и мощностью не ниже 5W.
Устанавливаем на блоке питания напряжение 10V и подключаем этот резистор в качестве нагрузки. Подстраиваем R5 так чтобы амперметр показал 0,50 А.
Можно выполнить калибровку и по образцовому амперметру, но мне показалось удобнее с резистором, хотя конечно на качество калибровки очень влияет погрешность сопротивления резистора.
По этой же схеме можно сделать и автомобильный вольтметр. Схема такого прибора показана на рисунке 4. Схема от показанной на рисунке 1 отличается только входом и схемой питания. Этот прибор теперь питается от измеряемого напряжения, то есть, измеряет напряжение, поступающее на него как питающее.
Напряжение от бортовой сети автомобиля через делитель R1-R2-R3 поступает на вход микросхемы D1. Параметры этого делителя такие же как в схеме на рисунке 1, то есть для измерения в пределах 0. 99.9V.
Но в автомобиле напряжение редко бывает более 18V (больше 14,5V уже неисправность). И редко опускается ниже 6V, разве только падает до нуля при полном отключении. Поэтому прибор реально работает в интервале 7. 16V. Питание 5V формируется из того же источника, с помощью стабилизатора А1.
Шунт для амперметра. Или как сделать вольтметр из амперметра и наоборот.
Эту статью я решил написать, когда делал источник питания для своей домашней лаборатории. Из собственного опыта замечено, что на регулируемом блоке питания должен быть вольтметр, для оценки устанавливаемого напряжения. А так же амперметр, для приблизительной оценки тока потребляемого нагрузкой. Решено в новый источник питания установить эти полезные элементы: вольтметр и амперметр.
Сначала сделаем вольтметр из амперметра
Итак, перейдем к расчетам.
Самое простое сделать вольтметр из амперметра, я использую второй амперметр. Для расчетов нам понадобятся: максимальный ток отклонения стрелки – в моем случае 30мА, Максимальное напряжение, которое должен измерять наш вольтметр – 30В.
Используя закон Ома находим сопротивление: R=U/I, R=1кОм.
Значит шунт (резистор) сопротивлением 1кОм нужно подключить последовательно с амперметром. При этом мы получим вольтметр. Т.е. если через такую последовательную цепь будет протекать ток в 30мА, то падение напряжения на этом резисторе равно 30В. В моем случае мне даже не нужно изменять шкалу прибора, достаточно наклеить букву «V», чтобы было понятно, что это вольтметр.
Следует помнить, что через такой вольтметр всегда будет течь ток 0-30мА, в зависимости от измеряемого напряжения от 0-30В. А так как он используется в блоке питания это не критично. Так же не следует забывать, что резистор должен быть подходящей можности, которую определим по формуле P = I*I*R получим P=30мА*30мА*1кОм=0,9Вт ставим с запасом не меньше 1Вт.
Надо ещё учесть внутреннее сопротивление прибора. Тогда добавочный резистор считается так: Rд=Uп/Iи-Rи.
Rд – сопротивление добавочного резистора;
Uп – макс. значение выбранного предела измерения напряжения;
Iи – ток полного отклонения выбранного амперметра;
Rи – внутреннее сопротивление (рамки прибора) выбранного амперметра, оно указывается.
Делаем амперметр из амперметра у которого маленькая шкала.
У первого амперметра шкала 50мкА это очень мало, мне нужно 1,5А. Чтобы расширить диапазон измерения амперметра, нужно установить шунт, но не последовательно, а параллельно с измерительной головкой. Получается ток будет разветвляться и одна часть потечет через амперметр, а другая через сопротивление. Нужно подобрать такое сопротивление, чтобы ток в 1,5А делился на два, 50мкА через амперметр, а остальной ток через резистор.
Для расчетов понадобится знать сопротивление амперметра, но так как его я не знаю, то шунт буду изготавливать методом подгона. Для этого нужно взять медную проволоку диаметром 0,8-1мм длинной 1 метр и измерить ток, при котором стрелка отклоняется в крайнее положение.
Для этого понадобится регулируемый источник напряжения и нагрузка, я использовал автомобильную лампочку. Далее таким образом подгоняем шунт увеличивая длину проволоки если нужно уменьшить максимальный ток или укорачиваем проволоку если нужно увеличить максимальное значение шкалы амперметра.
У меня получился вот такой шунт в четыре слоя. Края я проклеил силиконовым клеем.
Следует помнить, что если случайно оторвется шунт, то через микроамперметр потечет большой ток и он выйдет из строя.
Амперметр из вольтметра делается по аналогии с первым вариантом, только шунт устанавливается не последовательно а параллельно. Также бывает, что в вольтметрах устанавливаются внутренние резисторы, убрав которые можно получить амперметр.
Следует помнить что амперметр должен иметь минимальное сопротивление, а вольтметр должен обладать очень высоким сопротивлением.
Переделка вольтметра с AliExpress в амперметр.
Заказал себе пару цифровых мини вольтметров. Пришли через месяц в пупырке и антистатических пакетах. Проверил все рабочие в о общем все нормально. Мне были нужны небольшие размеры корпуса вольтметра для изготовления измерительного мини стенда.
Технические характеристики от продавца:
Цвет дисплея: красный
Два провода диапазон измерения: DC 4.7 ~ 32 В
Рабочий ток:
Рабочая температура:-10с+65c
Два провода связи, с обратной полярности защиты
Размер: 21.5x13x8 мм (l * W * h)
Скорость: около 200 мс/время
Режим отображения: три цифры
При тестировании светодидов, драйверов к ним, и других самоделок необходимо измерять в реальном времени напряжение и силу тока на нагрузке. Обычно мне надо подключать два мультиметра, Чтобы на столе уменьшить количество проводов решил сделать из этих мини вольтметров стендик.
Предварительно выпаял перемычку между измерительным контактом и плюсом питания, впаял зеленый провод (измерительный).В принципе в таком режиме при подключении стороннего источника питания данный вольтметр может измерять напряжение до 99,9В. Но задача сейчас в этом не стояла-мне нужно было переделать его в амперметр.
Выпаиваем перемычку.
Припаиваем измерительный зеленый провод.
Далее мотаем из нихрома измерительный шунт (у меня вышло примерно 2 Ома). Сравнивал показания по мультиметру при одинаковой нагрузке. И собираем схему.
Результат меня вполне устроил. На рабочем столе освободилось много места, уменьшилось количество проводов, намного легче стало работать.Я не гонюсь за прецезионной точностью, в домашних условиях этого и не нужно.
Из плюсов –неплохая точность показаний этого вольтметра, хорошо видно показания при слабой освещенности, небольшие габариты, приемлемая цена.
Этот стенд заменяет два мультиметра.
Показания при выключенном освещении.
А уж куда применить этот приборчик –в блок питания, зарядное устройчтво или в автомобиль и т.п., решайте сами в зависимости от ваших потребностей.
Подробнее можно посмотреть на видео. www.youtube.com/watch?v=Uno0-6QPG20
Как добавить амперметр в китайский вольтметр
Получил с AliExpress парочку электронных встраиваемых вольтметров модели V20D-2P-1.1 (измерение постоянного напряжения), цена вопроса 91 цент штука. В принципе можно сейчас и дешевле найти (если хорошо поискать), но не факт что это не будет в ущерб качеству сборки прибора. Вот его характеристики:
- рабочий диапазон 2,5 В — 30 В
- цвет свечения красный
- габаритный размер 23 * 15 * 10 мм
- дополнительного питания не требует (двухпроводной вариант)
- есть возможность подстройки
- частота обновления: около 500 мс/время
- обещанная точность измерения: 1% (+/-1 разряд)
И всё было бы хорошо, поставил по месту и пользовался, да попалась на глаза информация о возможности их доработки – добавление функции измерения тока.
Цифровой китайский вольтметр
Приготовил всё необходимое: двухполюсной тумблер, выводные резисторы – один МЛТ-1 на 130 кОм и второй проволочный на 0,08 Ом (изготовил из нихромовой спирали диаметром 0,7 мм). И целый вечер согласно найденной схемы и руководства по её реализации соединял это хозяйство проводами с вольтметром. Безрезультатно. То-ли догадливости в понимании недосказанного и недочерченного в найденном материале не хватило, то ли имели место отличия в схемах. Вольтметр не работал никак вообще.
Подключаем модуль цифровой вольтметр
Пришлось выпаивать индикатор и изучать схему. Тут уже требовался не маленький паяльник, а махонький, так, что повозился изрядно. Зато в течении следующих пяти минут, когда вся схема стала доступна обзору, всё–всё понял. В принципе знал, что с этого и нужно начинать, но уж очень хотелось решить вопрос «по лёгкому».
Схема доработки V-метра
Схема доработки: амперметр в вольтметр
Так родилась эта схема соединения дополнительных электронных компонентов с уже существующими в схеме вольтметра. Отмеченный синим цветом штатный резистор схемы подлежит обязательному удалению. Скажу сразу отличия от других схем приведённых в интернете нашёл, например соединение подстроечного резистора. Всю схему вольтметра перерисовывать не стал (повторять не собираюсь), начертил только ту часть, которая необходима для доработки. То, что питание вольтметра нужно делать отдельным считаю очевидным, всё-таки начало отсчёта в показаниях должно начинаться с нуля.
Плата — модуль китайский вольтметр
После сборки вольтметра взялся за суть действа. Мудрствовать не буду, просто покажу и расскажу, что с чем соединить, чтобы всё получилось.
Пошаговая инструкция
Итак, действие первое – из схемы выпаивается СМД резистор сопротивлением 130 кОм стоящий на входе плюсового провода питания, между диодом и подстроечным резистором 20 кОм.
Подключаем резистор в вольтметр-амперметр
Второе. На освободившейся контакт, со стороны подстроечника припаивается провод желаемой длины (для пробы удобно 150 мм и лучше красного цвета)
Выпаять СМД резистор
Третье. На дорожку соединяющую резистор 12 кОм и конденсатор, с «земляной» стороны припаивается второй провод (например синий).
Испытание новой схемы
Теперь согласно схемы и этого фото «вешаем» на вольтметр дополнение: тумблер, предохранитель и два резистора.
Блок вольтметр переделываем в А-метр
А вот тут проводов побольше, хотя всё и просто:
«полезная нагрузка» — парой соединительных проводов подсоединён э/двигатель
«отдельное питание вольтметра» — аккумулятор с ещё двумя проводами
«выход блока питания» — ещё парочка проводов
После подачи питания на вольтметр сразу высветилось «0,01», после подачи питания на электродвигатель измеритель в режиме вольтметра показал напряжение на выходе блока питания равное 7 вольтам, затем переключил в режим амперметра. Переключение производил при отключении подачи питания на нагрузку. В дальнейшем вместо тумблера поставлю кнопку без фиксации, так безопасней для схемы и удобней для эксплуатации. Порадовало то, что всё заработало с первой попытки. Однако показания амперметра были отличные от показаний на мультиметре больше чем в 7 раз.
Китайский вольтметр — амперметр после переделки
Тут и выяснилось, что проволочный резистор вместо рекомендованного сопротивления 0,08 Ом имеет 0,8 Ом. Ошибся в измерении при его изготовлении в подсчёте нулей. Вышел из положения так: крокодил с минусовым проводом с нагрузки (оба чёрные) подвинул по распрямлённой нихромовой спирали в сторону входа с блока питании, тот момент, когда показания мультиметра и доработанного теперь уже ампервольтметра совпали и стали моментом истины. Сопротивление задействованного участка нихромовой проволоки составило 0,21 Ом (мерил приставкой к мультиметру на пределе «2 Ом»). Так что это даже и не плохо получилось, что вместо 0,08 резистор получился 0,8 Ом. Тут как не считай, по формулам, всё равно придётся подгонять. Для наглядности результат своих хлопот записал на видеоролик.
Видео
Приобретение данных вольтметров считаю удачным, вот только жаль, что их нынешняя цена в том магазине сильно выросла, без малого 3 доллара за штуку.
Вольтметр и амперметр
Основное назначение измерительных модулей
Самыми известными измерительными приборами, которые используются как в бытовых, так и в производственных условиях считаются вольтметр и амперметр. Главная их функция — это получения известных параметров электрического тока. Исходя из названия описываемых приборов можно сделать вывод какие именно измерения ими можно проводить. Если это вольтметр, то его задачей является измерение напряжения и так называемой электродвижущей силы. Именно такое определение и заключат в себе Вольт. В случае с амперметром — это I или сила тока в рабочей электрической цепи.
У вольтметра практически всегда большее сопротивление обмоток в. Это существенное имеющиеся в конструкции отличие от амперметра. Существует и иной вариант, когда имеет место наличие дополнительного сопротивления в принципиальной, технической схеме. Выглядит это так:
Точность измерений
Если говорить о конструктивном исполнении двух приборов, то внешнее их сходство очевидно.
Совершенно противоположный рабочий принцип положен в устройство вольтметров. Здесь для того чтобы электрическое напряжение гарантировано было стабильным, приходиться производить значительное уменьшение параметра I (силы тока). Опять же согласно существующей теории для максимально точных показаний снимаемых с прибора придётся создать особые условия. Они должны позволить сопротивлению у вольтметра стремиться к бесконечности. Сделать это на практике также сложно. Но вывод здесь один — точность проводимых измерений напряжения вольтметром напрямую зависит от параметра сопротивления (чем он выше, тем лучше).
Методы подключения
Важно упомянуть о том, что способы подключения обычного амперметра и вольтметра несхожи. Они принципиально отличаются между собой. Это обусловлено прежде всего разными конструктивными особенностями. Выполняемые задачами также не имеют сходства. Так, вольтметр подключается при соблюдении принципа параллельности относительно измеряемого участка электрической цепи.
Обязательно необходимо запомнить, что амперметр может выйти из строя по причине внезапного короткого замыкания. Возникнуть такая ситуация может из-за подключения прибора напрямую к источнику питания. Делать это строго запрещено. А вот поступить таким образом с вольтметром уже можно. Его подсоединение к открытым выводам (например, контактным клеммам) электрического тока КТ (короткого замыкания) не спровоцирует.
Как подключить амперметр переменного тока?
Смотрите также обзоры и статьи:
Чтобы узнать, как подключать амперметр переменного тока к сети или к лабораторному блоку питания, необходимо для начала понять, что представляет собой данный прибор, как выглядит и какие функции исполняет.
Что такое амперметр?
Это универсальный прибор, как аналоговой, так и цифровой индикации, которым определяется значение силы АС/DC. Чаще всего (в простых моделях) – постоянного значения до 10 ампер. Однако есть и те модели, которые отлично справляются с измерением постоянного тока.
На аналоговых результат выдается в виде колебаний стрелкой на линейно-радиальной шкале. Измерения происходят плавно. А вот цифровой, который больше похож на небольшой электронный термометр с жидкокристаллическим дисплеем и контактным щупом, измеряет силу AC/DC рывкообразно, поэтому необходимо следить за устройством и вовремя запомнить и «словить» наивысший показатель, который и будет соответствовать искомому значению.
Принцип действия амперметров
Чтобы подключать амперметр постоянного тока, нужно знать несколько особенностей об этих измерительных приборах.
Как минимум то, что эффективное значение силы переменного тока измеряют электромагнитными амперметры, принцип действия которых такой же, как и магнитоэлектрических, а разница лишь в том, что рамка и магнит в них поменяны местами и вторые более точные и предназначены для измерения только постоянных токов (одного направления).
Теория и практика дают одинаковый результат, эффективное значение силы синусоидального тока в SQRT в два раза меньше максимального значения.
Поэтому очевидно, что выпрямленный синусоидальный переменный является постоянным пульсирующим током с таким же эффективным значением, как и переменное, которое можно измерить магнитоэлектрическим амперметром с достаточно высокой точностью.
Опираясь на вышесказанное, можно сделать вывод, что ток, который выходит из штатного РР кабовского двигателя успешно можно измерять учебным лабораторным амперметром со шкалой 2А и точностью близкой к 0,08А.
Амперметр покажет эффективное значение, ведь важно знать количество электричества, которое пройдет через аккумулятор.
Вольтметр в моменты остановок информируют о степени зарядки. AC/DC от РР постоянный пульсирующий. В таких случаях магнитоэлектрические приборы вследствие инерционности механики показывают не пиковые значения, а промежуточные — равные по воздействию и значению соответствующем постоянному току.
Измерительные приборы не относятся к потребителям тока. Активное сопротивление магнитоэлектрического прибора если и выполняет какую-то роль, то только «вредную» — от нагрева рамка и ось прибора расширяются, что снижает точность измерений.
Чтобы проверить устройство, можно попробовать к нему подключать мощный светодиод и наблюдать, как изменяется значение силы АС/DC в переменной лямбде. Если самостоятельно данный процесс не выходить реализовать – рекомендуем обратиться к специалистам, ведь неосторожное обращение с электричеством заканчивается плачевно!
ПОДХОДЯЩИЕ ТОВАРЫ
Поделиться в соцсетях
Схема амперметра на светодиодах (светодиодный индикатор тока)
Цифровой амперметр на светодиодах – удобный способ отображения информации, при котором имеет значение не только модуль измеряемой величины (что, кстати, значительно удобнее определять не по отклонению стрелочного индикатора, а по величине столбчатой диаграммы, или при помощи мини-дисплея), но и частоту изменения этого параметра.
Описание схемы
Светодиоды не отличаются большой мощностью, но использовать их в слаботочных электрических цепях допустимо и целесообразно. В качестве примера можно рассмотреть схему получения цифрового амперметра для определения силы тока в аккумуляторной батарее автомобиля, при номинальном диапазоне значений в 40…60 мА.
Вариант внешнего вида амперметра на светодиодах в столбик
Количество использованных светодиодов определит пороговое значение тока, при котором в работу будет включаться один из светодиодов. В качестве операционного усилителя можно использовать LM3915, либо подходящий по параметрам микроконтроллер. На вход будет подаваться напряжение через любой низкоомный резистор.
Удобно отражать результаты измерения в виде столбчатой диаграммы, где весь, практически используемый диапазон тока будет разделяться на несколько сегментов по 5…10 мА. Плюсом LED является то, что в схеме можно использовать элементы разного цвета – красного, зелёного, синего и т.д.
Для работы цифрового амперметра потребуются следующие компоненты:
- Микроконтроллер типа PIC16F686 с АЦП на 16 бит.
- Настраиваемые джамперы для выхода конечного сигнала. Можно, как альтернативу, применить DIP-переключатели, которые используются в качестве электронных шунтов или сигнальных замыканий в обычных электронных цепях.
- Источник питания постоянного тока, который рассчитан на рабочее напряжение от 5 до 15 В (при наличии стабильного напряжения, что контролируется вольтметром, подойдёт и 6 В).
- Контактная плата, где можно разместить до 20 светодиодов типа SMD.
Электрическая схема амперметра на LED источниках
Последовательность размещения и монтажа амперметра
Входной сигнал по току (не более 1 А) подаётся от стабилизированного блока питания через шунтирующий резистор, допустимое напряжение на котором не должно быть более 40…50 В. Далее, проходя через операционный усилитель, сигнал поступает на светодиоды. Поскольку значение тока во время прохождения сигнала изменяется, то соответственно будет изменяться и высота столбика. Управляя током нагрузки, можно регулировать высоту диаграммы, получая результат с различной степенью точности.
Монтаж платы с SMD-компонентами, по желанию пользователя, можно размещать либо горизонтально, либо вертикально. Смотровое окошко перед началом тарировки необходимо перекрывать тёмным стеклом (подойдёт фильтр с кратностью 6…10х от обычной сварочной маски).
Тарировка цифрового амперметра состоит в подборе минимального значения нагрузки по току, при которой светодиод будет светиться. Варьирование настройки производится экспериментально, для чего в схеме предусматривается резистор с небольшим (до 100 мОм) сопротивлением. Погрешность показаний такого амперметра обычно не превышает нескольких процентов.
Вы знали, что можно переделать старый вольтметр в амперметр? Как это сделать — смотрите видео:
Как настраивать регулировочный резистор
Для этого последовательно устанавливают силу тока, которая проходит через определённый светодиод.
Практическим плюсом изготовления прибора своими руками (светодиодов не должно быть менее четырёх) является устойчивость схемы при значительных изменениях первоначально заданного диапазона силы тока. В отличие от обычных диодов, которые при коротком замыкании выйдут из строя, светодиоды просто не загораются.
Св-диоды как измерители тока в аккумуляторной батарее автомобиля, не только экономят заряд и сохраняют аккумуляторы, но и позволяют более удобным способом считывать показания.
Аналогичным образом можно построить и цифровой вольтметр. В качестве источников света для такого варианта применения подойдут элементы на 12 В, а наличие дополнительного шунта в схеме вольтметра позволит более рационально использовать всю высоту столбчатой диаграммы.
Понравилась статья? Расскажите о ней! Вы нам очень поможете:)
Материалы по теме:
Измерение тока
— Почему мы хотим преобразовать вольтметр в амперметр или наоборот?
Приборы с подвижной катушкой — это приборы для измерения чистого тока: катушка находится внутри магнитного поля, поэтому ток вызывает в ней импульс. Поскольку катушка может двигаться, она следует этому импульсу, но есть также пружина, создающая противодействие. Таким образом, катушка поворачивается только на определенный угол, который зависит от силы тока. Игла, прикрепленная к катушке, позволяет считывать ток, соответствующий этому углу.
Если вы хотите измерить напряжение, вы можете подключить резистор последовательно с прибором. Напряжение вызывает определенный ток, который затем измеряется.
С другой стороны, измерительное устройство внутри цифрового мультиметра (DMM) — это устройство для измерения чистого напряжения.
Если вы хотите измерить токи, вы вставляете резистор в линию и измеряете падение напряжения на нем.
Дело в том, что у устройства обычно есть определенный диапазон.Вам нужна схема, чтобы сопоставить входной диапазон и тип (напряжение, ток) с диапазоном и типом, принятыми измерительным устройством.
Наконец, ваш вопрос:
Почему в лабораторных экспериментах мы хотим преобразовать вольтметр в амперметр и наоборот? Какова наша главная цель здесь, что мы делаем?
Во-первых, я надеюсь, вы знаете разницу между напряжением и током, и что вы обычно не можете получить одно из другого.Вы определенно хотите иметь возможность измерить и то, и другое.
Обычно у вас нет вольтметра или амперметра, но есть устройство, в котором вы можете выбрать тип входа и диапазон. Так что обычно нет необходимости переделывать его самостоятельно!
Иногда невозможно измерить желаемый тип. Например, невозможно вставить амперметр в дорожку на печатной плате. В этом случае вы можете измерить падение напряжения на резисторе на вашей печатной плате и самостоятельно преобразовать его в ток.
Я помню, что у нас был чистый амперметр, который может измерять некоторые пикоампера с высокой точностью.Если вы хотите измерить несколько микровольт, стандартный вольтметр может не измерить их точно. А вот этот амперметр был бы, если преобразовать его в вольтметр резистором.
Однако вы, возможно, самостоятельно переделали свое устройство во время практического курса, чтобы узнать, как оно работает. И у каждого устройства есть свои недостатки (вольтметры не должны потреблять ток, но они есть. Амперметры не должны падать напряжение, но они это делают), и вы, возможно, исследовали это во время курса.
Переделка гальванометра в амперметр и вольтметр | Примечания, видео, контроль качества и тесты | 12 класс> Физика> Схема постоянного тока
Преобразование гальванометра в амперметр и вольтметр
Преобразование гальванометра в амперметр и вольтметр
Преобразование гальванометра в амперметр
преобразование гальванометра в амперметр
Амперметр — это прибор, используемый для измерения тока, проходящего через цепь. Гальванометр можно превратить в амперметр, подключив параллельно гальванометру низкоомный шунт.
Пусть G — сопротивление гальванометра, I — максимальный ток, измеряемый амперметром, а I g — максимальный ток, который может пройти через гальванометр. Тогда (I-I g ) — это ток, проходящий через шунт, S.
Поскольку G и S соединены параллельно,
begin {align *} : text {p.d. поперек S} = text {p.d. поперек G} (I — I_g) S & = I_g G S & = frac {I_g} {I — I_g} times G end {align *}
Это значение шунта, который подключен параллельно гальванометру, и это соединение преобразуется в амперметр диапазона (0 — I) ампер. Эффективное сопротивление амперметра R A равно
begin {align *} frac {1} {R_A} & = frac {1} {G} + frac {1} {S} text {or} : R_A & = frac {GS} {G + S} end {align *}
Итак, сопротивление амперметра меньше, чем S.Поскольку S имеет низкое сопротивление, сопротивление амперметра R A очень низкое, и когда он включен в цепи последовательно, это не повлияет на ток, проходящий через цепь.
Преобразование гальванометра в вольтметр
Преобразование гальванометра в вольтметр
Вольтметр — это устройство, используемое для измерения разности потенциалов между двумя точками в цепи. Гальванометр можно преобразовать в вольтметр, подключив последовательно к гальванометру резистор с высоким сопротивлением, называемый умножителем.
Пусть G — сопротивление гальванометра, а I g — максимальное отклонение гальванометра. Чтобы измерить максимальное напряжение V с помощью вольтметра, последовательно подключают высокое сопротивление R. Итак,
begin {align *} V & = I_g (R + G) text {или,} : I_g R & = V — I_g G text {or,} : R & = frac {V} {I_g} — G end {align *}
Это уравнение дает значение сопротивления R, которое последовательно подключено к гальванометру и преобразуется в вольтметр с диапазоном 0 — В вольт.Эффективное сопротивление вольтметра R v = R + G. Поскольку R высокое, сопротивление вольтметра R v высокое и он не будет потреблять много тока из цепи.
Омметр
Омметр
Омметр — это устройство, которое используется для измерения сопротивления. Он состоит из измерителя, резистора и источника, подключенных последовательно, как показано на рисунке. Измеряемое сопротивление R подключается между клеммами x и y. Серия R переменная, она регулируется так, чтобы при коротком замыкании клемм x и y (т.е.е. когда R = 0), счетчик отклоняется на полную шкалу. Когда к клеммам x и y ничего не подключено, так что цепь между x и y разомкнута (т.е. когда R → ∞), нет тока и отклонения. Для любого значения R отклонение измерителя зависит от значения R, и шкала измерителя может быть откалибрована для чтения сопротивления, поэтому эта шкала показывает обратное значение по сравнению со шкалой, показывающей ток.
Делитель потенциала
Делитель потенциала
Делитель потенциала — это набор резисторов, включенных последовательно через заданную p.d. чтобы обеспечить известную долю разности потенциалов. На рисунке показан делитель потенциала с сопротивлением R 1 и R 2 поперек п.
begin {align *} text {Текущий ток, I в цепи определяется как} I & = frac {V} {R_1 + R_2} text {Тогда p.d. по горизонтали,} : R_1, V_1 = IR_1 = frac {R_1} {R_1 + R_2} V text {Доля V, полученная по ширине} : R_1 text {is} : frac {R_1} { R_1 + R_2} text {If} : R_1 = 10 mho text {и} : R_2 = 90 mho, text {then} : V_1 = frac {10} {90 + 10} V = frac {10 V} {100} = frac {V} {10} end {align *}
В качестве делителя потенциала можно использовать резистор со скользящим контактом, как показано на рисунке.Такое расположение обеспечивает непрерывно изменяемый p.d. от нуля до полной стоимости предложения.
Ссылка
Ману Кумар Хатри, Манодж Кумар Тапа, Бхеша Радж Адхикари, Арджун Кумар Гаутам, Парашу Рам Пудел. Принципы физики . Катманду: публикация Ayam PVT LTD, 2010.
S.K. Гаутам, Дж. М. Прадхан. Учебник по физике . Катманду: публикация Сурьи, 2003.
.
21.4 Вольтметры и амперметры постоянного тока — College Physics: OpenStax
Сводка
- Объясните, почему вольтметр нужно подключать параллельно цепи.
- Нарисуйте схему, показывающую правильно подключенный амперметр в цепь.
- Опишите, как гальванометр можно использовать как вольтметр или амперметр.
- Найдите сопротивление, которое необходимо включить последовательно с гальванометром, чтобы его можно было использовать в качестве вольтметра с заданными показаниями.
- Объясните, почему измерение напряжения или тока в цепи никогда не может быть точным.
Вольтметры измеряют напряжение, а амперметры измеряют ток.Некоторые измерители в автомобильных приборных панелях, цифровых камерах, сотовых телефонах и тюнерах-усилителях являются вольтметрами или амперметрами. (См. Рис. 1.) Внутренняя конструкция простейшего из этих счетчиков и то, как они подключены к системе, которую они контролируют, позволяют лучше понять применение последовательного и параллельного подключения.
Рис. 1. Датчики топлива и температуры (крайний правый и крайний левый, соответственно) в этом Volkswagen 1996 года представляют собой вольтметры, которые регистрируют выходное напряжение «передающих» устройств, которое, как мы надеемся, пропорционально количеству бензина в баке и температура двигателя.
Вольтметры подключаются параллельно к любому устройству, которое необходимо измерить. Параллельное соединение используется, потому что объекты, находящиеся параллельно, испытывают одинаковую разность потенциалов. (См. Рисунок 2, где вольтметр обозначен символом V.)
Амперметры подключаются последовательно к любому измеряемому току устройства. Последовательное соединение используется потому, что последовательно соединенные объекты имеют одинаковый ток, проходящий через них. (См. Рисунок 3, где амперметр обозначен символом A.)
Рис. 2. (a) Для измерения разности потенциалов в этой последовательной цепи вольтметр (V) помещают параллельно источнику напряжения или одному из резисторов. Обратите внимание, что напряжение на клеммах измеряется между точками a и b. Невозможно подключить вольтметр напрямую через ЭДС без учета его внутреннего сопротивления, r . (b) Используемый цифровой вольтметр. (кредит: Messtechniker, Wikimedia Commons) Рисунок 3.
Аналоговые счетчики имеют стрелку, которая поворачивается, чтобы указывать на числа на шкале, в отличие от цифровых счетчиков , которые имеют числовые показания, аналогичные ручному калькулятору.Сердцем большинства аналоговых счетчиков является устройство, называемое гальванометром , обозначенное буквой G. Прохождение тока через гальванометр, [латекс] boldsymbol {I _ { textbf {G}}} [/ latex], вызывает пропорциональное отклонение стрелки. . (Это отклонение происходит из-за силы магнитного поля на провод с током.)
Двумя важнейшими характеристиками данного гальванометра являются его сопротивление и чувствительность по току. Чувствительность по току — это ток, который дает полного отклонения стрелки гальванометра , максимальный ток, который может измерить прибор.Например, гальванометр с текущей чувствительностью [латекс] boldsymbol {50 ; mu textbf {A}} [/ latex] имеет максимальное отклонение стрелки, когда [латекс] boldsymbol {50 ; mu textbf {A}} [/ latex] проходит через него, считывает половину шкалы, когда [latex] boldsymbol {25 ; mu textbf {A}} [/ latex] проходит через него, и так далее.
Если такой гальванометр имеет сопротивление [латекс] boldsymbol {25 — ; Omega} [/ latex], то напряжение только [латекс] boldsymbol {V = IR = (50 ; mu textbf { A}) (25 ; Omega) = 1.25 ; textbf {mV}} [/ latex] производит показание полной шкалы. Подключив резисторы к этому гальванометру различными способами, вы можете использовать его как вольтметр или амперметр, который может измерять широкий диапазон напряжений или токов.
Гальванометр как вольтметр
На рисунке 4 показано, как гальванометр можно использовать в качестве вольтметра, подключив его последовательно с большим сопротивлением, [латекс] boldsymbol {R} [/ латекс].
[латекс] boldsymbol {R _ { textbf {tot}} = R + r =} [/ latex] [latex] boldsymbol { frac {V} {I}} [/ latex] [latex] boldsymbol { =} [/ latex] [латекс] boldsymbol { frac {10 ; textbf {V}} {50 ; mu textbf {A}}} [/ latex] [латекс] boldsymbol {= 200 ; textbf {k} Omega ; textbf {или}} [/ latex]
[латекс] boldsymbol {R = R _ { textbf {tot}} — r = 200 ; textbf {k} Omega — 25 ; Omega приблизительно 200 ; textbf {k} Omega} [ / латекс]
([латекс] boldsymbol {R} [/ latex] настолько велик, что сопротивлением гальванометра [латекс] boldsymbol {r} [/ latex] можно пренебречь.
Этот вольтметр не годится для напряжений менее примерно половины вольта, потому что отклонение измерителя будет небольшим и его трудно будет точно прочитать. Для других диапазонов напряжения другие сопротивления устанавливаются последовательно с гальванометром. У многих метров есть выбор шкалы.Этот выбор предполагает последовательное включение соответствующего сопротивления с гальванометром.
Рисунок 4. Большое сопротивление R , включенное последовательно с гальванометром G, дает вольтметр, отклонение которого на всю шкалу зависит от выбора R . Чем больше измеряемое напряжение, тем больше должно быть R . (Обратите внимание, что r представляет собой внутреннее сопротивление гальванометра. )
Гальванометр как амперметр
Тот же гальванометр можно превратить в амперметр, разместив его параллельно небольшому сопротивлению [латекс] boldsymbol {R} [/ latex], которое часто называют шунтирующим сопротивлением , как показано на рисунке 5. Поскольку шунт сопротивление невелико, большая часть тока проходит через него, что позволяет амперметру измерять токи, намного превышающие токи, вызывающие полное отклонение гальванометра.
Предположим, например, что необходим амперметр, который дает полное отклонение на 1.0 A и содержит такой же [латекс] boldsymbol {25 — ; Omega} [/ latex] гальванометр с его чувствительностью [latex] boldsymbol {50 — ; mu textbf {A}} [/ latex] . Поскольку [латекс] boldsymbol {R} [/ latex] и [latex] boldsymbol {r} [/ latex] параллельны, напряжение на них одинаковое.
Эти [латекс] boldsymbol {IR} [/ latex] капли — это [latex] boldsymbol {IR = I_Gr} [/ latex], так что [latex] boldsymbol {IR = frac {I_G} {I} = frac {R} {r}} [/ latex].
Рис. 5. Небольшое шунтирующее сопротивление R , помещенное параллельно гальванометру G, дает амперметр, отклонение которого на полную шкалу зависит от выбора R . Чем больше измеряемый ток, тем меньше должно быть R . Большая часть тока ( I ), протекающего через счетчик, шунтируется через R для защиты гальванометра.(Обратите внимание, что r представляет внутреннее сопротивление гальванометра.) Амперметры также могут иметь несколько шкал для большей гибкости в применении. Различные шкалы достигаются путем переключения различных шунтирующих сопротивлений параллельно гальванометру — чем больше максимальный измеряемый ток, тем меньше должно быть шунтирующее сопротивление.
Когда вы используете вольтметр или амперметр, вы подключаете другой резистор к существующей цепи и, таким образом, изменяете схему.В идеале вольтметры и амперметры не оказывают заметного влияния на схему, но поучительно изучить обстоятельства, при которых они влияют или не влияют.
Сначала рассмотрим вольтметр, который всегда размещается параллельно с измеряемым устройством. Через вольтметр протекает очень небольшой ток, если его сопротивление на несколько порядков больше, чем сопротивление устройства, и поэтому на цепь заметного воздействия не оказывается. (См. Рисунок 6 (a).) (Большое сопротивление, параллельное малому, имеет суммарное сопротивление, по существу, равное малому.) Если, однако, сопротивление вольтметра сопоставимо с сопротивлением измеряемого устройства, то два параллельно подключенных устройства имеют меньшее сопротивление, что существенно влияет на цепь. (См. Рисунок 6 (b).) Напряжение на устройстве не такое, как при отключении вольтметра от цепи.
Рис.
Амперметр подключается последовательно к ветви измеряемой цепи, так что его сопротивление добавляется к этой ветви. Обычно сопротивление амперметра очень мало по сравнению с сопротивлением устройств в цепи, поэтому дополнительное сопротивление незначительно.(См. Рисунок 7 (a).) Однако, если задействованы очень малые сопротивления нагрузки или если сопротивление амперметра не такое низкое, как должно быть, то общее последовательное сопротивление значительно больше, а ток в ветви измеряется уменьшается.
Практическая проблема может возникнуть, если амперметр подключен неправильно. Если его подключить параллельно с резистором для измерения тока в нем, вы можете повредить измеритель; низкое сопротивление амперметра позволит большей части тока в цепи проходить через гальванометр, и этот ток будет больше, поскольку эффективное сопротивление меньше.
Рис. 7. (a) Амперметр обычно имеет такое маленькое сопротивление, что общее последовательное сопротивление в измеряемой ветви не увеличивается заметно. Схема практически не изменилась по сравнению с отсутствием амперметра. (b) Здесь сопротивление амперметра такое же, как и у ветви, так что общее сопротивление удваивается, а сила тока вдвое меньше, чем без амперметра. Этого существенного изменения схемы следует избегать.
Одним из решений проблемы вольтметров и амперметров, мешающих измерению цепей, является использование гальванометров с большей чувствительностью.Это позволяет создавать вольтметры с большим сопротивлением и амперметры с меньшим сопротивлением, чем при использовании менее чувствительных гальванометров.
Существуют практические пределы чувствительности гальванометра, но можно получить аналоговые измерители, которые делают измерения с точностью до нескольких процентов. Обратите внимание, что неточность происходит из-за изменения схемы, а не из-за неисправности счетчика.
Связи: границы знаний
Выполнение измерения изменяет измеряемую систему таким образом, что приводит к погрешности измерения.Для макроскопических систем, таких как схемы, обсуждаемые в этом модуле, изменение обычно можно сделать пренебрежимо малым, но полностью исключить его нельзя. Для субмикроскопических систем, таких как атомы, ядра и более мелкие частицы, измерение изменяет систему таким образом, что невозможно сделать сколь угодно малым. Это фактически ограничивает знание системы — даже ограничивает то, что природа может знать о самой себе. Мы увидим глубокие последствия этого, когда принцип неопределенности Гейзенберга будет обсуждаться в модулях по квантовой механике.6} [/ латекс].
Проверьте свое понимание
1: Цифровые измерители могут обнаруживать меньшие токи, чем аналоговые измерители, использующие гальванометры.
Исследование PhET: комплект для конструирования цепей (только для постоянного тока), виртуальная лаборатория
Стимулируйте нейрон и отслеживайте, что происходит. Пауза, перемотка назад и движение вперед во времени, чтобы наблюдать за перемещением ионов через мембрану нейрона.
Рис. 8. Комплект для конструирования цепей (только для постоянного тока), виртуальная лаборатория
- Вольтметры измеряют напряжение, а амперметры измеряют ток.
- Вольтметр устанавливается параллельно источнику напряжения для получения полного напряжения и должен иметь большое сопротивление, чтобы ограничить его влияние на цепь.
- Амперметр включается последовательно, чтобы через ответвление протекал полный ток, и должен иметь небольшое сопротивление, чтобы ограничить его влияние на цепь.
- Оба могут быть основаны на комбинации резистора и гальванометра, устройства, которое дает аналоговые показания тока.
- Стандартные вольтметры и амперметры изменяют измеряемую цепь и, таким образом, имеют ограниченную точность.
Концептуальные вопросы
1: Почему не следует подключать амперметр непосредственно к источнику напряжения, как показано на рисунке 9? (Обратите внимание, что скрипт E на рисунке обозначает ЭДС.)
Рис. 9.
2: Предположим, вы используете мультиметр (предназначенный для измерения диапазона напряжений, токов и сопротивлений) для измерения тока в цепи и случайно оставляете его в режиме вольтметра.Как измеритель повлияет на схему? Что бы произошло, если бы вы измеряли напряжение, но случайно перевели измеритель в режим амперметра?
3: Укажите точки, к которым можно подключить вольтметр для измерения следующих разностей потенциалов на Рисунке 10: (a) разность потенциалов источника напряжения; (b) разность потенциалов на [латексе] boldsymbol {R_1} [/ latex]; (c) через [латекс] boldsymbol {R_2} [/ latex]; (г) поперек [латекса] boldsymbol {R_3} [/ latex]; (e) через [латекс] boldsymbol {R_2} [/ latex] и [латекс] boldsymbol {R_3} [/ latex].
Рисунок 10.
4: Для измерения токов на Рисунке 10 вы замените провод между двумя точками на амперметр. Укажите точки, между которыми вы разместите амперметр для измерения следующего: (a) общий ток; (б) ток, протекающий через [латекс] boldsymbol {R_1} [/ latex]; (c) через [латекс] boldsymbol {R_2} [/ latex]; (г) через [латекс] boldsymbol {R_3} [/ латекс]. Обратите внимание, что на каждую часть может быть несколько ответов.
Проблемные упражнения
1: Какова чувствительность гальванометра (то есть, какой ток дает полное отклонение) внутри вольтметра, имеющего [латексный] boldsymbol {1.00 — ; textbf {M} Omega} [ / латекс] по шкале 30,0 В?
2: Какова чувствительность гальванометра (то есть, какой ток дает полное отклонение) внутри вольтметра, имеющего [латексный] boldsymbol {25.
3: Найдите сопротивление, которое необходимо подключить последовательно с boldsymbol [латексом] {25.0 — ; Omega} [/ latex] гальванометр с чувствительностью [латекс] boldsymbol {50.0 — ; mu textbf {A}} [/ latex] (такой же, как тот, который обсуждается в тексте), чтобы позволить он должен использоваться как вольтметр с показаниями полной шкалы 0,100 В.
4: Найдите сопротивление, которое необходимо подключить последовательно с [латексным] boldsymbol {25.0 — ; Omega} [/ latex] гальванометром, имеющим [латексный] boldsymbol {50.0 — ; mu textbf {A}} [/ latex] чувствительность (такая же, как та, которая обсуждается в тексте), позволяющая использовать его в качестве вольтметра с показаниями полной шкалы 3000 В.Включите принципиальную схему в свое решение.
5: Найдите сопротивление, которое необходимо разместить параллельно [латексному] boldsymbol {25.
6: Найдите сопротивление, которое необходимо разместить параллельно символу [латекса] bold {25.0 — ; Omega} [/ latex] гальванометр с чувствительностью [латекс] boldsymbol {50.0 — ; mu textbf {A}} [/ latex] (такой же, как тот, который обсуждается в тексте), чтобы позволить он должен использоваться как амперметр с показаниями полной шкалы 300 мА.
7: Найдите сопротивление, которое должно быть подключено последовательно с [латексным] boldsymbol {10.0 — ; Omega} [/ latex] гальванометром с [латексным] boldsymbol {100 — ; mu textbf {A}} [/ latex] чувствительность, позволяющая использовать его в качестве вольтметра при: (а) полномасштабном показании 300 В и (б) 0.
8: Найдите сопротивление, которое необходимо разместить параллельно [латексному] boldsymbol {10.0 — ; Omega} [/ latex] гальванометру с [латексным] boldsymbol {100 — ; mu textbf {A}} [/ latex] чувствительность, позволяющая использовать его в качестве амперметра с: (a) показанием полной шкалы 20,0 A и b) показанием полной шкалы 100 мА.
9: Предположим, вы измеряете напряжение на клеммах щелочного элемента на 1,585 В, имеющего внутреннее сопротивление [латекс] boldsymbol {0.100 ; Omega} [/ latex], поместив вольтметр [latex] boldsymbol {1.00 — ; textbf {k} Omega} [/ latex] на его клеммы. (См. Рис. 11.) (а) Какой ток течет? (b) Найдите напряжение на клеммах. (c) Чтобы увидеть, насколько близко измеренное напряжение на клеммах к ЭДС, рассчитайте их отношение.
Рис. 11.
10: Предположим, вы измеряете напряжение на клеммах литиевого элемента на 3.
12: Вольтметр [латекс] boldsymbol {1.00 — ; textbf {M} Omega} [/ latex] устанавливается параллельно [латексному] boldsymbol {75.0 — ; textbf {k} Omega} [/ latex] резистор в цепи. (а) Нарисуйте принципиальную схему подключения. б) Каково сопротивление комбинации? (c) Если напряжение на комбинации остается таким же, как на [латексном] boldsymbol {75.0 — ; textbf {k} Omega} [/ latex] только резистор, каков процент увеличения тока? (d) Если ток через комбинацию остается таким же, как через резистор [latex] boldsymbol {75.0 — ; textbf {k} Omega} [/ latex], каково процентное снижение напряжения ? (e) Являются ли изменения, обнаруженные в частях (c) и (d), значительными? Обсуждать.
13: Амперметр [latex] boldsymbol {0,0200 — ; Omega} [/ latex] включен последовательно с резистором [latex] boldsymbol {10.00 — ; Omega} [/ latex] в схема.(а) Нарисуйте принципиальную схему подключения. (b) Рассчитайте сопротивление комбинации. (c) Если напряжение в комбинации остается таким же, каким оно было через резистор [latex] boldsymbol {10.00 — ; Omega} [/ latex], каков процент уменьшения тока? (d) Если ток сохраняется таким же, как через резистор [latex] boldsymbol {10.00 — ; Omega} [/ latex], то каков процент увеличения напряжения? (e) Являются ли изменения, обнаруженные в частях (c) и (d), значительными? Обсуждать.
14: Необоснованные результаты
Предположим, у вас есть гальванометр [latex] boldsymbol {40.0 — ; Omega} [/ latex] с чувствительностью [latex] boldsymbol {25.0 — ; mu textbf {A}} [/ latex]. (a) Какое сопротивление вы бы включили последовательно, чтобы его можно было использовать в качестве вольтметра с полным отклонением на 0,500 мВ? б) Что неразумного в этом результате? (c) Какие допущения ответственны?
15: необоснованные результаты
(a) Какое сопротивление вы бы поставили параллельно с символом [латекс] bold {40.
[латекс] boldsymbol {25.0 — ; mu textbf {A}} [/ latex], позволяющий использовать его в качестве амперметра с полное отклонение для [латекса] boldsymbol {10.0 — ; mu textbf {A}} [/ latex]? б) Что неразумного в этом результате? (c) Какие допущения ответственны?
Глоссарий
- вольтметр
- прибор для измерения напряжения
- амперметр
- прибор для измерения силы тока
- аналоговый счетчик
- Измерительный прибор, дающий показания в виде движения стрелки по отмеченному датчику
- цифровой счетчик
- Измерительный прибор, выдающий показания в цифровом виде
- гальванометр
- аналоговый измерительный прибор, обозначенный буквой G, который измеряет ток, используя отклонение стрелки, вызванное силой магнитного поля, действующей на провод с током
- чувствительность по току
- максимальный ток, который может считывать гальванометр
- полный прогиб
- максимальное отклонение стрелки гальванометра, также известное как чувствительность по току; гальванометр с полным отклонением [латекс] boldsymbol {50 ; mu textbf {A}} [/ latex] имеет максимальное отклонение стрелки, когда [латекс] boldsymbol {50 ; mu textbf {A}} [/ latex] проходит через него
- шунтирующее сопротивление
- небольшое сопротивление [латекс] boldsymbol {R} [/ latex], помещенное параллельно гальванометру G для получения амперметра; чем больше измеряемый ток, тем меньше должен быть [латекс] boldsymbol {R} [/ latex]; большая часть тока, протекающего через счетчик, шунтируется через [латекс] boldsymbol {R} [/ latex] для защиты гальванометра
Решения
Проверьте свое понимание
1: Поскольку цифровые счетчики требуют меньшего тока, чем аналоговые счетчики, они изменяют схему меньше, чем аналоговые счетчики.
7: (a) [латекс] boldsymbol {3.00 ; textbf {M} Omega} [/ latex]
(b) [латекс] boldsymbol {2.99 ; textbf {k} Omega} [/ latex]
9: (a) 1,58 мА
(b) 1,5848 В (необходимо четыре цифры, чтобы увидеть разницу)
(c) 0,99990 (нужно пять цифр, чтобы увидеть разницу от единицы)
11: [латекс] boldsymbol {15.0 ; mu textbf {A}} [/ латекс]
13: (а)
Рисунок 12.{-1}} [/ latex] процентное увеличение
(e) Не имеет значения.
15: (a) [латекс] boldsymbol {-66.7 ; Omega} [/ латекс]
(b) У вас не может быть отрицательного сопротивления.
(c) Неразумно, что [latex] boldsymbol {I_G} [/ latex] больше, чем [latex] boldsymbol {I _ { textbf {tot}}} [/ latex] (см. Рисунок 5). Вы не можете добиться полного отклонения, используя ток, меньший, чем чувствительность гальванометра.
4.10: Амперметры и вольтметры — Physics LibreTexts
Для целей этого раздела не имеет значения, как на самом деле работает амперметр.Достаточно сказать, что через амперметр протекает ток, и стрелка перемещается по шкале, чтобы указать ток, или же ток отображается в виде чисел на цифровом дисплее. Чтобы измерить ток через какой-либо элемент цепи, амперметр, конечно же, помещается в серию с элементом . Обычно амперметр имеет довольно низкое сопротивление.
Недорогой вольтметр на самом деле просто амперметр, имеющий довольно высокое сопротивление. Если вы хотите измерить разность потенциалов на каком-либо элементе схемы, вы, конечно же, поместите вольтметр на этого элемента (т.е.е. в параллельно с ним ). Небольшая часть тока через элемент отводится через счетчик; измеритель измеряет этот ток, и, исходя из известного сопротивления измерителя, можно вычислить разность потенциалов — хотя на практике никто не делает никаких вычислений — шкала отмечена в вольтах.
Существуют счетчики, известные как «мультиметры» или «авометры» (для ампер, вольт и омов), которые можно использовать как амперметры или вольтметры, и именно они рассматриваются в данном разделе.
Типичный недорогой амперметр дает полную шкалу отклонения (FSD), когда через него протекает ток 15 мА = 0,015 А. Его можно приспособить для измерения более высоких токов, подключив к нему небольшое сопротивление (известное как «шунт») .
Предположим, например, что у нас есть измеритель, который показывает FSD при токе 0.015 А протекает через него, а сопротивление счетчика составляет 10 ( Omega ). Мы хотели бы использовать измеритель для измерения токов до 0,15 А. Какое значение сопротивления шунта мы должны приложить к измерителю? Что ж, когда общий ток составляет 0,15 А, мы хотим, чтобы 0,015 А протекала через измеритель (который затем показывает FSD), а оставшаяся часть, 0,135 А, протекала через шунт. При токе 0,015 А, протекающем через измеритель 10 ( Omega ), разность потенциалов на нем составляет 0,15 В. Это также разность потенциалов на шунте, и, поскольку ток через шунт равен 0.135 А, сопротивление шунта должно быть 1,11 ( Omega ).
Также можно использовать счетчик как вольтметр. Предположим, например, что мы хотим измерить напряжение (ужасное слово!) До 1,5 В. Мы помещаем большое сопротивление R в серии вместе с измерителем, а затем помещаем сопротивление измерителя плюс последовательно на разность потенциалов к измеренной. Полное сопротивление измерителя плюс последовательное сопротивление составляет (10 + R ), и он покажет FSD, когда ток через него равен 0.015 A. Мы хотим, чтобы это произошло, когда разность потенциалов на нем составляет 1,5 вольт. Это 1,5 = 0,015 × (10 + R ), поэтому R = 90 ( Omega ).
Измерение сопротивления с помощью вольтметра и амперметра
Закон Ома
Электричество и магнетизм
Измерение сопротивления вольтметром и амперметром
Практическая деятельность
для 14-16
Практика класса
Определение сопротивления по измерениям разности потенциалов (стр.г.) и ток.
Аппаратура и материалы
- Амперметр, от 0 до 1 А, постоянный ток
- Вольтметр, (0-15 В), DC
- Источник питания, низкое напряжение, постоянный ток
- Лампа (12 В, 6 Вт) в держателе
- Резистор (примерно 15 Ом, 10 Вт)
- Прочие компоненты разные
Примечания по охране труда и технике безопасности
Прочтите наше стандартное руководство по охране труда
Напомните классу, что лампа нагревается, поэтому ее следует перемещать, только взявшись за патрон.
Процедура
- Установите показанную схему. Включите блок питания до тех пор, пока не появится п.о. на лампе — 12 В (нормальное рабочее напряжение).
- Снимите показания р.д. и ток.
- Рассчитайте сопротивление лампы при рабочей температуре.
- Теперь для нескольких различных значений p.d. измерьте ток через лампу. Постройте график ваших результатов; этот график известен как вольт-амперная характеристика
лампы .
Учебные заметки
- Эта серия экспериментов должна дать студентам возможность попрактиковаться в снятии пары значений тока и разности потенциалов для различных компонентов, чтобы можно было рассчитать сопротивление компонента по формуле V / I = R.
- Его также можно расширить, чтобы учащиеся отображали характеристики разности тока / разности потенциалов для таких компонентов, как угольный резистор, диод, светодиод (LED), термистор, якорь двигателя, электрический пожарный элемент (только питание 12 В !) и так далее.Студенты должны будут выбрать подходящие измерители, поскольку ток через некоторые из этих устройств может быть очень небольшим. Каждый член класса мог взяться за один компонент и представить свои результаты классу или создать настенный дисплей.
- Некоторые вещи, которые кажутся не подчиняющимися закону Ома, могут действительно так поступать; например, вольфрамовая нить лампы. Сопротивление вольфрама увеличивается по мере того, как лампа нагревается, но если бы ее можно было поддерживать при постоянной температуре, ее сопротивление было бы постоянным.
- Предлагаемые графики см. Ниже
Этот эксперимент был проверен на безопасность в январе 2007 г.
ресурсов
Загрузите лист поддержки / рабочий лист учащегося для этого практического занятия.
Разница между амперметром и вольтметром (со сравнительной таблицей)
Основное различие между амперметром и вольтметром состоит в том, что амперметр измеряет ток, а вольтметр измеряет ЭДС или напряжение в любых двух точках электрической цепи.Другие различия между амперметром и вольтметром представлены ниже в сравнительной таблице.
Электричество измеряется двумя способами. т.е. через ток или напряжение. Ток и напряжение в цепи измеряются амперметром и вольтметром. Принцип работы амперметра и вольтметра такой же, как и у гальванометра.
В гальванометре используется катушка, помещенная между магнитами. Когда ток течет через катушки, он отклоняется.Прогиб катушек зависит от проходящего через них заряда. Это отклонение используется для измерения силы тока или напряжения. Гальванометр работает как вольтметр, когда резистор включен последовательно с гальванометром.
Содержание: Амперметр против вольтметра
- Сравнительная таблица
- Определение
- Ключевые отличия
Сравнительная таблица
| Основа для сравнения | Амперметр | Вольтметр |
|---|---|---|
| Определение | Инструменты, используемые для измерения силы тока. | Он измеряет напряжение между любыми двумя точками цепи. |
| Символическое представление | ||
| Сопротивление | Низкое | Высокое |
| Соединение | Соединяется последовательно со схемой. | Включен параллельно цепи. |
| Точность | Больше | Меньше |
| Изменение диапазона | Невозможно | Возможно |
Определение амперметра
Амперметр — это измерительный прибор, который используется для измерения силы тока в цепи.Он измеряет небольшой ток в миллиамперах или микроамперах. Амперметр включается последовательно с измерительной схемой, так что весь ток схемы проходит через нее.
Сопротивление амперметра очень мало по сравнению с вольтметром. У идеального амперметра значение сопротивления равно нулю. Небольшое сопротивление не препятствует прохождению тока, поэтому амперметр измеряет истинное значение.
Определение вольтметра
Вольтметр — это прибор для измерения напряжения.Он включен параллельно с электрической цепью, потенциал которой необходимо измерить. Полярность подключения вольтметра такая же, как и у амперметра, т.е. положительный вывод подключается к положительной полярности источника питания, а отрицательный потенциал подключается к отрицательной полярности.
Сопротивление вольтметра очень велико по сравнению с амперметром. Это сопротивление не позволяет току течь через вольтметр и, таким образом, измеряется точное значение напряжения в точке измерения.Величина сопротивления в идеальном вольтметре примерно равна бесконечности.
Основные различия между амперметром и вольтметром
Ниже приведены основные различия между амперметром и вольтметром.
- Амперметр — это устройство, используемое для измерения малых величин тока, протекающего в цепи, тогда как вольтметр измеряет разность потенциалов между любыми двумя точками электрической цепи.
- Низкое сопротивление амперметра.Таким образом, весь ток цепи будет проходить через него. В то время как внутреннее сопротивление вольтметра очень низкое, поэтому ток из цепи не мешает измерению вольтметра.
- Амперметр включен последовательно со схемой измерения полного тока, а вольтметр включен параллельно цепи. Разность потенциалов параллельной цепи остается одинаковой во всех точках. Поэтому для измерения точного значения разности потенциалов его подключают параллельно к точкам, напряжение которых необходимо измерить.
- Точность амперметра больше, чем у вольтметра.
- Диапазон измерения вольтметра может быть увеличен или уменьшен путем изменения значения сопротивления, тогда как диапазон амперметра не может быть изменен.
В настоящее время токовые клещи используются для измерения тока в цепи.
.
Шунт для амперметра. Или как сделать вольтметр из амперметра и наоборот.
Эту статью я решил написать, когда делал источник питания для своей домашней лаборатории. Из собственного опыта замечено, что на регулируемом блоке питания должен быть вольтметр, для оценки устанавливаемого напряжения. А так же амперметр, для приблизительной оценки тока потребляемого нагрузкой. Решено в новый источник питания установить эти полезные элементы: вольтметр и амперметр. Поискав в ящиках, нашел две подходящих измерительных головки (основной критерий — минимальные размеры). С максимальным током 50мкА и 30мА.
Сначала сделаем вольтметр из амперметра
Итак, перейдем к расчетам.
Самое простое сделать вольтметр из амперметра, я использую второй амперметр. Для расчетов нам понадобятся: максимальный ток отклонения стрелки — в моем случае 30мА, Максимальное напряжение, которое должен измерять наш вольтметр — 30В.
Используя закон Ома находим сопротивление: R=U/I, R=1кОм.
Значит шунт (резистор) сопротивлением 1кОм нужно подключить последовательно с амперметром. При этом мы получим вольтметр. Т.е. если через такую последовательную цепь будет протекать ток в 30мА, то падение напряжения на этом резисторе равно 30В. В моем случае мне даже не нужно изменять шкалу прибора, достаточно наклеить букву «V», чтобы было понятно, что это вольтметр.
Следует помнить, что через такой вольтметр всегда будет течь ток 0-30мА, в зависимости от измеряемого напряжения от 0-30В. А так как он используется в блоке питания это не критично. Так же не следует забывать, что резистор должен быть подходящей можности, которую определим по формуле P = I*I*R получим P=30мА*30мА*1кОм=0,9Вт ставим с запасом не меньше 1Вт.
Надо ещё учесть внутреннее сопротивление прибора. Тогда добавочный резистор считается так: Rд=Uп/Iи-Rи.
Rд — сопротивление добавочного резистора;
Uп — макс. значение выбранного предела измерения напряжения;
Iи — ток полного отклонения выбранного амперметра;
Rи — внутреннее сопротивление (рамки прибора) выбранного амперметра, оно указывается.
Делаем амперметр из амперметра у которого маленькая шкала.
У первого амперметра шкала 50мкА это очень мало, мне нужно 1,5А. Чтобы расширить диапазон измерения амперметра, нужно установить шунт, но не последовательно, а параллельно с измерительной головкой. Получается ток будет разветвляться и одна часть потечет через амперметр, а другая через сопротивление. Нужно подобрать такое сопротивление, чтобы ток в 1,5А делился на два, 50мкА через амперметр, а остальной ток через резистор.
Для расчетов понадобится знать сопротивление амперметра, но так как его я не знаю, то шунт буду изготавливать методом подгона. Для этого нужно взять медную проволоку диаметром 0,8-1мм длинной 1 метр и измерить ток, при котором стрелка отклоняется в крайнее положение.
Для этого понадобится регулируемый источник напряжения и нагрузка, я использовал автомобильную лампочку. Далее таким образом подгоняем шунт увеличивая длину проволоки если нужно уменьшить максимальный ток или укорачиваем проволоку если нужно увеличить максимальное значение шкалы амперметра.
У меня получился вот такой шунт в четыре слоя. Края я проклеил силиконовым клеем.
Следует помнить, что если случайно оторвется шунт, то через микроамперметр потечет большой ток и он выйдет из строя.
Амперметр из вольтметра делается по аналогии с первым вариантом, только шунт устанавливается не последовательно а параллельно. Также бывает, что в вольтметрах устанавливаются внутренние резисторы, убрав которые можно получить амперметр.
Следует помнить что амперметр должен иметь минимальное сопротивление, а вольтметр должен обладать очень высоким сопротивлением.
Параметры и особенности стрелочных вольтметров
И хоть мы уже давно привыкли к цифровым вольтметрам, в природе всё ещё встречаются и стрелочные.
В некоторых случаях их применение может быть более удобным и практичным, чем использование современных цифровых.
Если в ваши руки попал стрелочный вольтметр, то желательно узнать его основные характеристики. Их легко определить по шкале и надписях на ней. В мои руки попал встраиваемый вольтметр М42300.
Внизу, под шкалой, как правило, есть несколько значков и указана модель прибора. Так, значок в виде подковы (или изогнутого магнита) означает, что это прибор магнитоэлектрической системы с подвижной рамкой.
На следующем снимке можно разглядеть такую подковку.
Горизонтальная чёрточка указывает на то, что данный измерительный прибор рассчитан на работу с постоянным током (напряжением).
Тут же стоит уточнить, почему речь идёт о постоянном токе. Не секрет, что стрелочными бывают не только вольтметры, но и огромное количество других измерительных приборов, например, тот же аналоговый амперметр или омметр.
Действие любого стрелочного прибора основано на отклонении катушки в поле магнита при прохождении постоянного тока по этой самой катушке. Чтобы отобразить с помощью стрелки показания на шкале прибора, ток должен быть постоянным.
Если он будет переменным, то стрелка будет отклоняться вправо-влево с частотой переменного тока, который протекает через обмотку катушки. Чтобы измерить величину переменного тока или напряжения в измерительный прибор встраивают выпрямитель.
Именно поэтому, под шкалой прибора указывается тип тока, с которым он способен работать: постоянным или переменным.
Далее на шкале прибора можно обнаружить целое или дробное число, вроде 1,5; 1,0 и подобное. Это класс точности прибора, выраженный в процентах %. Понятно, чем меньше число, тем лучше – показания будут точнее.
Также можно увидеть такой знак – две пересекающиеся черты под прямым углом. Этот знак указывает на то, что рабочее положение прибора вертикальное.
При горизонтальном положении показания могут быть менее точные. Иными словами прибор может «врать». Стрелочный вольтметр с таким значком лучше устанавливать в прибор вертикально и исключить существенный наклон.
А вот такой знак говорит о том, что рабочее положение прибора — горизонтальное.
Ещё один интересный знак – пятиконечная звезда с цифрой внутри.
Данный знак предупреждает о том, что между корпусом прибора и его магнитоэлектрической системой напряжение не должно превышать 2кВ (2000 вольт). На это стоит обращать внимание при эксплуатации вольтметра в высоковольтных установках. Если вы планируете использовать его в блоке питания на 12 – 50 вольт, то беспокоиться не стоит.
Как считывать показания со шкалы стрелочного вольтметра?
Для тех, кто впервые видит шкалу прибора, возникает вполне резонный вопрос: «А как же считывать показания?» На первый взгляд ничего непонятно 
На самом деле всё просто. Чтобы определить минимальное деление шкалы нужно определить ближайшее число (цифру) на шкале. Как видим на шкале нашего М42300 – это 2.
Далее считаем количество промежутков между чёрточками до первого числа или цифры – в нашем случае до 2. Их оказывается 10. Далее делим 2 на 10, получаем 0,2. То есть, расстояние от одной маленькой чёрточки до соседней, равно — 0,2 вольта.
Вот мы и нашли минимальное деление шкалы. Таким образом, если стрелка прибора отклонится на 2 маленьких деления, то это будет означать, что напряжение равно 0,4V (2 * 0,2V = 0,4V).
В наличии уже знакомый нам встраиваемый вольтметр модели М42300. Прибор предназначен для измерения постоянного напряжения до 10 вольт. Шаг измерения — 0,2 вольта.
Прикручиваем к клеммам вольтметра два провода ( соблюдаем полярность!), и подключаем севшую батарейку на 1,5 вольта или любую попавшуюся.
Вот такие показания я увидел на шкале прибора. Как видим, напряжение батарейки равно 1 вольту (5 делений * 0,2V = 1V). Пока фотографировал, стрелка вольтметра упорно двигалась к началу шкалы — батарейка отдавала последние «соки».
Кроме этого мне стало интересно, какой ток потребляет сам стрелочный вольтметр. Поэтому вместо батарейки я подключил блок питания и выставил на выходе 10 вольт — чтобы стрелка прибора отклонилась на всю шкалу. Далее я подключил в разрыв цепи цифровой мультиметр и измерил ток.
Оказалось, ток, потребляемый стрелочным вольтметром, составил всего 1 миллиампер (1 мА). Его достаточно, чтобы стрелка отклонилась на всю шкалу. Это очень мало. Поясню свой намёк.
Получается, что стрелочный вольтметр экономичнее цифрового. Посудите сами, любой цифровой измерительный прибор имеет дисплей (ЖК или светодиодный), контроллер, а также буферные элементы для управления дисплеем. И это только часть его схемы. Всё это потребляет ток, садит батарею или аккумулятор. И если в случае вольтметра с жидкокристаллическим дисплеем потребляемый ток невелик, то при наличии активного светодиодного индикатора, потребляемый ток будет уже существенный.
Вот и получается, что для портативных приборов с автономным питанием иногда разумнее использовать классический стрелочный вольтметр.
При подключении вольтметра к цепи следует помнить о нескольких простых правилах.
Во-первых, вольтметр (любой, хоть цифровой, хоть стрелочный) необходимо подключать параллельно той цепи или элементу, напряжение на котором планируется измерять или контролировать.
Во-вторых, следует учитывать рабочий диапазон измерений. Узнать его легко – достаточно взглянуть на шкалу и определить последнее число на шкале. Это и будет граничное напряжение для измерения данным вольтметром. Естественно, есть и универсальные вольтметры, с выбором предела измерения, но сейчас речь идёт о встраиваемом стрелочном вольтметре с одним пределом измерения.
Если подключить вольтметр, например, со шкалой измерения до 100 вольт, в цепь, где напряжение превышает эти 100 вольт, то стрелка прибора будет уходить за пределы шкалы, «зашкаливать». Такое положение дел рано или поздно приведёт к порче магнитоэлектрической системы.
В-третьих, при подключении стоит соблюдать полярность, если вольтметр рассчитан на измерение постоянного напряжения. Как правило, на клеммах (или хотя бы у одной) указывается полярность – плюс «+» или минус «-» . При подключении вольтметров, рассчитанных на измерение переменного напряжения, полярность подключения не имеет значения.
Надеюсь, теперь вам будет проще определить основные характеристики стрелочного вольтметра, а самое главное, применить его в своих самоделках, например, встроив его в блок питания с регулируемым выходным напряжением 
Не судите строго, пожалуйста.
Со школы эти моменты позабылись, т.к. кручусь в сфере лизинга.
Да и вышка, и кандидатская экономические. А в электронике и до сих пор ковыряться хочется. Вот иногда и возникают парадоксальные вопросы. А литературу некогда читать, хотя иногда добираюсь.
Извините.
Спасибо за материал.
Огромное всем спасибо за ответы и терпение.
Именно так. Напряжение постоянное? На переменом ещё важное значение имеет форма напряжения.
Напряжение, показываемое «стрелкой», может отличаться от напряжения, показываемым «цифрой». Почему? См. темы:
http://www.radiokot.ru/forum/viewtopic.php?t=2354
http://www.radiokot.ru/forum/viewtopic.php?t=191
есть и ещё темы на форуме по этому поводу.
Чтобы не вносить искажения в измеряемое напряжение, необходимо иметь вольтметр с высоким входным сопротивлением — а это достижимо только на электронных («ламповых»).
_________________
Память очень интересная штука: бывает так, что запомнишь одно, а вспомнишь другое.
Переделка вольтметра с AliExpress в амперметр.
32 В
Рабочий ток:
Рабочая температура:-10с+65c
Два провода связи, с обратной полярности защиты
Размер: 21.5x13x8 мм (l * W * h)
Скорость: около 200 мс/время
Режим отображения: три цифры
При тестировании светодидов, драйверов к ним, и других самоделок необходимо измерять в реальном времени напряжение и силу тока на нагрузке. Обычно мне надо подключать два мультиметра, Чтобы на столе уменьшить количество проводов решил сделать из этих мини вольтметров стендик. Можно было конечно поиграть с делителем на входе контроллера но не хотелось выпаивать светодиодный индикатор. В данной конструкции микросхема и все элементы находятся под ним. Решил сделать как есть. Вставил в коммутационную коробку КС-8 для слаботочных систем эти вольтметры.
Предварительно выпаял перемычку между измерительным контактом и плюсом питания, впаял зеленый провод (измерительный).В принципе в таком режиме при подключении стороннего источника питания данный вольтметр может измерять напряжение до 99,9В. Но задача сейчас в этом не стояла-мне нужно было переделать его в амперметр.
Выпаиваем перемычку.
Припаиваем измерительный зеленый провод.
Далее мотаем из нихрома измерительный шунт (у меня вышло примерно 2 Ома). Сравнивал показания по мультиметру при одинаковой нагрузке. И собираем схему.
Результат меня вполне устроил. На рабочем столе освободилось много места, уменьшилось количество проводов, намного легче стало работать.Я не гонюсь за прецезионной точностью, в домашних условиях этого и не нужно. Если поставить переключатель то данный приборчик можно использовать как в режиме вольтметра так и амперметра если использовать один прибор.
Из плюсов –неплохая точность показаний этого вольтметра, хорошо видно показания при слабой освещенности, небольшие габариты, приемлемая цена.
Этот стенд заменяет два мультиметра.
Показания при выключенном освещении.
А уж куда применить этот приборчик –в блок питания, зарядное устройчтво или в автомобиль и т.п., решайте сами в зависимости от ваших потребностей.
Подробнее можно посмотреть на видео. www.youtube.com/watch?v=Uno0-6QPG20
Как из вольтметра сделать амперметр схема
¦ В предыдущей статье: «Выпрямитель для зарядки аккумулятора « для контроля зарядного тока применяется амперметр на 5 — 8 ампер. Амперметр довольно дефицитная вещь и не всегда подберешь его на такой ток. Попробуем изготовить амперметр своими руками.
Для этого потребуется стрелочный измерительный прибор магнитно-электрической системы на любой ток полного отклонения стрелки по шкале.
Необходимо посмотреть, чтоб у него не было внутреннего шунта или добавочного сопротивления для вольтметра.
¦ Измерительный стрелочный прибор имеет внутреннее сопротивление подвижной рамки и ток полного отклонения стрелки. Стрелочный прибор может использоваться как вольтметр (добавочное сопротивление включается последовательно с прибором) и как амперметр (добавочное сопротивление включается параллельно с прибором).
¦ Схема для амперметра справа на рисунке.
Добавочное сопротивление — шунт рассчитывается по специальным формулам. Мы же изготовим его практическим путем, применив только калибровочный амперметр на ток до 5 — 8 ампер, или применив тестер, если он имеет такой предел измерения.
¦ Соберем несложную схему из зарядного выпрямителя, образцового амперметра, провода для шунта и заряжаемого аккумулятора. Смотрите рисунок.
¦ В качестве шунта можно использовать толстый провод из стали или меди. Лучше всего и проще, взять тот же провод, каким наматывалась вторичная обмотка, или чуть-чуть потолще.
Необходимо взять отрезок медного или стального провода длиной около 80 сантиметров, снять с него изоляцию. На двух концах отрезка сделать колечки для болтового крепления. Включить этот отрезок последовательно в цепь с образцовым амперметром.
Один конец от нашего стрелочного прибора припаять к концу шунта, а другим проводить по проводу шунта. Включить питание, установить регулятором или тумблерами ток заряда по контрольному амперметру — 5 ампер.
Начиная от места пайки, другим концом от стрелочного прибора проводить по проводу. Установить одинаковые показания обоих амперметров. В зависимости от сопротивления рамки вашего стрелочного прибора, разные стрелочные приборы будут иметь разную длину провода шунта, иногда до одного метра.
Это конечно не всегда удобно, но если у вас будет свободное место в корпусе, можно аккуратно разместить.
¦ Провод шунта можно смотать в спираль как на рисунке, или еще как нибудь по обстоятельствам. Витки немного растянуть, чтоб не касались друг друга или надеть колечки из хлорвиниловой трубочки по всей длине шунта.
¦ Можно предварительно определить длину провода шунта, а потом вместо голого применить провод в изоляции и намотать уже в навал на заготовку.
Подбирать надо тщательно, проделывая все операции несколько раз, тем точнее будут показания вашего амперметра.
Соединительные провода от прибора необходимо обязательно припаивать непосредственно к шунту, иначе будут неправильные показания стрелки прибора.
¦ Соединительные провода могут быть любой длины, а потому шунт может быть расположен в любом месте корпуса выпрямителя.
¦ Необходимо подобрать шкалу к амперметру. Шкала у амперметра для измерения постоянного тока равномерная.
Один из вариантов шкалы смотрите на рисунке:
Тут можно сделать шкалу на 5 ампер, на 8 ампер или на полное отклонение стрелки до 10 ампер.
Могут быть другие шкалы, на другие цифры по шкале.
А можно подрисовать свои цифры.
Нужно немного пофантазировать.
Такой амперметр подойдет только для измерения постоянного или пульсирующего тока.
Рассмотрены не сложные схемы цифровых вольтметра и амперметра, построенных без использования микроконтроллеров на микросхемах СА3162, КР514ИД2. Обычно, у хорошего лабораторного блока питания есть встроенные приборы, — вольтметр и амперметр. Вольтметр позволяет точно установить выходное напряжение, а амперметр покажет ток через нагрузку.
В старых лабораторных блоках питания были стрелочные индикаторы, но сейчас должны быть цифровые. Сейчас радиолюбители чаще всего делают такие приборы на основе микроконтроллера или микросхем АЦП вроде КР572ПВ2, КР572ПВ5.
Микросхема СА3162Е
Но существуют и другие микросхемы аналогичного действия. Например, есть микросхема СА3162Е, которая предназначена для создания измерителя аналоговой величины с отображением результата на трехразрядном цифровом индикаторе.
Микросхема СА3162Е представляет собой АЦП с максимальным входным напряжением 999 mV (при этом показания «999») и логической схемой, которая выдает сведения о результате измерения в виде трех поочередно меняющихся двоично-десятичных четырехразрядных кодов на параллельном выходе и трех выходах для опроса разрядов схемы динамической индикации.
Чтобы получить законченный прибор нужно добавить дешифратор для работы на семисегментный индикатор и сборку из трех семисегментных индикаторов, включенных в матрицу для динамической индикации, а так же, трех управляющих ключей.
Тип индикаторов может быть любым, -светодиодные, люминесцентные, газоразрядные, жидкокристаллические, все зависит от схемы выходного узла на дешифраторе и ключах. Здесь используется светодиодная индикация на табло из трех семисегментных индикаторов с общими анодами.
Индикаторые включены по схеме динамической матрицы, то есть, все их сегментные (катодные) выводы включены параллельно. А для опроса, то есть, последовательного переключения, используются общие анодные выводы.
Принципиальная схема вольтметра
Теперь ближе к схеме. На рисунке 1 показана схема вольтметра, измеряющего напряжение от 0 до 100V (0. 99,9V). Измеряемое напряжение поступает на выводы 11-10 (вход) микросхемы D1 через делитель на резисторах R1-R3.
Конденсатор СЗ исключает влияние помех на результат измерения. Резистором R4 устанавливают показания прибора на ноль, при отсутствии входного напряжения А резистором R5 выставляют предел измерения так чтобы результат измерения соответствовал реальному, то есть, можно сказать, им калибруют прибор.
Рис. 1. Принципиальная схема цифрового вольтметра до 100В на микросхемах СА3162, КР514ИД2.
Теперь о выходах микросхемы. Логическая часть СА3162Е построена по логике ТТЛ, а выходы еще и с открытыми коллекторами. На выходах «1-2-4-8» формируется двоичнодесятичный код, который периодически сменяется, обеспечивая последовательную передачу данных о трех разрядах результата измерения.
Если используется дешифратор ТТЛ, как, например, КР514ИД2, то его входы непосредственно подключаются к данным входам D1. Если же будет применен дешифратор логики КМОП или МОП, то его входы будет необходимо подтянуть к плюсу при помощи резисторов. Это нужно будет сделать, например, если вместо КР514ИД2 будет использован дешифратор К176ИД2 или CD4056.
Выходы дешифратора D2 через токоограничивающие резисторы R7-R13 подключены к сегментным выводам светодиодных индикаторов Н1-НЗ. Одноименные сегментные выводы всех трех индикаторов соединены вместе. Для опроса индикаторов используются транзисторные ключи VT1-VT3, на базы которых подаются команды с выходов Н1-НЗ микросхемы D1.
Эти выводы тоже сделаны по схеме с открытым коллектором. Активный ноль, поэтому используются транзисторы структуры р-п-р.
Принципиальная схема амперметра
Схема амперметра показана на рисунке 2. Схема практически такая же, за исключением входа. Здесь вместо делителя стоит шунт на пятиваттном резисторе R2 сопротивлением 0,1 От. При таком шунте прибор измеряет ток до 10А (0. 9.99А). Установка на ноль и калибровка, как и в первой схеме, осуществляется резисторами R4 и R5.
Рис. 2. Принципиальная схема цифрового амперметра до 10А и более на микросхемах СА3162, КР514ИД2.
Выбрав другие делители и шунты можно задать другие пределы измерения, например, 0. 9.99V, 0. 999mA, 0. 999V, 0. 99.9А, это зависит от выходных параметров того лабораторного блока питания, в который будут установлены эти индикаторы. Так же, на основе данных схем можно сделать и самостоятельный измерительный прибор для измерения напряжения и тока (настольный мультиметр).
При этом нужно учесть, что даже используя жидкокристаллические индикаторы прибор будет потреблять существенный ток, так как логическая часть СА3162Е построена по ТТЛ-логике. Поэтому, хороший прибор с автономным питанием вряд ли получится. А вот автомобильный вольтметр (рис.4) выйдет неплохой.
Питаются приборы постоянным стабилизированным напряжением 5V. В источнике питания, в который будут они установлены, необходимо предусмотреть наличие такого напряжения при токе не ниже 150mA.
Подключение прибора
На рисунке 3 показана схема подключения измерителей в лабораторном источнике.
Рис. 3. Схема подключения измерителей в лабораторном источнике.
Рис.4. Самодельный автомобильный вольтметр на микросхемах.
Детали
Пожалуй, самое труднодоставаемое — это микросхемы СА3162Е. Из аналогов мне известна только NTE2054. Возможно есть и другие аналоги, о которых мне не известно.
С остальным значительно проще. Как уже сказано, выходную схему можно сделать на любом дешифраторе и соответствующих индикаторах. Например, если индикаторы будут с общим катодом, то нужно КР514ИД2 заменить на КР514ИД1 (цоколевка такая же), а транзисторы VТ1-VТЗ перетащить вниз, подсоединив их коллектора к минусу питания, а эмиттеры к общим катодам индикаторов. Можно использовать дешифраторы КМОП-логики, подтянув их входы к плюсу питания при помощи резисторов.
Налаживание
В общем-то оно совсем несложное. Начнем с вольтметра. Сначала замкнем между собой выводы 10 и 11 D1, и подстройкой R4 выставим нулевые показания. Затем, убираем перемычку, замыкающую выводы 11-10 и подключаем к клеммам «нагрузка» образцовый прибор, например, мультиметр.
Регулируя напряжение на выходе источника, резистором R5 настраиваем калибровку прибора так, чтобы его показания совпадали с показаниями мультиметра. Далее, налаживаем амперметр. Сначала, не подключая нагрузку, регулировкой резистора R5 устанавливаем его показания на ноль. Теперь потребуется постоянный резистор сопротивлением 20 От и мощностью не ниже 5W.
Устанавливаем на блоке питания напряжение 10V и подключаем этот резистор в качестве нагрузки. Подстраиваем R5 так чтобы амперметр показал 0,50 А.
Можно выполнить калибровку и по образцовому амперметру, но мне показалось удобнее с резистором, хотя конечно на качество калибровки очень влияет погрешность сопротивления резистора.
По этой же схеме можно сделать и автомобильный вольтметр. Схема такого прибора показана на рисунке 4. Схема от показанной на рисунке 1 отличается только входом и схемой питания. Этот прибор теперь питается от измеряемого напряжения, то есть, измеряет напряжение, поступающее на него как питающее.
Напряжение от бортовой сети автомобиля через делитель R1-R2-R3 поступает на вход микросхемы D1. Параметры этого делителя такие же как в схеме на рисунке 1, то есть для измерения в пределах 0. 99.9V.
Но в автомобиле напряжение редко бывает более 18V (больше 14,5V уже неисправность). И редко опускается ниже 6V, разве только падает до нуля при полном отключении. Поэтому прибор реально работает в интервале 7. 16V. Питание 5V формируется из того же источника, с помощью стабилизатора А1.
Шунт для амперметра. Или как сделать вольтметр из амперметра и наоборот.
Эту статью я решил написать, когда делал источник питания для своей домашней лаборатории. Из собственного опыта замечено, что на регулируемом блоке питания должен быть вольтметр, для оценки устанавливаемого напряжения. А так же амперметр, для приблизительной оценки тока потребляемого нагрузкой. Решено в новый источник питания установить эти полезные элементы: вольтметр и амперметр. Поискав в ящиках, нашел две подходящих измерительных головки (основной критерий — минимальные размеры). С максимальным током 50мкА и 30мА.
Сначала сделаем вольтметр из амперметра
Итак, перейдем к расчетам.
Самое простое сделать вольтметр из амперметра, я использую второй амперметр. Для расчетов нам понадобятся: максимальный ток отклонения стрелки — в моем случае 30мА, Максимальное напряжение, которое должен измерять наш вольтметр — 30В.
Используя закон Ома находим сопротивление: R=U/I, R=1кОм.
Значит шунт (резистор) сопротивлением 1кОм нужно подключить последовательно с амперметром. При этом мы получим вольтметр. Т.е. если через такую последовательную цепь будет протекать ток в 30мА, то падение напряжения на этом резисторе равно 30В. В моем случае мне даже не нужно изменять шкалу прибора, достаточно наклеить букву «V», чтобы было понятно, что это вольтметр.
Следует помнить, что через такой вольтметр всегда будет течь ток 0-30мА, в зависимости от измеряемого напряжения от 0-30В. А так как он используется в блоке питания это не критично. Так же не следует забывать, что резистор должен быть подходящей можности, которую определим по формуле P = I*I*R получим P=30мА*30мА*1кОм=0,9Вт ставим с запасом не меньше 1Вт.
Надо ещё учесть внутреннее сопротивление прибора. Тогда добавочный резистор считается так: Rд=Uп/Iи-Rи.
Rд — сопротивление добавочного резистора;
Uп — макс. значение выбранного предела измерения напряжения;
Iи — ток полного отклонения выбранного амперметра;
Rи — внутреннее сопротивление (рамки прибора) выбранного амперметра, оно указывается.
Делаем амперметр из амперметра у которого маленькая шкала.
У первого амперметра шкала 50мкА это очень мало, мне нужно 1,5А. Чтобы расширить диапазон измерения амперметра, нужно установить шунт, но не последовательно, а параллельно с измерительной головкой. Получается ток будет разветвляться и одна часть потечет через амперметр, а другая через сопротивление. Нужно подобрать такое сопротивление, чтобы ток в 1,5А делился на два, 50мкА через амперметр, а остальной ток через резистор.
Для расчетов понадобится знать сопротивление амперметра, но так как его я не знаю, то шунт буду изготавливать методом подгона. Для этого нужно взять медную проволоку диаметром 0,8-1мм длинной 1 метр и измерить ток, при котором стрелка отклоняется в крайнее положение.
Для этого понадобится регулируемый источник напряжения и нагрузка, я использовал автомобильную лампочку. Далее таким образом подгоняем шунт увеличивая длину проволоки если нужно уменьшить максимальный ток или укорачиваем проволоку если нужно увеличить максимальное значение шкалы амперметра.
У меня получился вот такой шунт в четыре слоя. Края я проклеил силиконовым клеем.
Следует помнить, что если случайно оторвется шунт, то через микроамперметр потечет большой ток и он выйдет из строя.
Амперметр из вольтметра делается по аналогии с первым вариантом, только шунт устанавливается не последовательно а параллельно. Также бывает, что в вольтметрах устанавливаются внутренние резисторы, убрав которые можно получить амперметр.
Следует помнить что амперметр должен иметь минимальное сопротивление, а вольтметр должен обладать очень высоким сопротивлением.
Как из миллиамперметра сделать вольтметр
Наглядность — большое дело. Вот и народная мудрость гласит: — «Лучше раз увидеть, чем сто услышать». А в электронике, где протекающие процессы в работе того или иного устройства, подтверждаются зачастую косвенно, а то и вообще подразумеваются и даже берутся на веру, наглядное отображение вообще переоценить сложно. Недаром таким почитанием в среде радиолюбителей пользуются осциллографы, дающие возможность «заглянуть» даже внутрь процесса. Но не буду о сложном – разобраться бы с простым. Собрал почти десяток различных зарядных устройств, а для зарядки аккумуляторов использую всё больше простенький лабораторный блок питания, имеющий визуальное отображение выходного напряжения и тока. Измерительные головки чётко информируют, сколько вольт и миллиампер идёт на заряжаемый аккумулятор. Вот только далеко не везде есть возможность их использовать, даже самые маленькие из них, зачастую всё равно будут непомерно большими для многих радиолюбительских самоделок. А вот стрелочные индикаторы от магнитофонов и других радиотехнических устройств прошлого века, которые не перевелись на базарах до сих пор, будут тут в самый раз. Вот некоторые из них:
Стрелочный индикатор М476 предназначен для работы в цепях постоянного тока, при любом положении шкалы. Ток полного отклонения (зависит от модели) 40 — 300 мкА. Внутреннее сопротивление 4000 Ом. Длина шкалы — 28 мм, масса 25 гр.
Стрелочный индикатор М4762 предназначен для работы при вертикальном положении шкалы. Ток отклонения 220 — 270 мкА. Внутреннее сопротивление 2800 Ом. Размеры 49 х 45 х 32 мм. Длина шкалы – 34 мм.
Стрелочный индикатор М68502 предназначен для работы при любом положении шкалы. Ток полного отклонения не более 250мкА. Внутреннее сопротивление 1000 Ом. Размеры 21,5 х 60 х 60,5 мм. Масса 30 гр. Эти индикаторы и им подобные объединяет:
- небольшой размер
- простота конструкции
- низкая стоимость
- и, конечно же, принцип действия
Принцип действия основан на взаимодействии двух магнитных полей. Поля постоянного магнита и поля, образованного током, проходящим по бескаркасной рамке, которая состоит из большого числа (115 — 150) витков медного провода диаметром всего 8 — 9 микрон. Не вникая в нюансы можно назвать два основных действия, которые необходимо произвести для того, чтобы стало возможным использовать имеющийся индикатор:
- Оснастить его шунтом или добавочным сопротивлением (применяются для изменения верхнего предела измерения), в зависимости от того как будете его использовать (вольтметр / амперметр).
- Изготовить новую шкалу.
Подбор шунта – подходящий по мощности низкоомный резистор ставим на контакты индикатора, параллельно ему переменный резистор с большим сопротивлением, выставляем ток, на который будет использоваться индикатор, вращением переменного резистора устанавливаем стрелку на крайнее правое деление шкалы.
Подбор добавочного сопротивления – подходящий по мощности переменный резистор большого сопротивления ставим на один из контактов индикатора, выставляем напряжение и вращением резистора устанавливаем стрелку на крайнее правое деление шкалы. Теперь дело за малым – нужно «добраться» до шкалы внутри индикатора, а для этого необходимо открыть его корпус. И вот тут впору растеряться, потому как никакого крепежа нет и корпус, состоящий из двух половинок, элементарно склеен. Потому, насколько качественно эта операция выполнена и какой клей применён, можно судить о том родились ли Вы под счастливой звездой )). Будем открыть индикатор М4762, на мой взгляд, самый сложный вариант. Но даже если был применён дихлорэтан, отчаиваться не стоит, так как он наверняка растворил только верхний слой органического стекла – материала, из которого изготовлен корпус. Поэтому берём в руки надфиль с крупной насечкой и обтачиваем по периметру место соединения двух половинок корпуса, равномерно со всех сторон.
В процессе обтачивания периодически необходимо пробовать разъединить половинки корпуса, прилагая при этом какое-то усилие. В результате всё получилось.
Изготовить новую шкалу не сложно:
- сканируем старую
- вставляем изображение в специализированный графический редактор Sprint-Layout
- обрисовываем
- распечатываем
- вырезаем и клеим по месту
Что там ни говори, а даже самый простой пробник с индикатором — это уже целый измерительный прибор!
Обсудить статью СТРЕЛОЧНЫЕ ПРИБОРЫ — ИНДИКАТОРЫ
Ситуации, когда под рукой должен находиться вольтметр, встречаются достаточно часто. Для этого нет необходимости использовать заводской сложный прибор. Изготовить простенький вольтметр своими руками – не проблема, потому что состоит он из двух элементов: стрелочный измерительный блок и резистор. Правда, необходимо отметить, что пригодность вольтметра определяется его входным сопротивлением, которое состоит из сопротивлений его элементов.

То есть, получается так, что входное сопротивления на разных измеряемых участках разное, а относительная величина – показатель постоянный. К тому же, чем меньше отклоняется стрелка измерительного блока, тем больше относительная величина, а, значит, точнее будут измерения.
Прибор для измерения нескольких пределов
Кто не раз сталкивался с транзисторными конструкциями и схемами знает, что очень часто вольтметром приходится замерять цепи с напряжением от десятков долей одного вольта до сотен вольт. Простой приборчик, изготовленный своими руками, с одним резистором это не осилит, поэтому в схему придется подключить несколько элементов с разным сопротивлением. Чтобы вы поняли, о чем идет речь, предлагаем ознакомиться со схемой, расположенной снизу:
На ней показано, что в схеме установлено четыре резистора, каждый из которых отвечает за свой диапазон измерений:
- От 0 вольт до единицы.
- От 0 вольт до 10В.
- От 0 В до 100 вольт.
- От 0 до 1000 В.
Номинал каждого резистора поддается подсчету, который проводится на основе закона Ома. Здесь используется следующая формула:
- Rп – это сопротивление измерительного блока, возьмем, к примеру. 500 Ом;
- Uп – это максимальное напряжение измеряемого предела;
- Iи – это сила тока, при которой стрелка отклоняется до конца шкалы, в нашем случае – 0,0005 ампер.
Для несложного вольтметра из китайского амперметра можно выбрать следующие резисторы:
- для первого предела – 1,5 кОм;
- для второго – 19,5 кОм;
- для третьего – 199,5;
- для четвертого – 1999,5.
А вот относительная величина сопротивления этого прибора будет равна 2 кОм/В. Конечно, расчетные номиналы не совпадают со стандартными, поэтому резисторы придется подбирать близкими по значению. Далее проводится финишная подгонка, при которой производится градуировка самого прибора.
Как переделать вольтметр постоянного напряжения в переменное
Показанная на рисунке №1 схема – это вольтметр постоянного тока. Чтобы его сделать переменным или, как говорят специалисты, пульсирующим, необходимо в конструкцию установить выпрямитель, с помощью которого постоянное напряжение преобразуется в переменное. На рисунке №2 вольтметр переменного тока показан схематически.
Данная схема работает так:
- когда на левом зажиме находится положительная полуволна, то открывается диод D1, D2 в этом случае закрыт;
- напряжение проходит через амперметр к правому зажиму;
- когда положительная полуволна находится на правом конце, то D1 закрывается, и напряжение через амперметр не проходит.
В схему обязательно добавляется резистор Rд, сопротивление которого рассчитывается точно так же, как и остальные элементы. Правда, его расчетное значение делится на коэффициент, равный 2,5-3. Это в том случае, если в вольтметр устанавливается однополупериодный выпрямитель. Если используется двухполупериодный выпрямитель, то значение сопротивления делится на коэффициент: 1,25-1,5. Кстати, схема последнего изображена на рисунке №3.
Как правильно подключить вольтметр
Тот, кто не знает, но хочет проверить напряжение на каком-то участке электрической сети, должен задаться вопросом – как подключить вольтметр? Это на самом деле серьезный вопрос, в ответе которого лежит простое требование – подключение вольтметра необходимо проводить только параллельно нагрузке. Если будет произведено последовательное подключение, то сам прибор просто выйдет из строя, и вас может ударить током.
Все дело в том, что при таком соединении уменьшается сила тока, действующая на сам измерительный прибор. При этом сопротивлении его не меняется, то есть, остается большим. Кстати, никогда не путайте вольтметр с амперметром. Последний подключается к цепи последовательно, чтобы снизить показатель сопротивления до минимума.
И последний вопрос темы – как пользоваться вольтметром, изготовленным самостоятельно. Итак, в вашем приборе два щупа. Один подключается к нулевому контуру, второй к фазе. Так же можно проверить напряжение через розетку, предварительно определив, к какому гнезду запитан ноль, а к какому фаза. Или соединяете параллельно прибор к измеряемому участку. Стрелка измерительного блока покажет величину напряжения в сети. Вот так пользуются этим самодельным измерительным прибором.
Рассмотрены не сложные схемы цифровых вольтметра и амперметра, построенных без использования микроконтроллеров на микросхемах СА3162, КР514ИД2. Обычно, у хорошего лабораторного блока питания есть встроенные приборы, — вольтметр и амперметр. Вольтметр позволяет точно установить выходное напряжение, а амперметр покажет ток через нагрузку.
В старых лабораторных блоках питания были стрелочные индикаторы, но сейчас должны быть цифровые. Сейчас радиолюбители чаще всего делают такие приборы на основе микроконтроллера или микросхем АЦП вроде КР572ПВ2, КР572ПВ5.
Микросхема СА3162Е
Но существуют и другие микросхемы аналогичного действия. Например, есть микросхема СА3162Е, которая предназначена для создания измерителя аналоговой величины с отображением результата на трехразрядном цифровом индикаторе.
Микросхема СА3162Е представляет собой АЦП с максимальным входным напряжением 999 mV (при этом показания «999») и логической схемой, которая выдает сведения о результате измерения в виде трех поочередно меняющихся двоично-десятичных четырехразрядных кодов на параллельном выходе и трех выходах для опроса разрядов схемы динамической индикации.
Чтобы получить законченный прибор нужно добавить дешифратор для работы на семисегментный индикатор и сборку из трех семисегментных индикаторов, включенных в матрицу для динамической индикации, а так же, трех управляющих ключей.
Тип индикаторов может быть любым, -светодиодные, люминесцентные, газоразрядные, жидкокристаллические, все зависит от схемы выходного узла на дешифраторе и ключах. Здесь используется светодиодная индикация на табло из трех семисегментных индикаторов с общими анодами.
Индикаторые включены по схеме динамической матрицы, то есть, все их сегментные (катодные) выводы включены параллельно. А для опроса, то есть, последовательного переключения, используются общие анодные выводы.
Принципиальная схема вольтметра
Теперь ближе к схеме. На рисунке 1 показана схема вольтметра, измеряющего напряжение от 0 до 100V (0. 99,9V). Измеряемое напряжение поступает на выводы 11-10 (вход) микросхемы D1 через делитель на резисторах R1-R3.
Конденсатор СЗ исключает влияние помех на результат измерения. Резистором R4 устанавливают показания прибора на ноль, при отсутствии входного напряжения А резистором R5 выставляют предел измерения так чтобы результат измерения соответствовал реальному, то есть, можно сказать, им калибруют прибор.
Рис. 1. Принципиальная схема цифрового вольтметра до 100В на микросхемах СА3162, КР514ИД2.
Теперь о выходах микросхемы. Логическая часть СА3162Е построена по логике ТТЛ, а выходы еще и с открытыми коллекторами. На выходах «1-2-4-8» формируется двоичнодесятичный код, который периодически сменяется, обеспечивая последовательную передачу данных о трех разрядах результата измерения.
Если используется дешифратор ТТЛ, как, например, КР514ИД2, то его входы непосредственно подключаются к данным входам D1. Если же будет применен дешифратор логики КМОП или МОП, то его входы будет необходимо подтянуть к плюсу при помощи резисторов. Это нужно будет сделать, например, если вместо КР514ИД2 будет использован дешифратор К176ИД2 или CD4056.
Выходы дешифратора D2 через токоограничивающие резисторы R7-R13 подключены к сегментным выводам светодиодных индикаторов Н1-НЗ. Одноименные сегментные выводы всех трех индикаторов соединены вместе. Для опроса индикаторов используются транзисторные ключи VT1-VT3, на базы которых подаются команды с выходов Н1-НЗ микросхемы D1.
Эти выводы тоже сделаны по схеме с открытым коллектором. Активный ноль, поэтому используются транзисторы структуры р-п-р.
Принципиальная схема амперметра
Схема амперметра показана на рисунке 2. Схема практически такая же, за исключением входа. Здесь вместо делителя стоит шунт на пятиваттном резисторе R2 сопротивлением 0,1 От. При таком шунте прибор измеряет ток до 10А (0. 9.99А). Установка на ноль и калибровка, как и в первой схеме, осуществляется резисторами R4 и R5.
Рис. 2. Принципиальная схема цифрового амперметра до 10А и более на микросхемах СА3162, КР514ИД2.
Выбрав другие делители и шунты можно задать другие пределы измерения, например, 0. 9.99V, 0. 999mA, 0. 999V, 0. 99.9А, это зависит от выходных параметров того лабораторного блока питания, в который будут установлены эти индикаторы. Так же, на основе данных схем можно сделать и самостоятельный измерительный прибор для измерения напряжения и тока (настольный мультиметр).
При этом нужно учесть, что даже используя жидкокристаллические индикаторы прибор будет потреблять существенный ток, так как логическая часть СА3162Е построена по ТТЛ-логике. Поэтому, хороший прибор с автономным питанием вряд ли получится. А вот автомобильный вольтметр (рис.4) выйдет неплохой.
Питаются приборы постоянным стабилизированным напряжением 5V. В источнике питания, в который будут они установлены, необходимо предусмотреть наличие такого напряжения при токе не ниже 150mA.
Подключение прибора
На рисунке 3 показана схема подключения измерителей в лабораторном источнике.
Рис. 3. Схема подключения измерителей в лабораторном источнике.
Рис.4. Самодельный автомобильный вольтметр на микросхемах.
Детали
Пожалуй, самое труднодоставаемое — это микросхемы СА3162Е. Из аналогов мне известна только NTE2054. Возможно есть и другие аналоги, о которых мне не известно.
С остальным значительно проще. Как уже сказано, выходную схему можно сделать на любом дешифраторе и соответствующих индикаторах. Например, если индикаторы будут с общим катодом, то нужно КР514ИД2 заменить на КР514ИД1 (цоколевка такая же), а транзисторы VТ1-VТЗ перетащить вниз, подсоединив их коллектора к минусу питания, а эмиттеры к общим катодам индикаторов. Можно использовать дешифраторы КМОП-логики, подтянув их входы к плюсу питания при помощи резисторов.
Налаживание
В общем-то оно совсем несложное. Начнем с вольтметра. Сначала замкнем между собой выводы 10 и 11 D1, и подстройкой R4 выставим нулевые показания. Затем, убираем перемычку, замыкающую выводы 11-10 и подключаем к клеммам «нагрузка» образцовый прибор, например, мультиметр.
Регулируя напряжение на выходе источника, резистором R5 настраиваем калибровку прибора так, чтобы его показания совпадали с показаниями мультиметра. Далее, налаживаем амперметр. Сначала, не подключая нагрузку, регулировкой резистора R5 устанавливаем его показания на ноль. Теперь потребуется постоянный резистор сопротивлением 20 От и мощностью не ниже 5W.
Устанавливаем на блоке питания напряжение 10V и подключаем этот резистор в качестве нагрузки. Подстраиваем R5 так чтобы амперметр показал 0,50 А.
Можно выполнить калибровку и по образцовому амперметру, но мне показалось удобнее с резистором, хотя конечно на качество калибровки очень влияет погрешность сопротивления резистора.
По этой же схеме можно сделать и автомобильный вольтметр. Схема такого прибора показана на рисунке 4. Схема от показанной на рисунке 1 отличается только входом и схемой питания. Этот прибор теперь питается от измеряемого напряжения, то есть, измеряет напряжение, поступающее на него как питающее.
Напряжение от бортовой сети автомобиля через делитель R1-R2-R3 поступает на вход микросхемы D1. Параметры этого делителя такие же как в схеме на рисунке 1, то есть для измерения в пределах 0. 99.9V.
Но в автомобиле напряжение редко бывает более 18V (больше 14,5V уже неисправность). И редко опускается ниже 6V, разве только падает до нуля при полном отключении. Поэтому прибор реально работает в интервале 7. 16V. Питание 5V формируется из того же источника, с помощью стабилизатора А1.
Вольтметр своими руками: изготовление и проведение измерений
Ситуации, когда под рукой должен находиться вольтметр, встречаются достаточно часто. Для этого нет необходимости использовать заводской сложный прибор. Изготовить простенький вольтметр своими руками – не проблема, потому что состоит он из двух элементов: стрелочный измерительный блок и резистор. Правда, необходимо отметить, что пригодность вольтметра определяется его входным сопротивлением, которое состоит из сопротивлений его элементов.

То есть, получается так, что входное сопротивления на разных измеряемых участках разное, а относительная величина – показатель постоянный. К тому же, чем меньше отклоняется стрелка измерительного блока, тем больше относительная величина, а, значит, точнее будут измерения.
Прибор для измерения нескольких пределов
Кто не раз сталкивался с транзисторными конструкциями и схемами знает, что очень часто вольтметром приходится замерять цепи с напряжением от десятков долей одного вольта до сотен вольт. Простой приборчик, изготовленный своими руками, с одним резистором это не осилит, поэтому в схему придется подключить несколько элементов с разным сопротивлением. Чтобы вы поняли, о чем идет речь, предлагаем ознакомиться со схемой, расположенной снизу:
На ней показано, что в схеме установлено четыре резистора, каждый из которых отвечает за свой диапазон измерений:
- От 0 вольт до единицы.
- От 0 вольт до 10В.
- От 0 В до 100 вольт.
- От 0 до 1000 В.
Номинал каждого резистора поддается подсчету, который проводится на основе закона Ома. Здесь используется следующая формула:
- Rп – это сопротивление измерительного блока, возьмем, к примеру. 500 Ом;
- Uп – это максимальное напряжение измеряемого предела;
- Iи – это сила тока, при которой стрелка отклоняется до конца шкалы, в нашем случае – 0,0005 ампер.
Для несложного вольтметра из китайского амперметра можно выбрать следующие резисторы:
- для первого предела – 1,5 кОм;
- для второго – 19,5 кОм;
- для третьего – 199,5;
- для четвертого – 1999,5.
А вот относительная величина сопротивления этого прибора будет равна 2 кОм/В. Конечно, расчетные номиналы не совпадают со стандартными, поэтому резисторы придется подбирать близкими по значению. Далее проводится финишная подгонка, при которой производится градуировка самого прибора.
Как переделать вольтметр постоянного напряжения в переменное
Показанная на рисунке №1 схема – это вольтметр постоянного тока. Чтобы его сделать переменным или, как говорят специалисты, пульсирующим, необходимо в конструкцию установить выпрямитель, с помощью которого постоянное напряжение преобразуется в переменное. На рисунке №2 вольтметр переменного тока показан схематически.
Данная схема работает так:
- когда на левом зажиме находится положительная полуволна, то открывается диод D1, D2 в этом случае закрыт;
- напряжение проходит через амперметр к правому зажиму;
- когда положительная полуволна находится на правом конце, то D1 закрывается, и напряжение через амперметр не проходит.
В схему обязательно добавляется резистор Rд, сопротивление которого рассчитывается точно так же, как и остальные элементы. Правда, его расчетное значение делится на коэффициент, равный 2,5-3. Это в том случае, если в вольтметр устанавливается однополупериодный выпрямитель. Если используется двухполупериодный выпрямитель, то значение сопротивления делится на коэффициент: 1,25-1,5. Кстати, схема последнего изображена на рисунке №3.
Как правильно подключить вольтметр
Тот, кто не знает, но хочет проверить напряжение на каком-то участке электрической сети, должен задаться вопросом – как подключить вольтметр? Это на самом деле серьезный вопрос, в ответе которого лежит простое требование – подключение вольтметра необходимо проводить только параллельно нагрузке. Если будет произведено последовательное подключение, то сам прибор просто выйдет из строя, и вас может ударить током.
Все дело в том, что при таком соединении уменьшается сила тока, действующая на сам измерительный прибор. При этом сопротивлении его не меняется, то есть, остается большим. Кстати, никогда не путайте вольтметр с амперметром. Последний подключается к цепи последовательно, чтобы снизить показатель сопротивления до минимума.
И последний вопрос темы – как пользоваться вольтметром, изготовленным самостоятельно. Итак, в вашем приборе два щупа. Один подключается к нулевому контуру, второй к фазе. Так же можно проверить напряжение через розетку, предварительно определив, к какому гнезду запитан ноль, а к какому фаза. Или соединяете параллельно прибор к измеряемому участку. Стрелка измерительного блока покажет величину напряжения в сети. Вот так пользуются этим самодельным измерительным прибором.
Стрелочный вольтметр на любое напряжение своими руками
Первым делом необходимо вскрыть и разобрать электромагнитную измерительную головку.
Внутри мы можем увидеть выпрямительный диод и токоограничивающий резистор.
Напряжение с клемм вольтметра подается на обмотку измерительной головки именно через эту цепочку из диода и резистора. От них немного позднее мы избавимся, а сейчас аккуратно вынимаем шкалу, она крепится при помощи двухстороннего скотча.
После этого шкалу необходимо отсканировать.
Далее получившийся рисунок необходимо отредактировать. Для этой цели подойдет любой редактор, даже всем известный «Paint» без особого труда справится с этой задачей. Удаляем все дефекты, дорисовываем неполные линии, символы и надписи, ну и естественно меняем циферки на нужные.
В данном случае шкалу было решено сделать на 16В.
Затем берем линеечку и измеряем размеры родной шкалы.
После этого открываем Word, вставляем туда наш рисунок, указываем полученные размеры, ну и в конечно же распечатываем все это дело, лучше сразу несколько штук, мало ли что.
Теперь бумажку необходимо обрезать до нужных размеров.
После чего приклеиваем ее на место любым подручным клеем.
Так, с этим вроде разобрались, теперь аккуратно откусываем цепочку из резистора и диода, о которой говорилось в начале статьи.
Теперь необходимо припаять торчащие выводы друг к другу вот так:
Таким образом, напряжение, которое мы подадим на клеммы вольтметра, непосредственно пойдет на обмотку измерительной головки. Данная электромагнитная измерительная головка довольно чувствительная, и стрелка полностью отклоняется если на клеммы подать напряжение всего лишь в 0,5В.
Так дело не пойдет. Это никуда не годится, так как по нашей задумке стрелка прибора должна отклоняться до предела только в том случае, если на клеммы поддается напряжение 16В.
Для того, чтобы это исправить нам понадобится переменный, а лучше подстроечный многооборотный резистор с сопротивлением 20-50кОм.
После чего необходимо собрать вот такую простейшую схему, которая сейчас перед вами:
Для калибровки индикатора очень желательно наличие лабораторного блока питания, но за неимением такового вполне можно ограничиться любым адаптером питания вольт на 6. Далее параллельно источнику питания необходимо подключить мультиметр, он у нас будет в качестве эталона.
Теперь на вход подаем напряжение и медленно вращаем подстроечный резистор до тех пор, пока стрелка не покажет то напряжение, которое мы видим на мультиметре.
То есть, достаточно всего лишь откалибровать головку на конкретной отметке, а за счет того, что шкала линейная, другие значения напряжения наш измеритель будет также адекватно показывать.
После того, как калибровка завершена, подстроечный резистор необходимо выпаять.
Далее необходимо замерить полученное сопротивление, и на место выпаянного подстроечного резистора устанавливаем постоянный резистор с таким же сопротивлением.
Если под рукой нет нужного резистора, то можно соединить несколько резисторов последовательно для получения необходимого значения сопротивления.
Для данного проекта желательно использовать резисторы с погрешностью в 1 и меньше процент.
Подстроечник конечно можно оставить, но перед этим необходимо будет заклеить регулирующий винт, чтобы предотвратить его смещение.
Очень часто для постройки и измерительных головок, в самом начале через ограничительное сопротивление на головку падают эталонное напряжение и на пустой шкале делают метки, которые учитываются во время создания шкалы в редакторе. Такой подход более предпочтителен, так как это позволяет построить измерительные головки довольно высокой точности.
А на этом все. Благодарю за внимание. До новых встреч!
Видеоролик автора:
Источник 
Получайте на почту подборку новых самоделок. Никакого спама, только полезные идеи!
*Заполняя форму вы соглашаетесь на обработку персональных данных
Становитесь автором сайта, публикуйте собственные статьи, описания самоделок с оплатой за текст. Подробнее здесь.
Переделка стрелочного вольтметра в амперметр | самоделки
- 00:00: всем привет если вы смотрели мое предыдущее видео про переделку амперметра на любой другой ток я думаю принципе сам принцип переделки вольтметр и амперметр вам уже будет понятен но для начала немного предыстории у меня было несколько в их метров на 50 вольт этот и еще вот два от этих но этот я умудрился
- 00:32: как-то упустить с рук и у него короче отошла стрелка не не дергалась и что бывают ремонтировать мне когда-то пришлось его разобрать это довольно таки химерные процесс так как здесь балтики вообще не рассчитаны на то чтобы их откручивали с этой стороны такие как бы нарезана
- 01:04: гаечки пришлось накрывать паяльником довольно-таки долго нагревать ну и тогда уже это гаечка поддалась ну это и все все четыре другие разобрал я там направил этот механизм и как-то у меня этот вольтметр валялся уже разобраны довольно таки много времени несколько лет наверное и тут вчера
- 01:36: мне пришла такая идея почему бы не переделать вольтметр в амперметра тем более у меня есть еще 2 штуки а этот как бы рынка и реинкарнировать ну и собственно что же я и сделал это был такой интересный резистор такого как
- 02:06: бы фиолетового цвета его выпало уже давно и не помню где он к сожалению не покажу суть переделки вот в чем я подпаял у такой вот перень подстроечный резистор то есть средний и один боковой контакте я
- 02:36: припаял но сюда 2 уже идет непосредственно к вольтметру есть ничего необычного тот же резистор на 0 одним фома из предыдущего видео ну и собственно я немножко подкрутил потому что там нет не так как в предыдущем видео интер метр был как бы
- 03:08: мили вольтметром здесь немного по-другому было немножко подкрутил подстроил и в принципе до 1 ампера показания ничем не отличается ну а если уже доходит где-то до половины то почему то начинает врать не знаю почему такая нелинейность может быть это
- 03:38: специально так сделано для вольтметра и даже даже не знаю ну свыше 3 ампер я не не тестировал но когда показываю здесь три то на самом деле немножко или больше или меньше я уже не помню мало времени по дозировке заодно мы протестируем с вами посмотрим что же приступим не все как прошлый раз только
- 04:09: нагрузка по пашне и это 40 ватт на я лампочка здесь весь спирали соединенные параллельно что ж приступим тестирование так не помню говорил ли вампир метра соединены последовательно так как видим цифровой говорит что ток 4
- 04:40: ампера а этот же показывает 4 и 1 кстати как видите стрелочка примерно на нуле тоже попробуем не знаю как показать какой лучше хотя ночи
- 05:11: цифровой так 2 027 здесь же 0 до в принципе можно подкрутить еще этот регулятор но я не знаю что до или тот подстроечный резистор там внутри
- 05:41: ну в принципе целом и не такой точности как от этого амперметра и не нужно а если честно это просто не охота разбирать опять как видите здесь 026 вот может приостановить так 04 здесь даже ниже чем 04
- 06:14: как то так если вам видео понравилось то ставьте лайк если не понравилось ставьте дизлайк подписывайтесь на мой канал всем пока от заметила что лампа накаливания ты к довольно мощные при включении как
- 06:44: электродвигатель spajic потребляет довольно таки нехилый ток что-то отошла сейчас я вам покажу телочка уходит как бы дальше пике
- 07:15: что ж попробуем протестировать на уже знакомом вам кулере говен он


































































/c9f8417bdc1aafe.s.siteapi.org/img/7cdc85374a6ec7a4ca37a584f96350e8a19a516c.jpg)




























































































