Что это,
светодиодная лента
— это гибкая лента (печатная плата), на которой размещены бескорпусные светодиоды и токоограничивающие резисторы. Конструкция ленты позволяет отрезать от неё нужные куски в зависимости от конкретных требований. Рядом с линией разреза имеются контактные площадки, к которым припаиваются питающие провода. С обратной стороны на светодиодную ленту нанесена самоклеящаяся пленка. Наиболее популярными являются ленты с питанием 12В.
Рис. 2.
Waterproof 5050 SMD LED Strip.
Данная светодиодная лента имеет следующие характеристики: угол излучения света — 120 градусов напряжение питания — 12В потребляемый ток — 1,2А на 1 метр световой поток — 780-900 Lm/m класс защиты — IP65
Почти год лента пролежала без дела, но когда во второй раз у меня «вылетел» ЭПРА (электронный пускорегулирующий аппарат) в люминесцентном светильнике, используемом для подсветки рабочего места около компьютера, я понял, что нужно переходить на более современные способы организации освещения.
В качестве корпуса был использован все тот же вышедший из строя светильник для люминесцентных ламп мощностью 8 Вт и длиной 30 см. Его переделка под «светодиодный вариант» очень проста.
Светильник разбираем, извлекаем плату ЭПРА и наклеиваем на внутреннюю поверхность светильника светодиодную ленту. Всего получилось шесть сегментов по три светодиода в каждом сегменте или в общей сложности 18 светодиодов, установленных с интервалом в 15 мм между ними (рис.3).
Рис. 3.
Самодельный светодиодный светильник.
Неисправный ЭПРА выбрасывать не нужно, его печатную плату вполне можно использовать для блока питания нашего светильника. Да и не только, плату, а и некоторые его компоненты (разумеется, при условии, что они остались исправными), например, диодный мост. На блоке питания остановимся более подробно.
Для питания светодиодов необходимо применять блоки питания со стабилизацией по току. Иначе светодиоды будут постепенно разогреваться до критической температуры, что неизбежно приведет к их выходу из строя.
Наиболее простым и оптимальным решением в нашем случае будет использование бестрансформаторного блока питания с балластным конденсатором (рис. 4).
Рис. 4 Бестрансформаторный блок питания с балластным конденсатором
Сетевое напряжение гасится балластным конденсатором С1 и подается на выпрямитель, собранный на диодах VD1-VD4. С выпрямителя постоянное напряжение поступает на сглаживающий фильтр С2.
Резисторы R2 и R3 служат для быстрой разрядки конденсаторов С1 и С2 соответственно. Резистор R1 ограничивает ток в момент включения, а стабилитрон VD5 ограничивает выходное напряжение блока питания на уровне не более 12В в случае обрыва светодиодной ленты.
Основным элементом данной схемы, который требует расчета, является конденсатор С1. Именно от его номинала зависит ток, который может обеспечить блок питания. Для расчета проще всего воспользоваться специальным калькулятором, который можно найти в сети.
Максимальный ток, согласно паспортных данных, при длине отрезка светодиодной ленты 30 см должен составлять 1,2 А / 0,3 = 400 mA. Разумеется, не стоит питать светодиоды максимальным током.
Я решил ограничить его приблизительно на уровне 150 мА. При таком токе светодиоды обеспечивают оптимальное (для субъективного восприятия) свечение при незначительном нагреве. Введя исходные данные в калькулятор, получаем значение емкости конденсатора С1, равное 2,079 мкФ (рис. 5).
Рис. 5. Расчет конденсатора для схемы блока питания.
Выбираем наиболее близкий стандартный номинал конденсатора относительно полученного в расчете. Это будет номинал 2,2 мкФ. Напряжение, на которое рассчитан конденсатор, должно быть не менее 400В.
Выполнив расчет балластного конденсатора и подобрав элементы схемы блока питания, размещаем их на плате неисправного ЭПРА. Все лишние детали желательно удалить (кроме моста из четырех диодов). Вид платы блока питания, смотрите на рис. 6.
В таком источнике питания к сети
переменного напряжения подключены последовательно соединенные конденсатор и
нагрузка. Рассмотрим вначале работу источника с чисто резистивной нагрузкой
(рис.1,а).
Из курса электротехники известно,
что полное сопротивление последовательно включенных конденсатора С1 и
резистора Рн равно:
где X c 1 =1/2n*f*C1 —
емкостное сопротивление конденсатора на частоте f.
Поэто-
Рис.1
му эффективный переменный
ток в цепи Iэфф=Uс/Z (Uc — напряжение питающей сети).
Нагрузочный ток связан с емкостью конденсатора, выходным напряжением источника
и напряжением сети следую
Для малых значений выходного напряжения
Iэфф=2л*f*С1*Uс.
В качестве примера, полезного в практике, проведем расчет
гасящего конденсатора для включения в сеть 220 В паяльника на 127 В мощностью
40 Вт. Необходимое эффективное значение тока нагрузки Iэфф=40/127=0,315 А.
Расчетная емкость гасящего конденсатора
Для работы нагревательных приборов
важно значение именно эффективного тока. Однако, если нагрузкой является, например,
аккумуляторная батарея, включенная в диагональ выпрямительного моста (рис. 1
,б), заряжать ее будет уже сред-невыпрямленный (пульсирующий) ток, численное
значение которого меньше Iэфф:
В радиолюбительской практике
часто используют источник, в котором гасящий конденсатор включен в сеть
последовательно с диодным мостом, а нагрузка, за-шунтированная другим
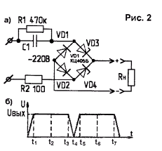
конденсатором, питается от выходной диагонали моста (рис. 2). В этом случае
цепь становится резко нелинейной и форма тока, протекающего через мост и
гасящий конденсатор, будет отличаться от синусоидальной. Из-за этого
представленный выше расчет оказывается неверным.
Каковы процессы, происходящие в
источнике со сглаживающим конденсатором С2 емкостью, достаточной для того,
чтобы считать пульсации выходного напряжения пренебрежимо малыми? Для гасящего
конденсатора С1 диодный мост (вместе с С2 и Rн) в установившемся режиме
представляет собой некий эквивалент симметричного стабилитрона. При напряжении
на этом эквиваленте, меньшем некоторого значения (оно практически равно
напряжению Uвых на конденсаторе С2), мост закрыт и тока не проводит, при
большем — через открытый мост течет ток, не давая увеличиваться напряжению на
входе моста.
Рассмотрение начнем с момента ti, когда напряжение сети максимально (рис. 3). Конденсатор
С1 заряжен до амплитудного напряжения сети Uс.амп за вычетом напряжения на
диодном мосте uм, примерно равного Uвых. Ток через конденсатор
С1 и закрытый мост равен нулю. Напряжение в сети уменьшается по
косинусоидальному закону (график 1), на мосте также уменьшается (график 2), а
напряжение на конденсаторе С1 не меняется.
Ток конденсатора останется нулевым до тех пор, пока
напряжение на диодном мосте, сменив знак на противоположный, не достигнет
значения -Uвых (момент t2). В этот момент появится
скачком ток lei через конденсатор С1 и мост. Начиная с
момента t2, напряжение на мосте не меняется, а ток определяется скоростью
изменения напряжения сети и, следовательно, будет точно таким же, как если бы
к сети был подключен только конденсатор С1 (график 3).
Когда напряжение сети достигнет отрицательного амплитудного
значения (момент t 3), ток через конденсатор
С1 снова станет равным нулю. Далее процесс повторяется каждый полупериод.
Ток через мост протекает лишь в интервале времени от t 2 до t 3 , его
среднее значение может быть рассчитано как площадь заштрихованной части синусоиды
на графике 3. Несложные расчеты, требующие, однако, знания дифференциального и
интегрального исчисления, дают такую формулу для среднего тока Iср через
нагрузку Rн:
(2)
При малых значениях выходного напряжения эта формула и
ранее полученная (1) дают одинаковый результат. Если в (2) выходной ток
приравнять к нулю, получим Uвыx=Uc*2 ^1/2 , т. е. при токе нагрузки, равном нулю
(при случайном отключении нагрузки, скажем, из-за ненадежного контакта),
выходное напряжение источника становится равным амплитудному напряжению сети.
Это означает, что все элементы источника должны выдерживать такое напряжение.
При уменьшении тока нагрузки, например, на 10%, выходное напряжение увеличится
так, чтобы выражение в скобках также уменьшилось на 10%, т. е. примерно на 30
В (при Uвых=10 В). Вывод — включение стабилитрона параллельно нагрузке Rн (как
показано штриховыми линиями на рис. 2) практически обязательно.
Для однополупериодного выпрямителя (рис. 4) ток
рассчитывают по следующей формуле:
Естественно, при малых значениях выходного напряжения ток
нагрузки будет вдвое меньше, чем для двуполупери-одного выпрямителя, а
выходное напряжение при нулевом токе нагрузки — вдвое больше — ведь это
выпрямитель с удвоением напряжения!
Порядок расчета источников по схеме на рис. 2 следующий.
Вначале задаются выходным напряжением Uвых, максимальным Iн max
и минимальным I н min значения-ми
тока нагрузки, максимальным Uc max и минимальным Uc
min значениями напряжения сети. Выше уже было
указано, что при меняющемся токе нагрузки обязателен стабилитрон, включенный
параллельно нагрузке Rн. Как его выбирать? При минимальном напряжении сети и
максимальном токе нагрузки через стабилитрон должен протекать ток не менее
допустимого минимального тока стабилизации 1ст min. Можно задаться значением в
пределах 3…5 мА. Теперь определяют емкость гасящего конденсатора С1 для
двуполупериодного выпрямителя:
С1 =3,5(Iст min+lн
max)/(Uc min-0,7Uвыx).
(3)
Формула получена из (2) подстановкой
соответствующих значений. Ток в ней — в миллиамперах, напряжение — в вольтах;
емкость получится в микрофарадах. Результат расчета округляют до ближайшего
большего номинала; можно использовать батарею из нескольких конденсаторов,
включенных параллельно.
I ст
max =(U c
mах -0,7Uвых)С 1 /3,5-I н min
(4)
При отсутствии стабилитрона на необходимое
напряжение Uвых, допускающего рассчитанный максимальный ток стабилизации,
можно соединить несколько стабилитронов на меньшее напряжение последовательно
или применить аналог мощного стабилитрона .
Подставлять в формулу (4) минимальный
ток нагрузки Iн mm следует лишь тогда, когда этот ток
длителен — единицы секунд и более. При кратковременном минимальном токе нагрузки
(доли секунды) его надо заменить средним (по времени) током нагрузки. Если
стабилитрон допускает ток, больший рассчитанного по формуле (4), целесообразно
использовать гасящий конденсатор несколько большей емкости для уменьшения
требований к точности его подборки.
В самом начале темы, относительно подбора гасящего конденсатора, рассмотрим цепь, состоящую из резистора и конденсатора, последовательно подключенных к сети. Полное сопротивление такой цепи будет равно:
Эффективная величина тока, соответственно, находится по закону Ома, напряжение сети делить на полное сопротивление цепи:
В результате для тока нагрузки и входного и выходного напряжений получим следующее соотношение:
А если напряжение на выходе достаточно мало, то мы имеем право считать приблизительно равным:
Однако давайте рассмотрим с практической точки зрения вопрос подбора гасящего конденсатора для включения в сеть переменного тока нагрузки, рассчитанной на напряжение меньшее стандартного сетевого.
Допустим, у нас есть лампа накаливания мощностью 100 Вт, рассчитанная на напряжение 36 вольт, и нам по какой-то невероятной причине необходимо запитать ее от бытовой сети 220 вольт. Лампе необходим эффективный ток, равный:
Тогда емкость необходимого гасящего конденсатора окажется равна:
Имея такой , мы обретаем надежду получить нормальное свечение лампы, рассчитываем, что она по крайней мере не перегорит. Такой подход, когда мы исходим из эффективного значения тока, приемлем для активных нагрузок, таких как лампа или обогреватель.
Но что делать, если нагрузка нелинейна и включена через диодный мост? Допустим, необходимо зарядить свинцово-кислотный аккумулятор. Что тогда? Тогда зарядный ток окажется для батареи пульсирующим, и его значение будет меньше эффективного значения:
Иногда радиолюбителю может быть полезным источник питания, в котором гасящий конденсатор включен последовательно с диодным мостом, на выходе которого имеется в свою очередь конденсатор фильтра значительной емкости, к которому присоединена нагрузка постоянного тока. Получается своеобразный бестрансформаторный источник питания с конденсатором вместо понижающего трансформатора:
Здесь нагрузка в целом будет нелинейной, а ток станет уже далеко не синусоидальным, и вести расчеты необходимо будет несколько иначе. Дело в том, что сглаживающий конденсатор с диодным мостом и нагрузкой внешне проявят себя как симметричный стабилитрон, ведь пульсации при значительной емкости фильтра станут пренебрежимо малыми.
Когда напряжение на конденсаторе будет меньше какого-то значения — мост будет закрыт, а если выше — ток пойдет, но напряжение на выходе моста расти не будет. Рассмотрим процесс более подробно с графиками:
В момент времени t1 напряжение сети достигло амплитуды, конденсатор C1 также заряжен в этот момент до максимально возможного значения минус падение напряжения на мосте, которое будет равно приблизительно выходному напряжению. Ток через конденсатор C1 равен в этот момент нулю. Далее напряжение в сети стало уменьшаться, напряжение на мосте — тоже, а на конденсаторе C1 оно пока не изменяется, да и ток через конденсатор C1 пока что нулевой.
Далее напряжение на мосте меняет знак, стремясь уменьшиться до минус Uвх, и в тот момент через конденсатор C1 и через диодный мост устремляется ток. Далее напряжение на выходе моста не меняется, а ток в последовательной цепочке зависит от скорости изменения питающего напряжения, словно к сети подключен только конденсатор C1.
По достижении сетевой синусоидой противоположной амплитуды, ток через C1 опять становится равным нулю и процесс пойдет по кругу, повторяясь каждые пол периода. Очевидно, что ток течет через диодный мост только в промежутке между t2 и t3, и величину среднего тока можно вычислить, определив площадь закрашенной фигуры под синусоидой, которая будет равна:
Если выходное напряжение схемы достаточно мало, то данная формула приближается к полученной ранее. Если же выходной ток положить равным нулю, то получим:
То есть при обрыве нагрузки выходное напряжение станет равно амплитуде сетевого!!! Значит следует применять такие компоненты в схеме, чтобы каждый из них выдержал бы амплитуду напряжения питания.
Кстати, при снижении тока нагрузки на 10%, выражение в скобках уменьшится на 10%, то есть напряжение на выходе увеличится примерно на 30 вольт, если изначально имеем дело, скажем, с 220 вольтами на входе и с 10 вольтами на выходе. Таким образом, использование стабилитрона параллельно нагрузке строго обязательно!!!
А что если выпрямитель однополупериодный? Тогда ток необходимо рассчитывать по такой формуле:
При небольших значениях выходного напряжения ток нагрузки станет вдвое меньшим, чем при выпрямлении полным мостом. А напряжение на выходе без нагрузки окажется вдвое большим, так как здесь мы имеем дело с удвоителем напряжения.
Итак, источник питания с гасящим конденсатором рассчитывается в следующем порядке:
Первым делом выбирают, каким будет выходное напряжение.
Затем определяют максимальный и минимальный токи нагрузки.
Если ток нагрузки предполагается непостоянный, стабилитрон параллельно нагрузке обязателен!
Наконец, вычисляют емкость гасящего конденсатора.
Для схемы с двухполупериодным выпрямлением, для сетевой частоты 50 Гц, емкость находится по следующей формуле:
Полученный по формуле результат округляют в сторону емкости большего номинала (желательно не более 10%).
Следующим шагом находят ток стабилизации стабилитрона для максимального напряжения питания и минимального тока потребления:
Для однополупериодной схемы выпрямления гасящий конденсатор и максимальный ток стабилитрона вычисляют по следующим формулам:
Выбирая гасящий конденсатор, лучше ориентироваться на пленочные и металлобумажные конденсаторы. Конденсаторы пленочные небольшой емкости — до 2,2 мкф на рабочее напряжение от 250 вольт хорошо работают в данных схемах при питании от сети 220 вольт. Если же вам нужна большая емкость (более 10 мкф) — лучше выбрать конденсатор на рабочее напряжение от 500 вольт.
Андрей Повный (Google+ ,
Сейчас в доме имеется много малогабаритной аппаратуры, которой требуется
постоянное питание. Это и часы со светодиодной индикацией, и термометры, и
малогабаритные приемники, и т.п. В принципе, они рассчитаны на батарейки, но
те «садятся» в самый неподходящий момент. Простой выход — запитать их от сетевых
блоков питания. Но даже малогабаритный сетевой (понижающий) трансформатор
достаточно тяжел и места занимает не так уж мало, а импульсные
источники питания все-таки сложны, требуют для изготовления определенного опыта
и недешевой комплектации.
Решением данной
проблемы при выполнении определенных условий может служить бестрансформаторный
блок питания с гасящим конденсатором. Эти условия:
- полная автономность питаемого аппарата, т.е. к нему не должны
подключаться никакие внешние устройства (например, к приемнику магнитофон для
записи программы); - диэлектрический (непроводящий) корпус и такие же ручки
управления у самого блока питания и подключаемого к нему устройства.
Связано это с тем, что при питании от бестрансформаторного блока устройство
находится под потенциалом сети, и прикосновение к его неизолированным элементам
может хорошо «тряхнуть». Нелишне добавить, что при наладке таких блоков питания следует соблюдать правила
техники безопасности и осторожность.
При необходимости
использовать для наладки осциллограф блок питания нужно включать через
разделительный трансформатор.
В самом простом виде
схема бестрансформаторного блока питания имеет вид, показанный на рис.1.
Для ограничения броска
тока при подключении блока к сети последовательно с конденсатором С1 и
выпрямительным мостом VD1 включен
резистор R2,а
для разрядки конденсатора после отключения — параллельно ему резистор R1.
Бестрансформаторный источник питания в общем случае представляет собой симбиоз
выпрямителя и параметрического стабилизатора. Конденсатор С1 для переменного
тока представляет собой емкостное (реактивное, т.е. не потребляющее энергию)
сопротивление Хс,
величина которого определяется по формуле:
где (- частота сети (50 Гц); С-емкость конденсатора С1, Ф.
Тогда выходной ток источника можно приблизительно определить так:
где Uc — напряжение сети (220 В).
Входная часть другого блока питания (рис.2а) содержит балластный конденсатор
С1 и мостовойвыпрямитель из диодов VD1, VD2и стабилитронов VD3, VD4. Резисторы R1, R2 играют ту же роль, что и в первой
схеме. Осциллограмма выходного напряжения блока
приведена на рис.2б (когда напряжение на выходе превышает напряжение
стабилизации стабилитронов, в противном случае он работает как обычный диод).
От начала
положительного полупериода тока через конденсатор С1 до
момента t1 стабилитрон VD3 и диод,VD2 открыты, а стабилитрон VD4 и
диод VD1 закрыты. В интервале времени t1…t3 стабилитрон VD3 и
диод VD2 остаются открытыми, а через открывшийся стабилитрон VD4 проходит
импульс тока стабилизации. Напряжение на выходе Uвых и
на стабилитроне VD4 равно
его напряжению стабилизации Uст.
Импульсный ток стабилизации, являющийся для диодно-стабилитронного выпрямителя
сквозным, минует нагрузку RH, которая подключена к выходу моста. В момент t2 ток
стабилизации достигает максимума, а в момент t3 равен нулю. До окончания положительного полупериода остаются открытыми стабилитрон VD3 и
диод VD2.
В момент t4 завершается положительный и начинается отрицательный полупериод, от
начала которого до момента t5 уже стабилитрон VD4 и диод VD1 открыты, а
стабилитрон VD3 и диод VD2 закрыты. В интервале времени t5-t7 стабилитрон VD4 и
диод VD1 продолжают оставаться открытыми, а через стабилитрон VD3 при
напряжении UCT проходит сквозной импульс тока стабилизации, максимальный в
момент t6. Начиная от t7 и до завершения отрицательного полупериода остаются
открытыми стабилитрон VD4 и диод VD1. Рассмотренный
цикл работы диодно-стабилитронного выпрямителя повторяется в следующие периоды
сетевого напряжения.
Таким образом, через стабилитроны VD3, VD4 от анода к катоду проходит
выпрямленный ток, а в противоположном направлении — импульсный ток стабилизации.
В интервалы времени t1…t3 и t5…t7 напряжение стабилизации изменяется не
более чем на единицы процентов. Значение переменного
тока на входе моста VD1…VD4 в
первом приближении равно отношению напряжения сети к емкостному сопротивлению
балластного конденсатора С1.
Работа диодно-стабилитронного выпрямителя без балластного конденсатора,
ограничивающего сквозной ток, невозможна. В функциональном
отношении они неразделимы и образуют единое целое — конденсаторно-стабилитронный
выпрямитель.
Разброс значений UCT однотипных стабилитронов составляет примерно 10%, что
приводит к возникновению дополнительных пульсаций выходного напряжения с
частотой питающей сети, амплитуда напряжения пульсации пропорциональна разнице значений Uст стабилитронов VD3 и VD4.
При использовании
мощных стабилитронов Д815А…Д817Г их можно установить на общий радиатор, если в
обозначении их типа присутствуют буквы «ПП (стабилитроны Д815АПП…Д817ГПП имеют
обратную полярность выводов). В противном случае диоды и стабилитроны необходимо
поменять местами.
Бестрансформаторные источники питания обычно собираются по классической схеме:
гасящий конденсатор, выпрямитель переменного напряжения, конденсатор фильтра,
стабилизатор. Емкостной фильтр сглаживает пульсации выходного напряжения. Чем
больше емкость конденсаторов фильтра, тем меньше пульсации и, соответственно,
больше постоянная составляющая выходного напряжения. Однако в ряде случаев можно
обойтись без фильтра, который зачастую является самым громоздким
узлом такого источника питания.
Известно, что конденсатор, включенный в цепь переменного тока, сдвигает его фазу
на 90°. Фазосдвигающий конденсатор применяют, например, при подключении
трехфазного двигателя к однофазной сети. Если в выпрямителе применить
фазосдвигающий конденсатор, обеспечивающий взаимное перекрытие полуволн
выпрямленного напряжения, во многих случаях можно обойтись без громоздкого
емкостного фильтра или существенно уменьшить его емкость. Схема
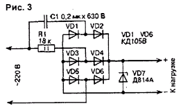
подобного стабилизированного выпрямителя показана на рис.3.
Трехфазный выпрямитель VD1.VD6 подключен
к источнику переменного напряжения через активное (резистор R1) и
емкостное (конденсатор С1) сопротивления.
Выходное напряжение выпрямителя стабилизирует стабилитрон VD7. Фазосдвигающий
конденсатор С1 должен быть рассчитан на работу в цепях переменного тока. Здесь,
например, подойдут конденсаторы типа К73-17 с рабочим напряжением не ниже 400
В.
Такой выпрямитель можно
применять там, где необходимо уменьшить габариты электронного устройства,
поскольку размеры оксидных конденсаторов емкостного фильтра, как правило,
гораздо больше, чем фазосдвигающего конденсатора сравнительно небольшой емкости.
Еще одно преимущество
предложенного варианта состоит в том, что потребляемый ток практически постоянен
(в случае постоянной нагрузки), тогда как в выпрямителях с емкостным фильтром в
момент включения пусковой ток значительно превышает установившееся значение
(вследствие заряда конденсаторов фильтра), что в некоторых случаях крайне
нежелательно.
Описанное устройство
можно применять и с последовательными стабилизаторами напряжения, имеющими
постоянную нагрузку, а также с нагрузкой, не требующей стабилизации напряжения.
Совершенно простенький
бестрансформаторный блок питания (рис.4) можно соорудить «на коленке» буквально
за полчаса.
В данном варианте схема
рассчитана на выходное напряжение 6,8 В и ток 300 мА. Напряжение можно менять
заменой стабилитрона VD4 и, при необходимости, VD3 А установив транзисторы на
радиаторы, можно увеличить и ток нагрузки. Диодный мост
— любой, рассчитанный на обратное напряжение не менее 400 В. Кстати, можно
вспомнить и про «древние» диоды. Д226Б.
В другом
бестрансформаторном источнике (рис.5) в качестве стабилизатора применена
микросхема
КР142ЕН8. Его выходное
напряжение составляет 12 В. Если необходима регулировка выходного напряжения, то
вывод 2 микросхемы DA1 подключают
к общему проводу через переменный резистор, например, типа СПО-1 (с линейной
характеристикой изменения сопротивления). Тогда выходное напряжение может
изменяться в диапазоне 12…22 В.
В качестве микросхемы DA1 для
получения других выходных напряжений нужно применить соответствующие
интегральные стабилизаторы, например, КР142ЕН5, КР1212ЕН5,КР1157ЕН5А и др. Конденсатор
С1 должен быть обязательно на рабочее напряжение не ниже 300 В, марки К76-3,
К73-17 или аналогичный (неполярный, высоковольтный). Оксидный конденсатор С2
выполняет роль фильтра по питанию и сглаживает пульсации напряжения. Конденсатор
С3 уменьшает помехи по высокой частоте. Резисторы R1, R2 — типа МЛТ-0,25. Диоды
VD1…VD4 можно заменить на КД105Б…КД105Г, КД103А, Б, КД202Е. Стабилитрон VD5 с
напряжением стабилизации 22…27 В предохраняет микросхему от бросков напряжения
в момент включения источника.
Несмотря на то, что теоретически конденсаторы в цепи переменного тока мощности
не потребляют, реально в них из-за наличия потерь может выделяться некоторое
количество тепла. Проверить пригодность конденсатора в качестве гасящего для
использования в бестрансформаторном источнике можно просто подключив его к
электросети и оценив температуру корпуса через полчаса. Если конденсатор
успевает заметно разогреться, он не подходит. Практически не нагреваются
специальные конденсаторы для промышленных электроустановок (они рассчитаны на
большую реактивную мощность). Такие конденсаторы обычно
используются в люминесцентных светильниках, в пускорегулирующих устройствах
асинхронных электродвигателей и т.п.
В 5-вольтовом источнике (рис.6) с током нагрузки до 0,3 А
применен
конденсаторный делитель напряжения. Он состоит из бумажного конденсатора С1 и двух оксидных
С2 и С3,
образующих нижнее (по схеме) неполярное плечо емкостью 100 мкФ
(встречно-последовательное включение конденсаторов). Поляризующими диодами для
оксидной пары служат диоды моста. При указанных
номиналах элементов ток короткого замыкания на выходе блока питания равен 600
мА, напряжение на конденсаторе С4 в отсутствие нагрузки — 27 В.
Блок для питания портативного приемника (рис.7) легко помещается в его
батарейный отсек. Диодный мост VD1рассчитывается на рабочий ток, его предельное
напряжение определяется напряжением, которое обеспечивает стабилитрон VD2.
Элементы R3, VD2. VT1 образуют аналог мощного стабилитрона. Максимальный ток и
рассеиваемая мощность такого стабилитрона определяются транзистором VT1. Для
него может потребоваться радиатор. Но в любом случае максимальный ток этого
транзистора не должен быть меньше тока нагрузки. Элементы R4, VD3 — цепь
индикации наличия выходного напряжения. При малых токах нагрузки необходимо
учитывать ток, потребляемый этой цепью. Резистор R5 нагружает
цепь питания малым током, чем стабилизирует ее работу.
Гасящие конденсаторы С1 и С2 — типа КБГ или аналогичные. Можно
также применить и К73-17 с рабочим напряжением 400 В (подойдут и с 250 В, так
как они включены последовательно). Выходное напряжение зависит от сопротивления
гасящих конденсаторов переменному току, реального тока нагрузки и от напряжения
стабилизации стабилитрона.
Для стабилизации
напряжения бестрансформаторного блока питания с гасящим конденсатором можно
использовать симметричные динисторы (рис.8).
При зарядке
конденсатора фильтра С2 до напряжения открывания динистора VS1 он включается и
шунтирует вход диодного моста. Нагрузка в это время получает
питание от конденсатора С2 В начале следующего полупериода С2 вновь
подзаряжается до того же напряжения, и процесс повторяется. Начальное напряжение
разрядки конденсатора С2 не зависит от тока нагрузки и напряжения сети, поэтому
стабильность выходного напряжения блока достаточно высокая.
Падение напряжения
на динисторе во включенном состоянии невелико, рассеиваемая мощность, а значит,
и нагрев его значительно меньше, чем у стабилитрона. Максимальный ток через
динистор составляет около 60 мА. Если для получения необходимого выходного тока
этого значения недостаточно, можно «умощнить динистор симистором или тиристором
(рис.9). Недостаток таких источников питания — ограниченный выбор выходных
напряжений, определяемый напряжениями включения динисторов.
Бестрансформаторный
блок питания с регулируемым выходным напряжением показан на рис.10а.
Его особенность заключается в использовании регулируемой отрицательной обратной
связи с выхода блока на транзисторный каскад VT1,включенный параллельно выходу
диодного моста. Этот каскад является регулирующим элементом и
управляется сигналом с выхода однокаскадного усилителя на VT2.
Выходной сигнал VT2 зависит от разности напряжений, подаваемых с переменного
резистора R7, включенного параллельно выходу блока питания, и источника опорного
напряжения на диодах VD3, VD4. По существу, схема представляет собой
регулируемый параллельный стабилизатор. Роль
балластного резистора играет гасящий конденсатор С1, параллельного управляемого
элемента — транзистор VT1.
Работает этот блок
питания следующим образом.
При включении в сеть
транзисторы VT1 и VT2 заперты,
а через диод VD2 происходит
заряд накопительного конденсатора С2. При достижении на базе
транзистора VT2 напряжения, равного опорному на диодах VD3,
VD4, транзисторы VT2 и VT1отпираются. Транзистор VT1 шунтирует
выход диодного моста, и его выходное напряжение падает, что приводит к
уменьшению напряжения на накопительном конденсаторе С2 и к запиранию
транзисторов VT2 и VT1. Это,
в свою очередь, вызывает увеличение напряжения на С2, отпирание VT2,
VT1 и
повторение цикла.
За счет действующей таким образом отрицательной обратной связи выходное
напряжение остается постоянным (стабилизированным) как при включенной нагрузке
(R9), так и без нее (на холостом ходу). Его величина зависит от положения движка
потенциометра R7.
Верхнему (по схеме) положению движка соответствует большее выходное напряжение.
Максимальная
выходная мощность приведенного устройства равна 2 Вт. Пределы регулировки
выходного напряжения — от 16 до 26 В, а при закороченном диодеVD4 — от
15 до 19,5 В. Уровень пульсаций на нагрузке — не более 70 мВ.
Транзистор VT1 работает
в переменном режиме: при наличии нагрузки — в линейном режиме, на холостом ходу
— в режиме широтно-импульсной модуляции (ШИМ) с частотой пульсации напряжения на
конденсаторе С2 100 Гц. При этом импульсы напряжения на коллекторе VT1 имеют
пологие фронты.
Критерием правильности
выбора емкости С1 является получение на нагрузке требуемого максимального
напряжения. Если его емкость уменьшена, то максимальное выходное напряжение на
номинальной нагрузке не достигается. Другим критерием выбора С1 является
неизменность осциллограммы напряжения на выходе диодного моста (рис.10б).
Осциллограмма напряжения имеет вид последовательности выпрямленных
синусоидальных полуволн сетевого напряжения с ограниченными (уплощенными)
вершинами положительных полусинусоид, амплитуда вершин является переменной
величиной, зависящей от положения движка R7, и меняется линейно при его
вращении. Но каждая полуволна должна обязательно
доходить до нуля, наличие постоянной составляющей (как показано на рис.10б
пунктиром) не допускается, т.к. при этом нарушается режим стабилизации.
Линейный режим является облегченным, транзистор VT1 нагревается мало и может
работать практически без радиатора. Небольшой нагрев имеет место в нижнем
положении движка R7 (при минимальном выходном напряжении). На холостом ходу
тепловой режим транзистора VT1 ухудшается в верхнем положении движка R7 В
этом случае транзистор VT1 должен
быть установлен на небольшой радиатор, например, в виде «флажка» из алюминиевой
пластинки квадратной формы со стороной 30 мм и толщиной 1…2 мм.
Регулирующий транзистор VT1 — средней мощности, с большим коэффициентом
передачи. Его коллекторный ток должен быть в
2…3 раза больше максимального тока нагрузки, допустимое напряжение
коллектор-эмиттер — не меньше максимального выходного напряжения блока питания. В
качестве VT1 могут
быть использованы транзисторы КТ972А, КТ829А, КТ827А и т.п. Транзистор VT2работает
в режиме малых токов, поэтому годится любой маломощный p-n-р-транзистор — КТ203,
КТ361 и др.
Резисторы R1, R2 — защитные. Они предохраняют регулирующий транзистор VT1 от
выхода из строя вследствие перегрузки по току при переходных процессах в момент
включения блока в сеть.
Бестрансформаторный конденсаторный выпрямитель (рис.11) работает с
автостабилизацией выходного напряжения. Это достигнуто за счет изменения времени
подключения диодного моста к накопительному конденсатору. Параллельно выходу
диодного моста включен транзистор VT1, работающий в ключевом режиме. База VT1 через
стабилитрон VD3 соединена
с накопительным конденсатором С2, отделенным по постоянному току от выхода моста
диодом VD2 для исключения быстрого разряда при открытом VT1. Пока
напряжение на С2 меньше напряжения стабилизации VD3, выпрямитель работает как
обычно. При увеличении напряжения на С2 и открывании VD3 транзистор VT1 также
открывается и шунтирует выход выпрямительного моста. Напряжение на выходе моста
скачкообразно уменьшается практически до нуля, что приводит к уменьшению
напряжения на С2 и выключению стабилитрона и ключевого транзистора.
Далее напряжение на конденсаторе С2 снова увеличивается до момента включения
стабилитрона и транзистора и т.д. Процесс автостабилизации выходного напряжения
очень похож на работу импульсного стабилизатора напряжения с широтно-импульсным
регулированием. Только в предлагаемом устройстве частота
следования импульсов равна частоте пульсаций напряжения на С2. Ключевой
транзистор VT1 для
уменьшения потерь должен быть с большим коэффициентом усиления, например, КТ972А,
КТ829А, КТ827А и др. Увеличить выходное напряжение выпрямителя можно, применив
более высоковольтный стабилитрон (цепочку низковольтных, соединенных
последовательно). При двух стабилитронах Д814В, Д814Д и емкости конденсатора
С1
2 мкФ выходное напряжение на нагрузке сопротивлением 250 Ом может составлять
23…24 В.
Аналогично можно стабилизировать выходное напряжение
однополупериодного диодно-конденсаторного выпрямителя (рис.12).
Для выпрямителя с плюсовым выходным напряжением параллельно диоду VD1 включен
n-p-n транзистор, управляемый с выхода выпрямителя через стабилитрон VD3. При
достижении на конденсаторе С2 напряжения, соответствующего моменту открывания
стабилитрона, транзистор VT1 тоже открывается. В результате, амплитуда положительной полуволны напряжения,
поступающего на С2 через диод VD2, уменьшается почти до нуля. При уменьшении же напряжения на
С2 транзистор VT1 благодаря стабилитрону закрывается, что приводит к увеличению
выходного напряжения. Процесс сопровождается широтно-импульсным регулированием длительности импульсов
на входе VD2, следовательно,
напряжение на конденсаторе С2 стабилизировано.
В выпрямителе с
отрицательным выходным напряжением параллельно диоду VD1 нужно
включить p-n-p-транзистор КТ973А или КТ825А. Выходное стабилизированное напряжение на нагрузке
сопротивлением 470 Ом — около 11 В, напряжение пульсаций — 0,3…0,4 В.
В обоих вариантах стабилитрон работает в импульсном режиме при токе в единицы
миллиампер, который никак не связан с током нагрузки выпрямителя, разбросом
емкости гасящего конденсатора и колебаниями напряжения сети. Поэтому потери в
нем существенно уменьшены, и теплоотвод ему не требуется. Ключевому транзистору радиатор также
не требуется.
Резисторы R1, R2 в этих схемах ограничивают входной ток при переходных процессах
в момент включения устройства в сеть. Из-за неизбежного «дребезга» контактов
сетевой вилки процесс включения сопровождается серией кратковременных замыканий
и разрывов цепи. При
одном из таких замыканий гасящий конденсатор С1 может зарядиться до полного
амплитудного значения напряжения сети, т.е. примерно до 300 В. После разрыва и
последующего замыкания цепи из-за «дребезга» это и сетевое напряжения могут
сложиться и составить в сумме около 600 В. Это наихудший случай, который
необходимо учитывать для обеспечения надежной работы устройства.
Другой вариант ключевой бестрансформаторной схемы
источника питания представлен на рис.13.
Сетевое напряжение,
проходя через диодный мост наVD1.VD4, преобразуется
в пульсирующее амплитудой около 300 В. Транзистор VT1 — компаратор, VT2 — ключ.
Резисторы R1, R2 образуют делитель напряжения для VT1. Подстройкой R2 можно
установить напряжение срабатывания компаратора. Пока напряжение на выходе
диодного моста не достигнет установленного порога, транзистор VT1 закрыт,
на затворе VT2 — отпирающее напряжение и он открыт. Через VТ2
и диод VD5 заряжается
конденсатор С1.
При достижении установленного порога срабатывания транзистор VT1 открывается и
шунтирует затвор VT2. Ключ закрывается и снова откроется тогда, когда
напряжение на выходе моста станет меньше порога срабатывания компаратора. Таким образом, на
С1 устанавливается
напряжение, которое стабилизируется интегральным стабилизатором DA1.
С приведенными на схеме
номиналами источник обеспечивает выходное напряжение 5 В при токе до 100 мА.
Настройка заключается в установке порога срабатывания VT1. Вместо IRF730 можно
использовать. КП752А, IRF720,
BUZ60, 2N6517заменяется
на КТ504А.
Миниатюрный
бестрансформаторный блок питания для малопотребляющих устройств можно построить
на микросхеме HV-2405E
(рис.14),
которая осуществляет прямое преобразование переменного напряжения в постоянное.
Диапазон входного
напряжения ИМС -15…275 В. выходного — 5…24 В при максимальном выходном
токе до 50 мА. Выпускается в плоском пластмассовом корпусе DIP-8. Структура
микросхемы приведена на рис.15а, цоколевка — на рис.15б.
В схеме источника (рис. 14) особое внимание нужно уделить резисторам R1 и R2. Их
общее сопротивление должно быть в районе 150 Ом, а рассеиваемая мощность — не
менее 3 Вт. Входной высоковольтный конденсатор С1 может иметь емкость от 0,033
до 0,1 мкФ. Варистор Rv можно
применить практически любой с рабочим напряжением 230.250 В.
Резистор R3выбирается в зависимости от требуемого выходного напряжения. При его отсутствии (выходы 5 и
6 замкнуты) выходное напряжение чуть более 5 В, при сопротивлении 20 кОм
выходное напряжение — около 23 В. Вместо резистора можно включить стабилитрон с
необходимым напряжением стабилизации (от 5 до 21 В). К остальным деталям особых требований нет, за исключением выбора рабочего
напряжения электролитических конденсаторов (формулы для расчета приведены на
схеме).
Учитывая потенциальную
опасность бестрансформаторных источников, в ряде случаев может представлять
интерес компромиссный вариант: с гасящим конденсатором и трансформатором
(рис.16).
Здесь подойдет
трансформатор с высоковольтной вторичной обмоткой, поскольку необходимое
выпрямленное напряжение устанавливается подбором емкости конденсатора С1.
Главное, чтобы обмотки трансформатора обеспечивали требуемый ток.
Чтобы устройство не
вышло из строя при отключении нагрузки, к выходу моста VD1…VD4 следует
подключить стабилитрон Д815П. В нормальном режиме он не работает, поскольку его
напряжение стабилизации выше рабочего на выходе моста. Предохранитель FU1 защищает
трансформатор и стабилизатор при пробое конденсатора С1.
В источниках такого
вида в цепи последовательно
соединенных емкостного (конденсатор С1) и индуктивного (трансформатор Т1)
сопротивлений может возникать резонанс напряжения. Об этом следует помнить при
их налаживании и контролировать напряжения осциллографом.
Смотрите другие статьи
раздела
.
Читайте и пишите
полезные
СЕТЕВОЙ ИСТОЧНИК ПИТАНИЯ С ГАСЯЩИМ КОНДЕНСАТОРОМ
Во многих из описанных выше устройств использовались бестрансформаторные источники питания с гасящим конденсатором. Они удобны своей простотой, малыми габаритами и массой, но не всегда применимы из-за гальванической связи выходной цепи с сетью 220 В. О том, как правильно рассчитать такой источник, рассказывается в данном разделе.
В бестрансформаторном источнике питания к сети переменного напряжения подключены последовательно соединенные конденсатор и нагрузка. Рассмотрим вначале работу источника с чисто резистивной нагрузкой (рис. 123,а).
В радиолюбительской практике часто используют источник, в котором гасящий конденсатор включен в сеть последовательно с
диодным мостом, а нагрузка, зашунтированная другим конденсатором, питается от выходной диагонали моста (рис. 124). В этом случае цепь становится резко нелинейной и форма тока, протекающего через мост и гасящий конденсатор, будет отличаться от
синусоидальной. Из-за этого представленный выше расчет оказывается неверным.
Каковы процессы, происходящие в источнике со сглаживающим конденсатором С2 емкостью, достаточной для того, чтобы считать пульсации выходного напряжения пренебрежимо малыми? Для гасящего конденсатора С1 диодный мост (вместе с С2 и Rн) в установившемся режиме представляет собой некий эквивалент симметричного стабилитрона. При напряжении на этом эквиваленте, меньшем некоторого значения (оно практически равно напряжению Uвых на конденсаторе С2), мост закрыт и ток через него не проходит, при большем — через открытый мост течет ток, не давая увеличиваться напряжению на входе моста.
Рассмотрение начнем с момента t1, когда напряжение сети максимально (рис. 125). Конденсатор С1 заряжен до амплитудного напряжения сети Uс.амп за вычетом напряжения на диодном мосте Uм, примерно равного Uвых. Ток через конденсатор С1 и закрытый мост равен нулю. Напряжение в сети уменьшается по косинусоидальному закону (график 1), на мосте также уменьшается (график 2), а напряжение на конденсаторе С1 не меняется.
Ток конденсатора останется нулевым до тех пор, пока напряжение на диодном мосте, сменив знак на противоположный, не достигнет значения -Uвых (момент t2). В этот момент появится скачком ток Ic1 через конденсатор С1 и мост. Начиная с момента t2, напряжение на мосте не меняется, а ток определяется скоростью изменения напряжения сети и, следовательно, будет точно таким же, как если бы к сети был подключен только конденсатор С1 (график 3).
Когда напряжение сети достигнет отрицательного амплитудного значения (момент tз), ток через конденсатор С1 снова станет равным нулю. Далее процесс повторяется каждый полупериод.
Ток через мост протекает лишь в интервале времени t2-t3, его среднее значение может быть рассчитано как площадь заштрихованной части
При отсутствии стабилитрона на необходимое напряжение Uвых;
допускающего рассчитанный максимальный ток стабилизации, можно соединить несколько стабилитронов на меньшее напряжение последовательно.
Подставлять в формулу (4) минимальный ток нагрузки Iн nun следует лишь тогда, когда этот ток длителен — единицы секунд и более. При кратковременном минимальном токе нагрузки (доли секунды) его надо заменить средним (по времени) током нагрузки. Если стабилитрон допускает ток, больший рассчитанного по формуле (4), целесообразно использовать гасящий конденсатор несколько
источника по схеме рис. 124 зарядка этого конденсатора длится четверть периода напряжения сети, и столько же — разрядка. При таком приближении двойное напряжение пульсации 2Uп (размах) равно: 2ип=0,25Iн mах/fС.
2Uп=0,75Iнmax/fC.
Для выходного напряжения менее 100 В реально зарядка длится большее время, разрядка — меньшее, и эти выражения дают заметно завышенный результат, поэтому расчет емкости сглаживающего конденсатора по полученным из них формулам обеспечивает некоторый запас: С=5Iнmax/2Uп (для рис. 124); С= 15Iнmax/2Uп (для рис. 126), где ток — в миллиамперах, емкость — в микрофарадах, напряжение — в вольтах.
Хотя стабилитрон и уменьшает напряжение пульсации, использовать сглаживающий конденсатор емкостью, менее рассчитанной, не рекомендуется. В ранее рассмотренном примере при размахе пульсации 0,2 В емкость сглаживающего конденсатора равна:
С2=5*15/0,2=375 мкФ.
Для ограничения броска тока через диоды выпрямительного моста в момент включения источника в сеть последовательно с гасящим конденсатором необходимо включать токоограничивающий резистор. Чем меньше сопротивление этого резистора, тем меньше потери в нем. Для диодного моста КЦ407А или моста из диодов КД103А достаточно резистора сопротивлением 36 Ом.
Рассеиваемую на нем среднюю мощность Р можно определить по формуле: Р= 5,6С1^2R, где емкость — в микрофарадах, сопротивление -в омах, мощность — в милливаттах. Для рассмотренного выше примера P=5,6*0,39^236=30 мВт. Для надежности (ведь в момент включения к резистору может быть приложено амплитудное напряжение сети) рекомендуется использовать резистор мощностью не менее 0,5 Вт.
Для того, чтобы исключить возможность поражения электротоком при налаживании устройств с рассматриваемыми источниками, питать их следует не от сети, а от сетевого лабораторного низковольтного блока питания через токоограничительный резистор. Выходное напряжение лабораторного блока устанавливают больше напряжения питания налаживаемого устройства настолько, чтобы ток через токоограничительный резистор был близок к Iст min+ Iнmax.
Иногда удобно использовать в роли токоограничительного резистор источника, ограничивающий бросок тока через диоды выпрямительного моста. В этом случае достаточно замкнуть выводы
(рис. 130) на ток нагрузки до 0,3 А и источник бесперебойного питания для электронно-механических часов (рис. 131).
Делитель напряжения пятивольтового источника состоит из бумажного конденсатора С1 и двух оксидных С2 и СЗ, образующих нижнее по схеме неполярное плечо емкостью 100 мкф. Поляризующими диодами для оксидной пары служат левые по схеме диоды моста. При номиналах элементов, указанных на схеме, ток замыкания (при Rн=O) равен 600 мА, напряжение на конденсаторе С4 в отсутствие нагрузки — 27 В.
Электронно-механические часы обычно питают от одного гальва
нического элемента напряжением 1,5 В. Предлагаемый источник вырабатывает напряжение 1,4 В при среднем токе нагрузки 1 мА. Напряжение, снятое с делителя С1С2, выпрямляет узел на элементах VD1, VD2, СЗ. Без нагрузки напряжение на конденсаторе СЗ не превышает 12 В.
Транзистор VT1, включенный эмиттерным повторителем, и гальванический элемент G1 составляют стабилизатор напряжения. На выходе источника будет напряжение элемента минус падение напряжения на эмиттерном переходе транзистора.
Ток, потребляемый от элемента G1 при наличии сетевого напряжения, меньше тока нагрузки в h21э раз, что существенно продлевает срок службы элемента. Практически это означает, что элемент приходится заменять не из-за его разрядки током нагрузки, а вследствие других причин — саморазрядки, высыхания электролита и т. п.
В случае пропадания напряжения в сети транзистор выходит из режима эмиттерного повторителя и нагрузку питает гальванический.элемент G1 через открытый эмиттерный переход. После появления сетевого напряжения транзистор возвращается в режим эмиттерного повторителя и нагрузка переходит на питание от сети. Конденсатор С4 обеспечивает нормальную работу часов при глубокой разрядке элемента G1.
Диоды Д223 можно заменить на любые другие, транзистор МП41А — на любой германиевый структуры р-n-р. Элемент G1
лучше использовать алкалиновый, например, Duracell, Energizer. Реальный срок эксплуатации такого элемента в блоке питания может достигать 10 лет.
И последнее. Конструкция бестрансформаторных источников и устройств, питающихся от них, должна исключать возможность прикосновения к любым проводникам в процессе эксплуатации. Особое внимание нужно уделить изоляции органов управления.
Данный БП отличается высокой стабильностью, тепловыделение на компонентах не наблюдается, если даже перегрузить выход. Устройство не содержит труднодоступных компонентов.
Блок питания работает на бестрансформаторной основе, состоит из гасящей цепи, диодного выпрямителя, маломощного стабилитрона на 9 вольт и стабилизатора напряжения на 5 вольт. Стабилитрон тут нужно ставить обязательно, в противном случае на вход стабилизатора будет поступать напряжение более 100 вольт, это приведет к перегреву стабилизатора и в конце концов он выйдет из строя.
Конденсаторы сглаживают сетевые пульсации. Диоды можно использовать буквально любые — с допустимым током более 1А и напряжением более 250 вольт, я к примеру взял мост КЦ405В.
Стабилитрон тоже любой с напряжением стабилизации от 6 до 15 вольт. В качестве стабилизатора поставил широко применяемый — 7805. Это мощный импортный стабилизатор на 5 вольт, используется в цифровой технике (автомагнитолы,ФМ-модуляторы и т. п.)
Устройством был заряжен мобильный телефон NOKIA N-95, емкость аккумулятора 1150мА/ч. Телефон полностью зарядился за 5 часов.
Из основных достоинств данной схемы можно выделить то, что схема не «бьет током», это делает ее полностью безопасным. В китайских светодиодных фонариках стоят аналогичные схемы, но в отличии от приведенной схемы, там нет стабилитронов, поэтому после диодного выпрямителя напряжение опасно для человека!
Выходной ток не превышает 150 мА, этого вполне хватит для зарядки пальчиковых аккумуляторов и аккумуляторных батарей, мобильных телефонов и других автономных устройств
Список радиоэлементов
| Обозначение | Тип | Номинал | Количество | Примечание | Магазин | Мой блокнот |
|---|---|---|---|---|---|---|
| VR2 | Линейный регулятор | LM7805CT | 1 | В блокнот | ||
| VDS1 | Диодный мост | КЦ405А | 1 | В блокнот | ||
| VD1 | Стабилитрон | Д818Б | 1 | В блокнот | ||
| C1 | Конденсатор | 0.47 мкФ | 1 | В блокнот | ||
| C2 | 10 мкФ | 1 | В блокнот | |||
| C3 | Конденсатор | 0.1 мкФ | 1 | В блокнот | ||
| C4 | Электролитический конденсатор | 1000 мкФ | 1 | В блокнот | ||
| R1 | Резистор | 100 кОм | 1 | В блокнот | ||
| R2 | Резистор |
Многие радиолюбители не считают блоки питания без трансформаторов. Но несмотря на это, они используются довольно активно. В частности, в охранных устройствах, в схемах радиоуправления люстрой, нагрузками и во многих других устройствах. В данном видеоуроке рассмотрим простую конструкцию такого выпрямителя на на 5 вольт, 40-50 мА. Однако можно изменить схему и получить практически любое напряжение.
Бестрансформаторные источники также применяются в качестве зарядных устройств и используются в запитке светодиодных светильников и в китайский фонариках.
Для радиолюбителей есть всё в этом китайском магазине .
Анализ схемы.
Рассмотрим простую схему бестрансформаторного . Напряжение от сети 220 вольт через ограничительный резистор, который одновременно выступает как предохранитель, идет на гасящий конденсатор. На выходе также сетевое напряжение, но ток многократно понижен.
Рисунок. Схема бестрансформаторного выпрямителя
Далее на двухполупериодный диодный выпрямитель, на его выходе получаем постоянный ток, который стабилизируется посредством стабилизатора VD5 и сглаживается конденсатором. В нашем случае конденсатор 25 В, 100 мкФ, электролитический. Ещё один небольшой конденсатор установлен параллельно питанию.
Дальше оно поступает на линейный стабилизатор напряжения. В данном случае использован линейный стабилизатор 7808. В схеме есть небольшая опечатка, выходное напряжение на самом деле приблизительно 8 В. Для чего в схеме линейный стабилизатор, стабилитрон? На линейные стабилизаторы напряжения в большинстве случаев не допускается подавать на вход напряжение выше 30 В. Поэтому в цепи нужен стабилитрон. Номинал выходного тока определяется в большей степени ёмкостью гасящего конденсатора. В данном варианте он с ёмкостью 0, 33 мкФ, с расчётным напряжением 400 В. Параллельно конденсатору установлен рарзряжающий резистор с сопротивлением 1 МОм. Номинал всех резисторов может быть 0, 25 или 0, 5 Вт. Данный резистор для того, чтобы после выключения схемы из сети конденсатор не держал остаточного напряжения, то есть разряжался.
Диодный мост можно собрать из четырех выпрямителей на 1 А. Обратное напряжение диодов должно быть не менее 400 В. Можно применить также готовые диодные сборки типа КЦ405. В справочнике нужно посмотреть допустимое обратное напряжение через диодный мост. Стабилитрон желательно на 1 Вт. Напряжение стабилизации этого стабилитрона должно быть от 6 до 30 В, не больше. Ток на выходе схемы зависит от номинала данного конденсатора. При ёмкости в 1 мкФ ток будет в районе 70 мА. Не следует увеличивать ёмкость конденсатора больше 0, 5 мкФ, поскольку довольно большой ток, конечно же, спалит стабилитрон. Данная схема хороша тем, что она малогабаритна, можно собрать из подручных средств. Но недостатком является то, что она не имеет гальванической развязки с сетью. Если вы собираетесь её применять, то обязательно в закрытом корпусе, чтобы не дотрагиваться до высоковольтных частей схемы. И, конечно же, не стоит связывать с этой схемой большие надежды, поскольку выходной ток схемы небольшой. То есть, хватит на запитку маломощный устройств, током до 50 мА. В частности, запитки светодиодов и постройки светодиодных светильников и ночников. Первый запуск обязательно делать последовательно соединённой лампочкой.
В данном варианте присутствует резистор на 300 Ом, который в случае чего выйдет из строя. У нас на плате уже нет данного резистора, поэтому добавили лампочку, которая будет чуть-чуть гореть во время работы нашей схемы. Для того, чтобы проверить выходное напряжение, будем использовать самый обыкновенный мультиметр, измеритель постоянный 20 В. Подключаем схему в сеть 220 В. Поскольку у нас есть защитная лампочка, она спасёт ситуацию, если будут какие-то проблемы в схеме. Соблюдайте предельную осторожность во время работы с высоким напряжением, поскольку всё-таки на схему поступает 220 В.
Заключение.
На выходе 4,94, то есть почти 5 В. При токе не более 40-50 мА. Отличный вариант для маломощных светодиодов. Можно запитать от данной схемы светодиодные линейки, только при этом заменить стабилизатор на 12-вольтовый, к примеру, 7812. В принципе, можно на выходе получить любое напряжение в пределах разумного. На этом всё. Не забывайте подписаться на канал и оставлять свои отзывы про дальнейшие видеоролики.
Внимание!
Когда собран блок питания, важно разместить сборку в пластиковый корпус либо тщательно изолировать все контакты и провода для исключения случайного прикосновения к ним, так как схема подключена к сети 220 вольт и это повышает вероятность удара током! Соблюдайте осторожность и ТБ!
бестрансформаторный блок питания своими руками
Это достаточно простая схема бестрансформаторного блока питания
. Устройство выполнена на доступных элементах и в предварительной наладке не нуждается. В качестве диодного выпрямителя
использован готовый мост серии КЦ405В
(Г), также можно использовать любые диоды с напряжением не менее 250 вольт.
Электросхема показана на рисунке:
Неполярный конденсатор подобрать на 400-600 вольт, от его емкости зависит сила тока на выходе. Резистор с сопротивлением от 75 до 150 килоом. После диодного моста напряжение порядка 100 вольт, его нужно уменьшит. Для этих целей использован отечественный стабилитрон серии Д814Д.
После стабилитрона уже получаем напряжение 9 вольт, можно также использовать буквально любые стабилитроны на 6-15 вольт. На выходе использован типовой микросхемный стабилизатор на 5 вольт, вся основная нагрузка лежит именно на нем, поэтому стабилизатор следует прикрутить на небольшой теплоотвод, желательно заранее намазав термопастой.
Полярные конденсаторы
предназначены для гашения и фильтрации сетевых помех
. Устройство работает
очень стабильно
, но имеет всего один недостаток — малый выходной ток. Ток можно увеличить подбором конденсатора и резистора, в токогасящей цепи.
Устройство сейчас активно используется для маломощных конструкций. Выходной ток достаточно велик, чтобы зарядить мобильный телефон, питать светодиоды и небольшие лампы накаливания. Видео с экспериментами и замерами приводим ниже:
В каждой современной квартире имеется большое количество всевозможных гаджетов, требующих постоянного электрического питания. В основном они работают от различных батареек, с относительно коротким сроком службы. Многие хозяева пытаются подключать эти устройства через обычные сетевые блоки питания на 12 В, но в большинстве случаев это не очень удобно. Основная причина заключается в больших размерах и весе понижающих трансформаторов, которые требуют себе отдельного места. Выйти из положения поможет бестрансформаторный блок питания, изготовленный на основе гасящего конденсатора.
Основным условием его нормальной работы является правильное выполнение всех необходимых расчетов. В этом случае данное устройство обеспечит надежное функционирование аппаратуры в полном автономном режиме.
Общее устройство и принцип действия
Представленная схема отличается простотой, надежностью и эффективностью. Она может быть изготовлена не только методом навесного монтажа, но и в виде печатной платы. Данная схема на двенадцать вольт является рабочей, требуется лишь заранее рассчитать параметры балластового гасящего конденсатора и подобрать нужное значение тока для конкретного устройства. Практически можно сделать 5,5-вольтовый блок с возможностью увеличения напряжения до 25 В.
Основой устройства служит балластовый конденсатор, гасящий сетевое напряжение. После этого ток попадает в диодный выпрямитель, а второй конденсатор выполняет функцию фильтра. Иногда возникает необходимость быстро разрядить оба конденсатора. С этой целью в схеме предусмотрены резисторы R1 и R2. Еще один резистор R3 используется в качестве ограничителя тока при включении нагрузки.
Расчет балластного конденсатора выполняется до сборки схемы. Для этого используется простая формула С = 3200хI/Uc, в которой I является током нагрузки (А), Uc — сетевым напряжением, С — (мкФ). Чаще всего такие расчеты используются для светодиодов.
В качестве примера можно взять любой прибор с током 150 мА. Это может быть обычная светодиодная лампа. Сетевое напряжение будет 230 В. Таким образом, 3200 х 0,15/230 = 2,08 мкФ. Номинал конденсатора выбирается наиболее близко к расчетному, то есть, его емкость составит 2,2 мкФ, а расчетное напряжение — 400 В.
Такой простейший бестрансформаторный блок не имеет с питающей сетью. В связи с этим должна быть обеспечена надежная изоляция всех соединений, а само устройство — помещено в корпус из диэлектрического материала.
Основные рабочие схемы
В большинстве случаев используются две схемы источников БП. Как правило, каждый из них представляет собой бестрансформаторный блок питания с гасящим конденсатором, который служит основным элементом данных приборов. Теоретически считается, что в цепях переменного тока эти устройства вообще не потребляют мощности. Однако в реальности в конденсаторах возникают определенные потери, что приводит к выделению некоторого количества тепла.
Поэтому все конденсаторы подвергаются предварительной проверке на возможность использования его в блоке питания. Для этого их подключают к электрической сети и отслеживают колебания температуры через некоторый промежуток времени. Если конденсатор заметно разогревается, то его нельзя использовать в качестве конструктивного элемента. Допускается лишь незначительный нагрев, неспособный повлиять на общую работоспособность устройства.
1.
Представленные на рисунках источники питания имеют конденсаторный делитель. На рисунке 1 представлен делитель общего назначения на 5 В, рассчитанный на токовую нагрузку до 0,3 А. На рисунке 2 отображается схема источника бесперебойного питания, который применяется в электронно-механических кварцевых часах.
В первой схеме включает в себя бумажный конденсатор С1 и два оксидных конденсатора С2 и С3. Оба последних элемента составляют неполярное плечо, расположенное ниже С1. Его общая емкость составляет 100 мкФ. Составные части диодного моста, расположенные слева, выступают в качестве поляризующих диодов, предназначенных для оксидной пары С2 и С3. На схеме указаны номиналы элементов, в соответствии с которыми на выходе ток короткого замыкания будет равен 600 мА, а напряжение на конденсаторе С4 без нагрузки — 27 вольт.
2.
Вторая схема бестрансформаторного блока питания предназначена для замены батареек (1,5В), используемых в качестве источника питания в электронно-механических часах. Напряжение, вырабатываемое блоком питания, составляет 1,4 В при средней токовой нагрузке 1 мА. Напряжение на конденсаторе С3 без нагрузки не превышает 12 В. Оно снимается с делителя, поступает на узел с элементами VD1 и VD2, где и происходит его выпрямление.
В каждом из этих вариантов рекомендуется использовать два дополнительных резистора вспомогательного назначения. Первый элемент с сопротивлением от 300 кОм до 1 мОм подключается параллельно с гасящим конденсатором. С помощью данного резистора ускоряется его разрядка, после того как устройство отключено от сети.
Другой резистор имеет сопротивление от 10 до 50 Ом и считается балластным. Он подключается в разрыв какого-либо сетевого провода последовательно с гасящим конденсатором. Данный резистор ограничивает ток, проходящий через диодный мост при подключении устройства к сети. Оба резистора должны обладать мощностью рассеяния не менее 0,5 Вт, позволяющей предотвратить вероятные поверхностные пробои этих деталей действием высокого напряжения. Балластный резистор снижает нагрузку на стабилитрон, но одновременно наблюдается рост средней мощности, потребляемой самим блоком питания.
Расчеты основных параметров
Для того чтобы устройство было работоспособным и надежно функционировало, необходимо выполнить предварительный расчет бестрансформаторного блока питания. С этой целью потребуется рассчитать основные параметры:
- . При включении конденсатора в цепь переменного тока, он начинает оказывать влияние на силу тока, протекающего по этой цепи, то есть на определенном этапе он становится сопротивлением. Чем больше емкость конденсатора и частота переменного тока, тем меньше величина емкостного сопротивления и наоборот. Для расчетов используется формула X C = 1 /(2πƒC), где Х С — емкостное сопротивление, f — частота, С — емкость. Ускорить расчеты и получить точные данные поможет онлайн-калькулятор, в который достаточно лишь ввести исходные данные.
- Сопротивление нагрузки (Rн). Его расчет позволяет выяснить, до какого значения Rн может быть уменьшено, чтобы Напряжение нагрузки стало равным напряжению стабилизации. Когда необходимо изготовить блок питания своими руками, рекомендуется воспользоваться справочной таблицей, поскольку формулы слишком сложные и не дают точных результатов.
- Напряжение гасящего конденсатора. Этот показатель обычно составляет не менее 400 В, при сетевом напряжении 220 вольт. В некоторых случаях используется более мощный элемент, с номинальным напряжением 500 или 600 В. Для бестрансформаторных блоков подходят не все типы конденсаторов. Например, устройства МБПО, МБГП, МБМ, МБГЦ-1 и МБГЦ-2 не могут работать в цепях переменного тока, в которых амплитудное значение напряжения более 150 В.
Сейчас в доме имеется много малогабаритной аппаратуры, которой требуется
постоянное питание. Это и часы со светодиодной индикацией, и термометры, и
малогабаритные приемники, и т.п. В принципе, они рассчитаны на батарейки, но
те «садятся» в самый неподходящий момент. Простой выход — запитать их от сетевых
блоков питания. Но даже малогабаритный сетевой (понижающий) трансформатор
достаточно тяжел и места занимает не так уж мало, а импульсные
источники питания все-таки сложны, требуют для изготовления определенного опыта
и недешевой комплектации.
Решением данной
проблемы при выполнении определенных условий может служить бестрансформаторный
блок питания с гасящим конденсатором. Эти условия:
- полная автономность питаемого аппарата, т.е. к нему не должны
подключаться никакие внешние устройства (например, к приемнику магнитофон для
записи программы); - диэлектрический (непроводящий) корпус и такие же ручки
управления у самого блока питания и подключаемого к нему устройства.
Связано это с тем, что при питании от бестрансформаторного блока устройство
находится под потенциалом сети, и прикосновение к его неизолированным элементам
может хорошо «тряхнуть». Нелишне добавить, что при наладке таких блоков питания следует соблюдать правила
техники безопасности и осторожность.
При необходимости
использовать для наладки осциллограф блок питания нужно включать через
разделительный трансформатор.
В самом простом виде
схема бестрансформаторного блока питания имеет вид, показанный на рис.1.
Для ограничения броска
тока при подключении блока к сети последовательно с конденсатором С1 и
выпрямительным мостом VD1 включен
резистор R2,а
для разрядки конденсатора после отключения — параллельно ему резистор R1.
Бестрансформаторный источник питания в общем случае представляет собой симбиоз
выпрямителя и параметрического стабилизатора. Конденсатор С1 для переменного
тока представляет собой емкостное (реактивное, т.е. не потребляющее энергию)
сопротивление Хс,
величина которого определяется по формуле:
где (- частота сети (50 Гц); С-емкость конденсатора С1, Ф.
Тогда выходной ток источника можно приблизительно определить так:
где Uc — напряжение сети (220 В).
Входная часть другого блока питания (рис.2а) содержит балластный конденсатор
С1 и мостовойвыпрямитель из диодов VD1, VD2и стабилитронов VD3, VD4. Резисторы R1, R2 играют ту же роль, что и в первой
схеме. Осциллограмма выходного напряжения блока
приведена на рис.2б (когда напряжение на выходе превышает напряжение
стабилизации стабилитронов, в противном случае он работает как обычный диод).
От начала
положительного полупериода тока через конденсатор С1 до
момента t1 стабилитрон VD3 и диод,VD2 открыты, а стабилитрон VD4 и
диод VD1 закрыты. В интервале времени t1…t3 стабилитрон VD3 и
диод VD2 остаются открытыми, а через открывшийся стабилитрон VD4 проходит
импульс тока стабилизации. Напряжение на выходе Uвых и
на стабилитроне VD4 равно
его напряжению стабилизации Uст.
Импульсный ток стабилизации, являющийся для диодно-стабилитронного выпрямителя
сквозным, минует нагрузку RH, которая подключена к выходу моста. В момент t2 ток
стабилизации достигает максимума, а в момент t3 равен нулю. До окончания положительного полупериода остаются открытыми стабилитрон VD3 и
диод VD2.
В момент t4 завершается положительный и начинается отрицательный полупериод, от
начала которого до момента t5 уже стабилитрон VD4 и диод VD1 открыты, а
стабилитрон VD3 и диод VD2 закрыты. В интервале времени t5-t7 стабилитрон VD4 и
диод VD1 продолжают оставаться открытыми, а через стабилитрон VD3 при
напряжении UCT проходит сквозной импульс тока стабилизации, максимальный в
момент t6. Начиная от t7 и до завершения отрицательного полупериода остаются
открытыми стабилитрон VD4 и диод VD1. Рассмотренный
цикл работы диодно-стабилитронного выпрямителя повторяется в следующие периоды
сетевого напряжения.
Таким образом, через стабилитроны VD3, VD4 от анода к катоду проходит
выпрямленный ток, а в противоположном направлении — импульсный ток стабилизации.
В интервалы времени t1…t3 и t5…t7 напряжение стабилизации изменяется не
более чем на единицы процентов. Значение переменного
тока на входе моста VD1…VD4 в
первом приближении равно отношению напряжения сети к емкостному сопротивлению
балластного конденсатора С1.
Работа диодно-стабилитронного выпрямителя без балластного конденсатора,
ограничивающего сквозной ток, невозможна. В функциональном
отношении они неразделимы и образуют единое целое — конденсаторно-стабилитронный
выпрямитель.
Разброс значений UCT однотипных стабилитронов составляет примерно 10%, что
приводит к возникновению дополнительных пульсаций выходного напряжения с
частотой питающей сети, амплитуда напряжения пульсации пропорциональна разнице значений Uст стабилитронов VD3 и VD4.
При использовании
мощных стабилитронов Д815А…Д817Г их можно установить на общий радиатор, если в
обозначении их типа присутствуют буквы «ПП (стабилитроны Д815АПП…Д817ГПП имеют
обратную полярность выводов). В противном случае диоды и стабилитроны необходимо
поменять местами.
Бестрансформаторные источники питания обычно собираются по классической схеме:
гасящий конденсатор, выпрямитель переменного напряжения, конденсатор фильтра,
стабилизатор. Емкостной фильтр сглаживает пульсации выходного напряжения. Чем
больше емкость конденсаторов фильтра, тем меньше пульсации и, соответственно,
больше постоянная составляющая выходного напряжения. Однако в ряде случаев можно
обойтись без фильтра, который зачастую является самым громоздким
узлом такого источника питания.
Известно, что конденсатор, включенный в цепь переменного тока, сдвигает его фазу
на 90°. Фазосдвигающий конденсатор применяют, например, при подключении
трехфазного двигателя к однофазной сети. Если в выпрямителе применить
фазосдвигающий конденсатор, обеспечивающий взаимное перекрытие полуволн
выпрямленного напряжения, во многих случаях можно обойтись без громоздкого
емкостного фильтра или существенно уменьшить его емкость. Схема
подобного стабилизированного выпрямителя показана на рис.3.
Трехфазный выпрямитель VD1.VD6 подключен
к источнику переменного напряжения через активное (резистор R1) и
емкостное (конденсатор С1) сопротивления.
Выходное напряжение выпрямителя стабилизирует стабилитрон VD7. Фазосдвигающий
конденсатор С1 должен быть рассчитан на работу в цепях переменного тока. Здесь,
например, подойдут конденсаторы типа К73-17 с рабочим напряжением не ниже 400
В.
Такой выпрямитель можно
применять там, где необходимо уменьшить габариты электронного устройства,
поскольку размеры оксидных конденсаторов емкостного фильтра, как правило,
гораздо больше, чем фазосдвигающего конденсатора сравнительно небольшой емкости.
Еще одно преимущество
предложенного варианта состоит в том, что потребляемый ток практически постоянен
(в случае постоянной нагрузки), тогда как в выпрямителях с емкостным фильтром в
момент включения пусковой ток значительно превышает установившееся значение
(вследствие заряда конденсаторов фильтра), что в некоторых случаях крайне
нежелательно.
Описанное устройство
можно применять и с последовательными стабилизаторами напряжения, имеющими
постоянную нагрузку, а также с нагрузкой, не требующей стабилизации напряжения.
Совершенно простенький
бестрансформаторный блок питания (рис.4) можно соорудить «на коленке» буквально
за полчаса.
В данном варианте схема
рассчитана на выходное напряжение 6,8 В и ток 300 мА. Напряжение можно менять
заменой стабилитрона VD4 и, при необходимости, VD3 А установив транзисторы на
радиаторы, можно увеличить и ток нагрузки. Диодный мост
— любой, рассчитанный на обратное напряжение не менее 400 В. Кстати, можно
вспомнить и про «древние» диоды. Д226Б.
В другом
бестрансформаторном источнике (рис.5) в качестве стабилизатора применена
микросхема
КР142ЕН8. Его выходное
напряжение составляет 12 В. Если необходима регулировка выходного напряжения, то
вывод 2 микросхемы DA1 подключают
к общему проводу через переменный резистор, например, типа СПО-1 (с линейной
характеристикой изменения сопротивления). Тогда выходное напряжение может
изменяться в диапазоне 12…22 В.
В качестве микросхемы DA1 для
получения других выходных напряжений нужно применить соответствующие
интегральные стабилизаторы, например, КР142ЕН5, КР1212ЕН5,КР1157ЕН5А и др. Конденсатор
С1 должен быть обязательно на рабочее напряжение не ниже 300 В, марки К76-3,
К73-17 или аналогичный (неполярный, высоковольтный). Оксидный конденсатор С2
выполняет роль фильтра по питанию и сглаживает пульсации напряжения. Конденсатор
С3 уменьшает помехи по высокой частоте. Резисторы R1, R2 — типа МЛТ-0,25. Диоды
VD1…VD4 можно заменить на КД105Б…КД105Г, КД103А, Б, КД202Е. Стабилитрон VD5 с
напряжением стабилизации 22…27 В предохраняет микросхему от бросков напряжения
в момент включения источника.
Несмотря на то, что теоретически конденсаторы в цепи переменного тока мощности
не потребляют, реально в них из-за наличия потерь может выделяться некоторое
количество тепла. Проверить пригодность конденсатора в качестве гасящего для
использования в бестрансформаторном источнике можно просто подключив его к
электросети и оценив температуру корпуса через полчаса. Если конденсатор
успевает заметно разогреться, он не подходит. Практически не нагреваются
специальные конденсаторы для промышленных электроустановок (они рассчитаны на
большую реактивную мощность). Такие конденсаторы обычно
используются в люминесцентных светильниках, в пускорегулирующих устройствах
асинхронных электродвигателей и т.п.
В 5-вольтовом источнике (рис.6) с током нагрузки до 0,3 А
применен
конденсаторный делитель напряжения. Он состоит из бумажного конденсатора С1 и двух оксидных
С2 и С3,
образующих нижнее (по схеме) неполярное плечо емкостью 100 мкФ
(встречно-последовательное включение конденсаторов). Поляризующими диодами для
оксидной пары служат диоды моста. При указанных
номиналах элементов ток короткого замыкания на выходе блока питания равен 600
мА, напряжение на конденсаторе С4 в отсутствие нагрузки — 27 В.
Блок для питания портативного приемника (рис.7) легко помещается в его
батарейный отсек. Диодный мост VD1рассчитывается на рабочий ток, его предельное
напряжение определяется напряжением, которое обеспечивает стабилитрон VD2.
Элементы R3, VD2. VT1 образуют аналог мощного стабилитрона. Максимальный ток и
рассеиваемая мощность такого стабилитрона определяются транзистором VT1. Для
него может потребоваться радиатор. Но в любом случае максимальный ток этого
транзистора не должен быть меньше тока нагрузки. Элементы R4, VD3 — цепь
индикации наличия выходного напряжения. При малых токах нагрузки необходимо
учитывать ток, потребляемый этой цепью. Резистор R5 нагружает
цепь питания малым током, чем стабилизирует ее работу.
Гасящие конденсаторы С1 и С2 — типа КБГ или аналогичные. Можно
также применить и К73-17 с рабочим напряжением 400 В (подойдут и с 250 В, так
как они включены последовательно). Выходное напряжение зависит от сопротивления
гасящих конденсаторов переменному току, реального тока нагрузки и от напряжения
стабилизации стабилитрона.
Для стабилизации
напряжения бестрансформаторного блока питания с гасящим конденсатором можно
использовать симметричные динисторы (рис.8).
При зарядке
конденсатора фильтра С2 до напряжения открывания динистора VS1 он включается и
шунтирует вход диодного моста. Нагрузка в это время получает
питание от конденсатора С2 В начале следующего полупериода С2 вновь
подзаряжается до того же напряжения, и процесс повторяется. Начальное напряжение
разрядки конденсатора С2 не зависит от тока нагрузки и напряжения сети, поэтому
стабильность выходного напряжения блока достаточно высокая.
Падение напряжения
на динисторе во включенном состоянии невелико, рассеиваемая мощность, а значит,
и нагрев его значительно меньше, чем у стабилитрона. Максимальный ток через
динистор составляет около 60 мА. Если для получения необходимого выходного тока
этого значения недостаточно, можно «умощнить динистор симистором или тиристором
(рис.9). Недостаток таких источников питания — ограниченный выбор выходных
напряжений, определяемый напряжениями включения динисторов.
Бестрансформаторный
блок питания с регулируемым выходным напряжением показан на рис.10а.
Его особенность заключается в использовании регулируемой отрицательной обратной
связи с выхода блока на транзисторный каскад VT1,включенный параллельно выходу
диодного моста. Этот каскад является регулирующим элементом и
управляется сигналом с выхода однокаскадного усилителя на VT2.
Выходной сигнал VT2 зависит от разности напряжений, подаваемых с переменного
резистора R7, включенного параллельно выходу блока питания, и источника опорного
напряжения на диодах VD3, VD4. По существу, схема представляет собой
регулируемый параллельный стабилизатор. Роль
балластного резистора играет гасящий конденсатор С1, параллельного управляемого
элемента — транзистор VT1.
Работает этот блок
питания следующим образом.
При включении в сеть
транзисторы VT1 и VT2 заперты,
а через диод VD2 происходит
заряд накопительного конденсатора С2. При достижении на базе
транзистора VT2 напряжения, равного опорному на диодах VD3,
VD4, транзисторы VT2 и VT1отпираются. Транзистор VT1 шунтирует
выход диодного моста, и его выходное напряжение падает, что приводит к
уменьшению напряжения на накопительном конденсаторе С2 и к запиранию
транзисторов VT2 и VT1. Это,
в свою очередь, вызывает увеличение напряжения на С2, отпирание VT2,
VT1 и
повторение цикла.
За счет действующей таким образом отрицательной обратной связи выходное
напряжение остается постоянным (стабилизированным) как при включенной нагрузке
(R9), так и без нее (на холостом ходу). Его величина зависит от положения движка
потенциометра R7.
Верхнему (по схеме) положению движка соответствует большее выходное напряжение.
Максимальная
выходная мощность приведенного устройства равна 2 Вт. Пределы регулировки
выходного напряжения — от 16 до 26 В, а при закороченном диодеVD4 — от
15 до 19,5 В. Уровень пульсаций на нагрузке — не более 70 мВ.
Транзистор VT1 работает
в переменном режиме: при наличии нагрузки — в линейном режиме, на холостом ходу
— в режиме широтно-импульсной модуляции (ШИМ) с частотой пульсации напряжения на
конденсаторе С2 100 Гц. При этом импульсы напряжения на коллекторе VT1 имеют
пологие фронты.
Критерием правильности
выбора емкости С1 является получение на нагрузке требуемого максимального
напряжения. Если его емкость уменьшена, то максимальное выходное напряжение на
номинальной нагрузке не достигается. Другим критерием выбора С1 является
неизменность осциллограммы напряжения на выходе диодного моста (рис.10б).
Осциллограмма напряжения имеет вид последовательности выпрямленных
синусоидальных полуволн сетевого напряжения с ограниченными (уплощенными)
вершинами положительных полусинусоид, амплитуда вершин является переменной
величиной, зависящей от положения движка R7, и меняется линейно при его
вращении. Но каждая полуволна должна обязательно
доходить до нуля, наличие постоянной составляющей (как показано на рис.10б
пунктиром) не допускается, т.к. при этом нарушается режим стабилизации.
Линейный режим является облегченным, транзистор VT1 нагревается мало и может
работать практически без радиатора. Небольшой нагрев имеет место в нижнем
положении движка R7 (при минимальном выходном напряжении). На холостом ходу
тепловой режим транзистора VT1 ухудшается в верхнем положении движка R7 В
этом случае транзистор VT1 должен
быть установлен на небольшой радиатор, например, в виде «флажка» из алюминиевой
пластинки квадратной формы со стороной 30 мм и толщиной 1…2 мм.
Регулирующий транзистор VT1 — средней мощности, с большим коэффициентом
передачи. Его коллекторный ток должен быть в
2…3 раза больше максимального тока нагрузки, допустимое напряжение
коллектор-эмиттер — не меньше максимального выходного напряжения блока питания. В
качестве VT1 могут
быть использованы транзисторы КТ972А, КТ829А, КТ827А и т.п. Транзистор VT2работает
в режиме малых токов, поэтому годится любой маломощный p-n-р-транзистор — КТ203,
КТ361 и др.
Резисторы R1, R2 — защитные. Они предохраняют регулирующий транзистор VT1 от
выхода из строя вследствие перегрузки по току при переходных процессах в момент
включения блока в сеть.
Бестрансформаторный конденсаторный выпрямитель (рис.11) работает с
автостабилизацией выходного напряжения. Это достигнуто за счет изменения времени
подключения диодного моста к накопительному конденсатору. Параллельно выходу
диодного моста включен транзистор VT1, работающий в ключевом режиме. База VT1 через
стабилитрон VD3 соединена
с накопительным конденсатором С2, отделенным по постоянному току от выхода моста
диодом VD2 для исключения быстрого разряда при открытом VT1. Пока
напряжение на С2 меньше напряжения стабилизации VD3, выпрямитель работает как
обычно. При увеличении напряжения на С2 и открывании VD3 транзистор VT1 также
открывается и шунтирует выход выпрямительного моста. Напряжение на выходе моста
скачкообразно уменьшается практически до нуля, что приводит к уменьшению
напряжения на С2 и выключению стабилитрона и ключевого транзистора.
Далее напряжение на конденсаторе С2 снова увеличивается до момента включения
стабилитрона и транзистора и т.д. Процесс автостабилизации выходного напряжения
очень похож на работу импульсного стабилизатора напряжения с широтно-импульсным
регулированием. Только в предлагаемом устройстве частота
следования импульсов равна частоте пульсаций напряжения на С2. Ключевой
транзистор VT1 для
уменьшения потерь должен быть с большим коэффициентом усиления, например, КТ972А,
КТ829А, КТ827А и др. Увеличить выходное напряжение выпрямителя можно, применив
более высоковольтный стабилитрон (цепочку низковольтных, соединенных
последовательно). При двух стабилитронах Д814В, Д814Д и емкости конденсатора
С1
2 мкФ выходное напряжение на нагрузке сопротивлением 250 Ом может составлять
23…24 В.
Аналогично можно стабилизировать выходное напряжение
однополупериодного диодно-конденсаторного выпрямителя (рис.12).
Для выпрямителя с плюсовым выходным напряжением параллельно диоду VD1 включен
n-p-n транзистор, управляемый с выхода выпрямителя через стабилитрон VD3. При
достижении на конденсаторе С2 напряжения, соответствующего моменту открывания
стабилитрона, транзистор VT1 тоже открывается. В результате, амплитуда положительной полуволны напряжения,
поступающего на С2 через диод VD2, уменьшается почти до нуля. При уменьшении же напряжения на
С2 транзистор VT1 благодаря стабилитрону закрывается, что приводит к увеличению
выходного напряжения. Процесс сопровождается широтно-импульсным регулированием длительности импульсов
на входе VD2, следовательно,
напряжение на конденсаторе С2 стабилизировано.
В выпрямителе с
отрицательным выходным напряжением параллельно диоду VD1 нужно
включить p-n-p-транзистор КТ973А или КТ825А. Выходное стабилизированное напряжение на нагрузке
сопротивлением 470 Ом — около 11 В, напряжение пульсаций — 0,3…0,4 В.
В обоих вариантах стабилитрон работает в импульсном режиме при токе в единицы
миллиампер, который никак не связан с током нагрузки выпрямителя, разбросом
емкости гасящего конденсатора и колебаниями напряжения сети. Поэтому потери в
нем существенно уменьшены, и теплоотвод ему не требуется. Ключевому транзистору радиатор также
не требуется.
Резисторы R1, R2 в этих схемах ограничивают входной ток при переходных процессах
в момент включения устройства в сеть. Из-за неизбежного «дребезга» контактов
сетевой вилки процесс включения сопровождается серией кратковременных замыканий
и разрывов цепи. При
одном из таких замыканий гасящий конденсатор С1 может зарядиться до полного
амплитудного значения напряжения сети, т.е. примерно до 300 В. После разрыва и
последующего замыкания цепи из-за «дребезга» это и сетевое напряжения могут
сложиться и составить в сумме около 600 В. Это наихудший случай, который
необходимо учитывать для обеспечения надежной работы устройства.
Другой вариант ключевой бестрансформаторной схемы
источника питания представлен на рис.13.
Сетевое напряжение,
проходя через диодный мост наVD1.VD4, преобразуется
в пульсирующее амплитудой около 300 В. Транзистор VT1 — компаратор, VT2 — ключ.
Резисторы R1, R2 образуют делитель напряжения для VT1. Подстройкой R2 можно
установить напряжение срабатывания компаратора. Пока напряжение на выходе
диодного моста не достигнет установленного порога, транзистор VT1 закрыт,
на затворе VT2 — отпирающее напряжение и он открыт. Через VТ2
и диод VD5 заряжается
конденсатор С1.
При достижении установленного порога срабатывания транзистор VT1 открывается и
шунтирует затвор VT2. Ключ закрывается и снова откроется тогда, когда
напряжение на выходе моста станет меньше порога срабатывания компаратора. Таким образом, на
С1 устанавливается
напряжение, которое стабилизируется интегральным стабилизатором DA1.
С приведенными на схеме
номиналами источник обеспечивает выходное напряжение 5 В при токе до 100 мА.
Настройка заключается в установке порога срабатывания VT1. Вместо IRF730 можно
использовать. КП752А, IRF720,
BUZ60, 2N6517заменяется
на КТ504А.
Миниатюрный
бестрансформаторный блок питания для малопотребляющих устройств можно построить
на микросхеме HV-2405E
(рис.14),
которая осуществляет прямое преобразование переменного напряжения в постоянное.
Диапазон входного
напряжения ИМС -15…275 В. выходного — 5…24 В при максимальном выходном
токе до 50 мА. Выпускается в плоском пластмассовом корпусе DIP-8. Структура
микросхемы приведена на рис.15а, цоколевка — на рис.15б.
В схеме источника (рис. 14) особое внимание нужно уделить резисторам R1 и R2. Их
общее сопротивление должно быть в районе 150 Ом, а рассеиваемая мощность — не
менее 3 Вт. Входной высоковольтный конденсатор С1 может иметь емкость от 0,033
до 0,1 мкФ. Варистор Rv можно
применить практически любой с рабочим напряжением 230.250 В.
Резистор R3выбирается в зависимости от требуемого выходного напряжения. При его отсутствии (выходы 5 и
6 замкнуты) выходное напряжение чуть более 5 В, при сопротивлении 20 кОм
выходное напряжение — около 23 В. Вместо резистора можно включить стабилитрон с
необходимым напряжением стабилизации (от 5 до 21 В). К остальным деталям особых требований нет, за исключением выбора рабочего
напряжения электролитических конденсаторов (формулы для расчета приведены на
схеме).
Учитывая потенциальную
опасность бестрансформаторных источников, в ряде случаев может представлять
интерес компромиссный вариант: с гасящим конденсатором и трансформатором
(рис.16).
Здесь подойдет
трансформатор с высоковольтной вторичной обмоткой, поскольку необходимое
выпрямленное напряжение устанавливается подбором емкости конденсатора С1.
Главное, чтобы обмотки трансформатора обеспечивали требуемый ток.
Чтобы устройство не
вышло из строя при отключении нагрузки, к выходу моста VD1…VD4 следует
подключить стабилитрон Д815П. В нормальном режиме он не работает, поскольку его
напряжение стабилизации выше рабочего на выходе моста. Предохранитель FU1 защищает
трансформатор и стабилизатор при пробое конденсатора С1.
В источниках такого
вида в цепи последовательно
соединенных емкостного (конденсатор С1) и индуктивного (трансформатор Т1)
сопротивлений может возникать резонанс напряжения. Об этом следует помнить при
их налаживании и контролировать напряжения осциллографом.
Смотрите другие статьи
раздела
.
| | Понадобился мне блок питания для самодельной мини-дрели, сделанной из моторчика на 17 Вольт. Пересмотрел много схем различных БП, но во всех использовался трансформатор, которого у меня нету, а покупать как-то неохота. Тогда решил поступить проще и собрать бестрансформаторный блок питания на данное напряжение — 17 Вольт. Схема довольно простая, на такой готовый блок питания нужно подавать 220 вольт переменного напряжения, короче питать схему от розетки, а на выходе мы получаем 17 вольт постоянного напряжения. Обычно источники питания такого типа применяют во всяких небольших бытовых вещах, например в фонарике с аккумулятором, в качестве зарядного, где нужен небольшой ток, до 150 mA или в электробритвах. Принципиальная схема бестрансформаторного блока питания Итак, детали для схемы. Вот так выглядят высоковольтные металлопленочные конденсаторы (те что красные), и слева от них электролитический конденсатор на 100 мкФ. Вместо микросхемы 78l08 можно использовать такие стабилизаторы напряжения, как КР1157ЕН5А (78l08) или КР1157ЕН5А (7905). Если отсутствует выпрямительный диод 1N4007, то его можно заменить на 1N5399 или 1N5408, которые рассчитаны на более высокий ток. Серый кружок на диоде обозначает его катод. Резистор R1 взял на 5W, а R2 — на 2W, для страховки, хотя оба можно было применять и на 0,5 Вт. Стабилитрон BZV85C24 (1N4749), рассчитан на мощность 1,5 W, и на напряжение до 24 вольт, заменить его можно отечественным 2С524А. Этот бестрансформаторный БП собрал без регулировки выходного напряжения, но если вы хотите организовать такую функцию, то просто подключите к выводу 2 микросхемы 78L08 переменный резистор примерно на 1 кОм, а второй его вывод — к минусу схемы. Плата к схеме бестрансформаторного блока питания конечно есть, формат лэй, скачать можно тут. Думаю вы поняли, что диоды без пометки — это 1n4007. Готовую конструкцию нужно обязательно поместить в пластиковый корпус, из-за того что включенная в сеть схема находиться под напряжением 220 вольт и прикасаться к ней ни в коем случае нельзя! На этих фото вы можете видеть напряжение на входе, то есть напряжение в розетке, и сколько вольт мы получаем на выходе БП. Видео работы схемы бестрансформаторного БП Большим плюсом этой схемы можно считать очень скромные размеры готового устройства, ведь благодаря отсутствию трансформатора этот БП можно сделать маленьким, и относительно недорогая стоимость деталей для схемы. Минусом схемы можно считать то, что есть опасность случайно дотронуться к работающему источнику и получить удар током. Автор статьи — egoruch72. Форум по ИП Форум по обсуждению материала БЕСТРАНСФОРМАТОРНОЕ ПИТАНИЕ СХЕМ
|
- Информация о материале
-
Создано: 02 ноября 2012
бестрансформаторный блок питания своими руками
Это достаточно простая схема бестрансформаторного блока питания. Устройство выполнена на доступных элементах и в предварительной наладке не нуждается. В качестве диодного выпрямителя использован готовый мост серии КЦ405В(Г), также можно использовать любые диоды с напряжением не менее 250 вольт.
Электросхема показана на рисунке:
Неполярный конденсатор подобрать на 400-600 вольт, от его емкости зависит сила тока на выходе. Резистор с сопротивлением от 75 до 150 килоом. После диодного моста напряжение порядка 100 вольт, его нужно уменьшит. Для этих целей использован отечественный стабилитрон серии Д814Д.
После стабилитрона уже получаем напряжение 9 вольт, можно также использовать буквально любые стабилитроны на 6-15 вольт. На выходе использован типовой микросхемный стабилизатор на 5 вольт, вся основная нагрузка лежит именно на нем, поэтому стабилизатор следует прикрутить на небольшой теплоотвод, желательно заранее намазав термопастой.
Полярные конденсаторы предназначены для гашения и фильтрации сетевых помех. Устройство работает очень стабильно, но имеет всего один недостаток — малый выходной ток. Ток можно увеличить подбором конденсатора и резистора, в токогасящей цепи.
Устройство сейчас активно используется для маломощных конструкций. Выходной ток достаточно велик, чтобы зарядить мобильный телефон, питать светодиоды и небольшие лампы накаливания. Видео с экспериментами и замерами приводим ниже:
Главная » Источники питания » Бестрансформаторный блок питания повышенной мощности. Схема и описание
Когда мы имеем дело с устройствами, которые работают от источника питания с малым напряжением, у нас обычно есть несколько вариантов как их запитать. Помимо простых, но дорогих и громоздких трансформаторов можно использовать бестрансформаторный блок питания.
Например, можно получить 5 вольт из 220 вольт с применением гасящего резистора или используя реактивное сопротивление конденсатора. Однако, такое решение, подходит только для устройств, которые имеют очень малый ток потребления. Если нам нужен больший ток, например, для питания светодиодной цепи, то здесь мы столкнемся с ограничением по производительности.
Если какое-либо устройство потребляет большой ток и принципиально необходимо запитать его от сети 220 вольт, то есть одно оригинальное решение. Оно состоит в использовании для питания только части синусоиды во время ее роста и падения, т.е. в тот момент, когда напряжение сети будет равным или меньше, требуемого значения.
Описание работы бестрансформаторного блока питания
Особенность схемы заключается в управлении моментом открытия транзистора MOSFET — VT2 (IRF830). Если текущее значение входного сетевого напряжения ниже, чем напряжение стабилизации стабилитрона VD5 минус падение напряжения на резисторе R3, то транзистор VT1 будет закрыт. Благодаря этому через резистор R4 идет положительное напряжение на транзистор VT2, в результате чего он находится в открытом состоянии.
Через транзистор VT2 в данный момент протекает ток и текущее значение сетевого напряжения заряжает конденсатор С2. Конечно, напряжение в сети падает до нуля, поэтому необходимо в цепь включить диод VD7, который препятствует разряду конденсатора обратно в схему блока питания.
Силиконовый коврик для пайки
Размер 55 х 38 см, вес 800 гр….
Когда входное напряжение сети превышает пороговое, проходящий через стабилитрон VD5 ток приводит к открытию транзистора VТ1. Транзистор своим коллектором шунтирует затвор транзистора VT2, в результате VТ2 закрывается. Таким образом, конденсатор С2 заряжается только необходимым напряжением.
Мощный транзистор VТ2 открывается только при низком напряжении, так что его общая рассеивающая мощность в схеме очень мала. Безусловно, стабильность работы блока питания зависит от управляющего напряжения стабилитрона, поэтому, например, если мы хотим питать схему с микроконтроллером, то выход необходимо дополнить небольшим линейным стабилизатором.
Резистор R1 защищает цепь и уменьшает скачок напряжения при первом включении. Стабилитрон VD6 ограничивает максимальное напряжение на затворе транзистора VT2 в районе 15 вольт. Естественно при переключении транзистора VТ2 возникают электромагнитные помехи. Чтобы избежать передач помех в электросеть, во входной цепи используется простой LC фильтр, состоящий из L1 и С1 компонентов.
Предупреждение: Поскольку схема напрямую связана с электросетью, то есть не имеет гальванической развязки, необходимо соблюдать крайнюю осторожность при наладке и эксплуатации устройства.
Источник
Опубликовал admin | Дата 26 сентября, 2012
Схема бестрансформаторного источника питания приведена на рисунке 1.
Выходное напряжение схемы двенадцать вольт, в принципе, его можно менять, устанавливая вместо VD3, стабилитроны с другим напряжением стабилизации. Схема обеспечивает выходной ток до 120ма. В качестве диодного моста можно применить КЦ402, КЦ405 с буквами А,Б,В,Г или импортными, имеющими меньшие размеры. Параллельно конденсаторам С1 и С2 можно подключить еще один такой же, тогда отдаваемый в нагрузку ток возрастет до 180ма. Короче, каждая микрофарада гасящего конденсатора обеспечивает ток в низковольтной цепи примерно 60ма.
Не забудьте, что все элементы схемы находятся под напряжением первичной сети.
Просмотров:54 934


































































Приводятся основные сведения о планарных предохранителях, включая их технические характеристики и применение.
Микрофоны MEMS — новое качество в записи звука. Подробное описание технологии.

